TOP
|
特許
|
意匠
|
商標
特許ウォッチ
Twitter
他の特許を見る
10個以上の画像は省略されています。
公開番号
2025159232
公報種別
公開特許公報(A)
公開日
2025-10-17
出願番号
2025138669,2021036957
出願日
2025-08-22,2021-03-09
発明の名称
消臭装置及び消臭方法
出願人
ホーチキ株式会社
代理人
個人
,
個人
主分類
A61L
9/14 20060101AFI20251009BHJP(医学または獣医学;衛生学)
要約
【課題】消臭能力が高く、安全であり、運用が容易で運用費用も安価な消臭装置及び消臭方法を提供する。
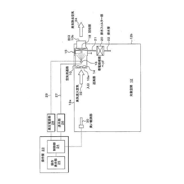
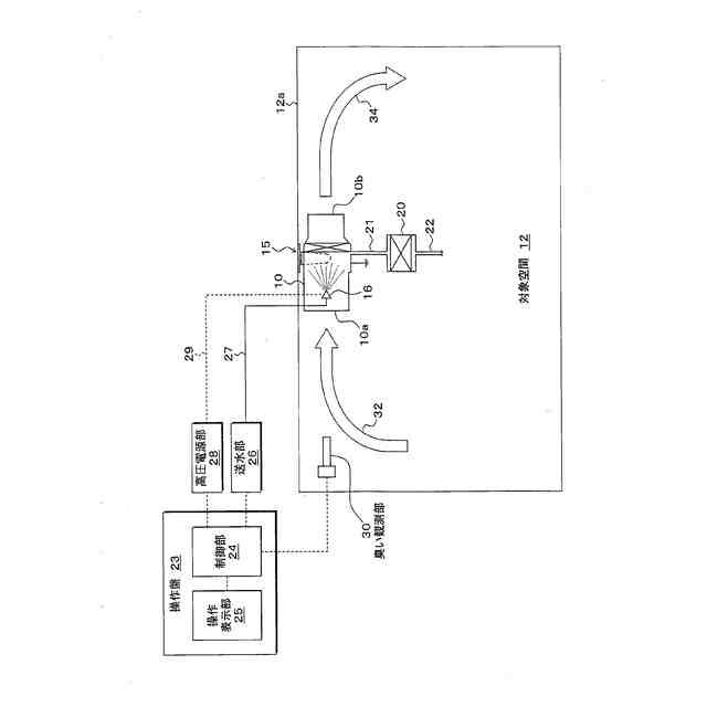
【解決手段】消臭装置の空気流通路10は、対象空間12内または対象空間12の内部と外部の仕切壁12bに設置される。送風部14は空気流通路10に対象空間12の空気を流通させる。帯電微噴霧ヘッド16は、空気流通路10を流通する空気に空気流通路10の入口10a側で帯電水粒子を噴霧し、空気中の臭い物質を静電気力により捕捉させる。回収部18は、空気流通路10の出口10b側で、臭い物質を捕捉している帯電水粒子を回収する。回収水は排水フィルター部20で臭い物質及び粉塵を除去して排水される。
【選択図】図1
特許請求の範囲
【請求項1】
対象空間の臭い物質を除去する消臭装置であって、
空気流通路を流通する前記対象空間からの空気に帯電水粒子を噴霧して空気中の臭い物質を捕捉させ、当該臭い物質を捕捉した帯電水粒子を回収した後に、当該空気を前記対象空間内に排出せずに当該対象空間外に排出することを特徴とする消臭装置。
続きを表示(約 1,500 文字)
【請求項2】
対象空間の臭い物質を除去する消臭装置であって、
空気流通路に前記対象空間からの空気を流通させる送風部と、
前記空気流通路を流通する空気に当該空気流通路の入口側で帯電水粒子を噴霧して空気中の臭い物質を捕捉させる帯電噴霧部と、
前記臭い物質を捕捉した帯電水粒子を回収する回収部と、
前記回収部を通過した空気を前記対象空間内に排出せずに当該対象空間外に排出する前記空気流通路の出口と、
を備えたことを特徴とする消臭装置。
【請求項3】
対象空間の臭い物質を除去する消臭装置であって、
空気流通路の入口側から出口側に向けて帯電水粒子を噴霧し、当該噴霧した帯電水粒子の運動量を利用して空気を流通させるとともに、前記帯電水粒子に空気中の臭い物質を捕捉させる帯電噴霧部と、
前記臭い物質を捕捉した帯電水粒子を回収する回収部と、
前記回収部を通過した空気を前記対象空間内に排出せずに当該対象空間外に排出する前記空気流通路の出口と、
を備えたことを特徴とする消臭装置。
【請求項4】
請求項2又は3記載の消臭装置であって、
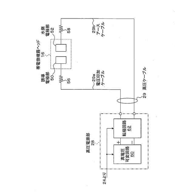
前記帯電噴霧部は、
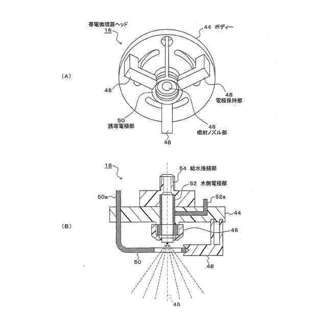
前記帯電水粒子を噴霧する帯電微噴霧ヘッドと、
水粒子を生成するための水を前記帯電微噴霧ヘッドに供給する送水部と、
水粒子を帯電させるための高電圧を前記帯電微噴霧ヘッドに供給する高圧電源部と、
を備えたことを特徴とする消臭装置。
【請求項5】
請求項4記載の消臭装置であって、
前記高圧電源部は、
前記臭い物質に対応して、前記帯電微噴霧ヘッドに印加する電圧を調整する電圧調整部と、
前記臭い物質に対応して、前記帯電微噴霧ヘッドに印加する電圧極性を切り替える極性切替部と、
を備えたことを特徴とする消臭装置。
【請求項6】
請求項2乃至5何れかに記載の消臭装置であって、
前記空気流通路は、前記対象空間と外部との仕切部分に配置されたことを特徴とする消臭装置。
【請求項7】
請求項2乃至6何れかに記載の消臭装置であって、
前記回収部は、電気的に接地された導電性の通気構造部材を備え、
前記通気構造部材は、ハニカム材、多段金網、傾斜金網、又は多層傾斜板構造を含むことを特徴とする消臭装置。
【請求項8】
請求項2乃至7何れかに記載の消臭装置であって、
前記回収部は、前記帯電水粒子の回収で得られた回収水に含まれる臭い物質及び粉塵を除去して排水することを特徴とする消臭装置。
【請求項9】
請求項4又は5記載の消臭装置であって、
前記対象空間の臭い物質を観測する臭い観測部と、
前記臭い観測部で観測された前記臭い物質の観測値に基づいて、前記帯電微噴霧ヘッドにより散布される帯電水粒子の帯電量を調整するか、及び又は、帯電極性を切替える制御部と、
を備えたことを特徴とする消臭装置。
【請求項10】
請求項9記載の消臭装置であって、
前記制御部は、前記臭い物質の観測値が所定値より低下しない場合、前記帯電水粒子の帯電量を調整し、当該調整後に、前記臭い物質の観測値が低下した場合は、調整後の帯電量を維持し、前記臭い物質の観測値が低下しない場合は、元の帯電量に戻すことを特徴とする消臭装置。
(【請求項11】以降は省略されています)
発明の詳細な説明
【技術分野】
【0001】
本発明は、畜舎、養鶏舎などの対象空間で発生する臭い物質を除去する消臭装置及び消臭方法に関する。
続きを表示(約 1,200 文字)
【背景技術】
【0002】
従来、畜舎や養鶏舎などの悪臭対策は、舎内からの排気の排出口を煙突のように高くし、排気の大気拡散による希釈効果により周辺に高濃度の臭気が及ばないようにして、排気が舎から遠くに低濃度着地するようにする方法があるが、周辺に高い建物があると、排気がその建物に巻き込まれて高濃度の臭気が舎の近くに着地することがある。また、効果的な希釈には距離が必要であることから、舎の周囲の、特に風の流れに従った風下側に相当な緩衝用の敷地が必要となる。
【0003】
この問題を解決するため、畜舎や養鶏舎内に、例えばオゾン水を噴霧して消臭する方法が知られている。
【先行技術文献】
【特許文献】
【0004】
特開2005-253378号公報
特開2018-183712号公報
【発明の概要】
【発明が解決しようとする課題】
【0005】
しかしながら、従来のオゾン水を噴霧する方法にあっては、高度なオゾン濃度の管理が必要であり、また、オゾン水の散布は基本的に危険であることから、作業者が舎内に立ち入る場合には、オゾン水の噴霧を停止するようにしているが、舎内に立ち入った作業者は、残留しているオゾンによる影響を受けることになる。例えば、1~2ppmのオゾン濃度の場合、2時間の曝露で頭痛、胸部痛、上部気道の渇きとせきが起こり、曝露を繰り返せば慢性中毒にかかってしまう恐れがある。
【0006】
また、畜舎や養鶏舎などの排気口に散水フィルターを設置して、水溶性の臭気と微生物膜による臭気成分の脱臭を行う方法があるが、除去が可能な臭いが限定されるという問題がある。
【0007】
また、ごみ処分場では、焼却炉が併設されている場合には、臭気も一緒に燃焼させるという方法があるが、焼却炉が無い場合の消臭に限った燃焼法による設備の導入は、コストが高いという問題がある。
【0008】
さらに、消臭剤や脱臭剤と臭い物質との化学反応や吸着作用によって臭いを除去する方法、あるいは芳香剤の添加により、臭いの質を変化させる方法もあるが、これらの方法では本質的に消臭していないために別の臭いとして残り、さらに消臭剤や脱臭剤の補充が必要となることから、運用管理に手間と費用がかかるという問題がある。
【0009】
本発明は、消臭能力が高く、安全であり、運用が容易で運用費用も安価な消臭装置及び消臭方法を提供することを目的とする。
【課題を解決するための手段】
【0010】
(消臭装置1)
本発明は、対象空間の臭い物質を除去する消臭装置であって、
空気流通路を流通する対象空間からの空気に帯電水粒子を噴霧して空気中の臭い物質を捕捉させ、当該臭い物質を捕捉した帯電水粒子を回収した後に、当該空気を対象空間内に排出せずに当該対象空間外に排出することを特徴とする。
(【0011】以降は省略されています)
この特許をJ-PlatPat(特許庁公式サイト)で参照する
関連特許
ホーチキ株式会社
消火栓装置
3日前
ホーチキ株式会社
消火栓装置
25日前
ホーチキ株式会社
避難誘導システム
1日前
ホーチキ株式会社
防災設備
1か月前
ホーチキ株式会社
消火栓装置
1か月前
ホーチキ株式会社
防災システム
1か月前
ホーチキ株式会社
消火器収納装置
1か月前
ホーチキ株式会社
火災監視システム
1か月前
ホーチキ株式会社
消臭装置及び消臭方法
1か月前
ホーチキ株式会社
火災検知器の信頼性判断方法
11日前
ホーチキ株式会社
火災検出装置、防災設備及び火災検出方法
1か月前
ホーチキ株式会社
処置情報提供システム及びその処置情報提供方法
3日前
個人
貼付剤
1か月前
個人
簡易担架
15日前
個人
短下肢装具
4か月前
個人
腋臭防止剤
15日前
個人
足踏み器具
22日前
個人
嚥下鍛錬装置
4か月前
個人
排尿補助器具
1か月前
個人
前腕誘導装置
4か月前
個人
胸骨圧迫補助具
2か月前
個人
歯の修復用材料
5か月前
個人
バッグ式オムツ
5か月前
個人
汚れ防止シート
2か月前
個人
ウォート指圧法
1か月前
個人
矯正椅子
6か月前
個人
アイマスク装置
3か月前
個人
腰ベルト
1か月前
個人
陣痛緩和具
4か月前
個人
美容セット
24日前
個人
排尿排便補助器具
17日前
個人
湿布連続貼り機。
3か月前
個人
哺乳瓶冷まし容器
4か月前
個人
歯の保護用シール
6か月前
株式会社大野
骨壷
4か月前
株式会社八光
剥離吸引管
5か月前
続きを見る
他の特許を見る