TOP
|
特許
|
意匠
|
商標
特許ウォッチ
Twitter
他の特許を見る
公開番号
2025146241
公報種別
公開特許公報(A)
公開日
2025-10-03
出願番号
2024046912
出願日
2024-03-22
発明の名称
火災監視システム
出願人
セコム株式会社
代理人
個人
,
個人
主分類
A62C
3/00 20060101AFI20250926BHJP(人命救助;消防)
要約
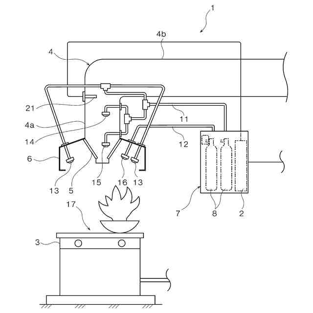
【課題】厨房火災の発生やダクト内部の汚れを区別して報知できる火災監視装置を提供する。
【解決手段】自動消火装置2は、検知部21でダクト4内の温度を検知し、温度が第1温度を超えた場合には火災が発生したと判定して緊急性の高い報知を行い、第1基準期間において、第2温度を超えた回数が第1回数以上である場合(例えば3日間に3回、図4)又は第2温度を超えた時間の合計が第1時間以上である場合、ダクト内に汚れが付着したと判定して相対的に緊急性の低い報知を行う。ダクト内の温度上昇率が上昇した場合は、サーバー30からの更新情報により、当該自動消火装置2における汚れ判定の基準を緩和する。
【選択図】図2
特許請求の範囲
【請求項1】
厨房に設けられたダクトの内部の温度を検知する検知部と、
前記検知部が第1温度以上の温度を検知すると火災異常と判定し、前記検知部が前記第1温度よりも低い第2温度以上の温度を所定頻度以上で検知すると前記ダクトの内部に汚れが付着している汚れ異常と判定する判定部と、
前記火災異常と前記汚れ異常を区別して出力する出力部と
を備えることを特徴とする火災監視システム。
続きを表示(約 780 文字)
【請求項2】
前記判定部は、第1期間内に前記第2温度以上の温度が検知された検知回数又は検知時間が基準値に達すると前記汚れ異常と判定することを特徴とする請求項1に記載の火災監視システム。
【請求項3】
前記判定部は、複数の第1単位時間で区切られた前記第1期間について、第2温度以上の温度を検知した前記第1単位時間の数をカウントし、カウント数が前記第1期間内に前記基準値に達すると前記汚れ異常と判定することを特徴とする請求項2に記載の火災監視システム。
【請求項4】
前記判定部は、さらに、複数の第2単位時間で区切られた第2期間について、第2温度以上の温度を検知した前記第2単位時間の数をカウントし、カウント数が前記第2期間内に前記基準値に達すると前記汚れ異常と判定し、
前記第2期間は前記第1期間より短く設定され、
前記第2単位時間は前記第1単位時間より短く設定されることを特徴とする請求項3に記載の火災監視システム。
【請求項5】
前記
出力
部は、前記第2期間において前記汚れ異常と判定した場合は、前記第1期間において前記汚れ異常と判定した場合よりも緊急性の高い出力手法で前記汚れ異常を出力することを特徴とする請求項4に記載の火災監視システム。
【請求項6】
前記検知部は、前記ダクトの内部において、当該ダクトの厨房側の開口部近傍に配置されることを特徴とする請求項1乃至5の何れか一つに記載の火災監視システム。
【請求項7】
前記検知部が検知した前記ダクトの内部の温度を含む前記厨房の環境データを取得し、前記環境データの変化に応じて前記基準値を変更する制御部と、
をさらに備えることを特徴とする請求項2に記載の火災監視システム。
発明の詳細な説明
【技術分野】
【0001】
本発明は、厨房における火災や厨房に設置されたダクト内部の汚れを検出する火災監視システムに関するものである。
続きを表示(約 1,500 文字)
【背景技術】
【0002】
下記特許文献1には、レンジフード内に取り付けられる消火器の発明が開示されている。この発明の装置は、内部に消火薬剤を充填した蓄圧式の消火器本体と、当該本体に直接に取り付けられ、しかも消火器本体内部に連通させた消火薬剤放出ノズルと、当該ノズルの開口部を閉塞し一定の炎熱温度で溶融するハンダ等の接着手段で取り付けられた集熱板とによって構成されている。この発明によれば、装置全体がコンパクトなのでレンジフード内に取り付けが可能であり、空間占有体積が著しく小さく、また低コストで耐久性維持やメンテナンス性の面においても信頼性が高い自動消火器を提供できるものとされている。
【先行技術文献】
【特許文献】
【0003】
特開2004-242993号公報
【発明の概要】
【発明が解決しようとする課題】
【0004】
厨房に設けられたダクトの内部や、ダクト内に設けられたフィルターには、厨房での調理作業に伴って油分等の汚れが付着していく。ダクトの内部等の汚れが進行し、多くの油分等が蓄積すると、汚れが付いていない状態に比べて換気が滞り、ダクト内に熱が滞留しやすい状態になる。このような状態では、厨房利用時にコンロ等の熱(火柱等)が換気されず、火災が発生していないにも関わらず火災検知温度を超えてしまい、自動消火装置が作動して消火剤を誤噴射するおそれ(誤噴射リスク)があった。
【0005】
また、ダクトの内部等に汚れが蓄積している状態において厨房で火災が発生すると、ダクト内の汚れに着火することで火の回りが早くなるため、汚れが蓄積していない状態と比べて火災の被害が拡大するおそれ(火災リスク)があった。
【0006】
上記特許文献1に開示されたレンジフード内に取り付けられる消火器の発明では、このような問題点は解決することはできない。
【0007】
本発明は、以上説明した従来の技術と、その課題に鑑みてなされたものであり、厨房における火災の発生やダクト内部における油汚れを、それぞれ異なる基準温度に基づいて適格に区別して出力でき、特に前記油汚れの場合は前記基準温度を検知した頻度に基づいて適格に出力できる火災監視システムを提供することを目的としている。
【課題を解決するための手段】
【0008】
上記目的を達成するため、本発明の一形態に係る火災監視システムは、
厨房に設けられたダクトの内部の温度を検知する検知部と、
前記検知部が第1温度以上の温度を検知すると火災異常と判定し、前記検知部が前記第1温度よりも低い第2温度以上の温度を所定頻度以上で検知すると前記ダクトの内部に汚れが付着している汚れ異常と判定する判定部と、
前記火災異常と前記汚れ異常を区別して出力する出力部と、
を備えることを特徴としている。
【0009】
前記火災監視システムにおいて、前記判定部は、
第1期間内に前記第2温度以上の温度が検知された検知回数又は検知時間が基準値に達すると前記汚れ異常と判定することを特徴としている。
【0010】
前記火災監視システムにおいて、前記判定部は、
複数の第1単位時間で区切られた前記第1期間について、第2温度以上の温度を検知した前記第1単位時間の数をカウントし、カウント数が前記第1期間内に前記基準値に達すると前記汚れ異常と判定することを特徴としている。
(【0011】以降は省略されています)
この特許をJ-PlatPat(特許庁公式サイト)で参照する
関連特許
セコム株式会社
ロボット
3か月前
セコム株式会社
自律移動ロボット
1か月前
セコム株式会社
巡回警備ロボット
3か月前
セコム株式会社
自律走行ロボット
3か月前
セコム株式会社
火災監視システム
1か月前
セコム株式会社
表示機能付き認証装置
1か月前
セコム株式会社
データ処理装置及びデータ処理方法
1か月前
セコム株式会社
業務見守りシステム及びプログラム
1日前
セコム株式会社
生活見守りシステム及びプログラム
1か月前
セコム株式会社
生活見守りシステム及びプログラム
1か月前
セコム株式会社
業務見守りシステム及びプログラム
1日前
セコム株式会社
自律移動ロボットおよび制御システム
1か月前
セコム株式会社
自律移動ロボットおよび制御システム
1か月前
セコム株式会社
対話システム、対話方法及びセンタ装置
1か月前
セコム株式会社
センタ装置、対話システム及び対話方法
1か月前
セコム株式会社
端末所持者検知装置及び端末所持者検知方法
1か月前
セコム株式会社
飛行ロボットの画像表示装置及び画像表示方法
1か月前
株式会社デンソーウェーブ
通行管理システム
1か月前
セコム株式会社
飛行ロボットの画像表示装置及び画像表示方法
1か月前
セコム株式会社
飛行ロボットの画像表示装置および画像表示方法
1か月前
セコム株式会社
飛行ロボットの画像表示装置および画像表示方法
1か月前
セコム株式会社
警備システム、サーバ、警備装置及び作業ロボット
2か月前
セコム株式会社
警備システム、サーバ、警備装置及び作業ロボット
2か月前
セコム株式会社
警備システム、サーバ、警備装置及び作業ロボット
2か月前
セコム株式会社
警備システム、サーバ、警備装置及び作業ロボット
2か月前
セコム株式会社
自律飛行ロボットの飛行制御システム及び飛行制御方法
1か月前
セコム株式会社
飛行ロボットの画像管理装置、画像管理システム及び画像管理方法
1か月前
セコム株式会社
飛行ロボットの画像管理装置、画像管理システム及び画像管理方法
1か月前
セコム株式会社
飛行ロボットの画像管理装置、画像管理システム及び画像管理方法
1か月前
セコム株式会社
飛行ロボットの画像管理装置、画像管理システム及び画像管理方法
1か月前
セコム株式会社
データ処理装置、学習データ生成装置、データ処理方法及び学習データ生成方法
1か月前
セコム株式会社
携帯端末、警備システム、プログラム及び表示方法
2か月前
セコム株式会社
警備システム、携帯端末、プログラム及び警備方法
1か月前
セコム株式会社
警備システム、携帯端末、プログラム及び警備方法
24日前
セコム株式会社
警備システム、携帯端末、プログラム及び警備方法
1か月前
個人
階段上り下り滑り板
10か月前
続きを見る
他の特許を見る