TOP
|
特許
|
意匠
|
商標
特許ウォッチ
Twitter
他の特許を見る
公開番号
2025163274
公報種別
公開特許公報(A)
公開日
2025-10-28
出願番号
2025134711,2024074181
出願日
2025-08-13,2018-03-20
発明の名称
熱式警報器
出願人
能美防災株式会社
代理人
弁理士法人きさ特許商標事務所
主分類
G08B
17/06 20060101AFI20251021BHJP(信号)
要約
【課題】薄型化しつつ、良好な受熱特性を得ることができる熱式警報器を提供する。
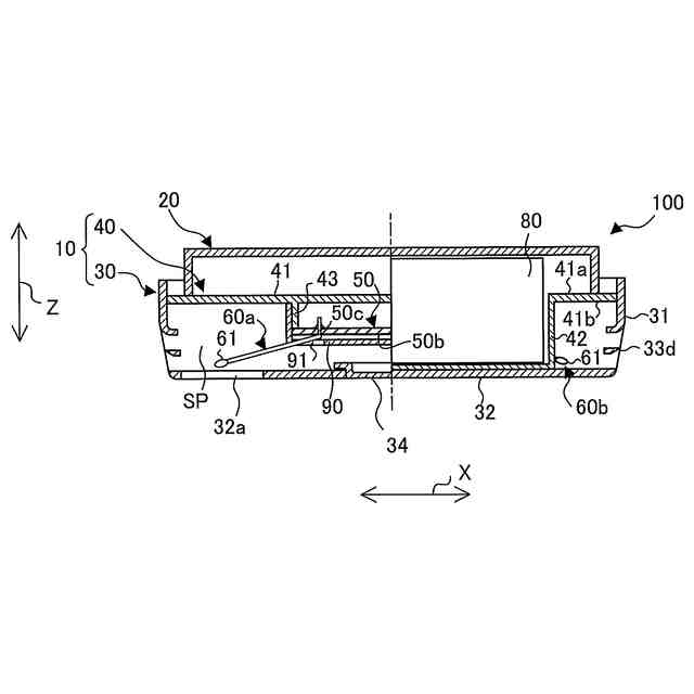
【解決手段】熱式警報器100において、基板50に電気的に接続されている複数の熱検知部60a、60bと、複数の熱検知部60a、60bのそれぞれが通される検知孔91が形成され、基板50を覆うように本体部41に設けられ、流通空間SPを、基板50が配置された空間と流通孔につながった空間とに仕切る中板90と、を備え、カバー30は、基板50が設けられた本体部41に対向する底面を有し、底面には、流通孔であり垂直気流が流入する垂直孔32aが設けられており、各熱検知部60a、60bは、底面側からカバー30内を見た場合において感熱部61が基板50および中板90の外側に位置し、且つ、感熱部61が基板50及び中板90よりもカバー30の底面側に位置するように基板50に接続されている。
【選択図】図4
特許請求の範囲
【請求項1】
本体部と、
流通孔を有し、前記本体部との間に流通空間を形成するカバーと、
前記カバーと対向するように前記本体部に設けられ、回路を有する基板と、
先端に感熱部を有し、前記流通孔を介して前記流通空間に流入した気流の熱を検知するものであって前記基板に電気的に接続されている複数の熱検知部と、
複数の前記熱検知部のそれぞれが通される検知孔が形成され、前記基板を覆うように前記本体部に設けられ、前記流通空間を、前記基板が配置された空間と前記流通孔につながった空間とに仕切る中板と、
を備え、
前記カバーは、前記基板が設けられた前記本体部に対向する底面を有し、
前記底面には、前記流通孔であり垂直気流が流入する垂直孔が設けられており、
前記各熱検知部は、前記底面側から前記カバー内を見た場合において前記感熱部が前記基板および前記中板の外側に位置し、且つ、前記感熱部が前記基板及び前記中板よりも前記カバーの前記底面側に位置するように前記基板に接続されている、
熱式警報器。
続きを表示(約 180 文字)
【請求項2】
前記本体部に設けられ、音を発するスピーカを備え、
前記中板は、前記基板および前記スピーカを覆うように前記本体部に設けられ、前記スピーカと対向して設けられたスピーカ孔を有するものであり、
前記中板において前記スピーカ孔は、前記垂直孔と重複せず前記底面で覆われるように配置されている
請求項1に記載の熱式警報器。
発明の詳細な説明
【技術分野】
【0001】
本発明は、熱検知部を備える熱式警報器に関する。
続きを表示(約 2,300 文字)
【背景技術】
【0002】
従来、熱式警報器は、基板が設けられた本体部と、基板に設置され、熱を検知する熱検知部を備えている。熱検知部は、先端にサーミスタ等の感熱部を有している。火災で生じた熱気流の熱が感熱部に伝わり、感熱部からの出力値が一定値以上になった場合に火災が検出される。また熱式警報器の本体部には、電池及びスピーカ等が設けられており、火災が検出されると、スピーカから音が発生して火災が報知される。熱検知部は、熱式警報器のカバーから突出するように配置されている(例えば、特許文献1参照)。感熱部が高効率に受熱するためには周囲に空間を設ける必要があり、特許文献1の熱式警報器において、感熱部がカバーの外側に配置されている。
【先行技術文献】
【特許文献】
【0003】
特開2015-141568号公報
【発明の概要】
【発明が解決しようとする課題】
【0004】
しかしながら、特許文献1の熱式警報器は、感熱部を保護するためにカバーの外側にプロテクタを設ける必要があり、熱式警報器の厚みが厚くなる。一方、感熱部をカバー内に配置して熱式警報器を薄型化しようとすると、本体部及びカバー内の部材等により熱気流の熱が吸収され、感熱部を通過するときの熱気流の温度が低下する。その結果、従来のように感熱部をカバーの外側に配置してプロテクタを設けた場合に比べ、受熱特性が悪化する場合がある。
【0005】
本発明は、上記のような課題を解決するためになされたものであり、熱式警報器を薄型化しつつ、良好な受熱特性を得ることができる熱式警報器を提供することを目的としている。ここで受熱特性とは、熱気流の実際の温度と警報器が検知した温度との差をいい、受熱特性が悪化するとは、実際の温度と検知した温度との差が大きくなることをいい、良好な受熱特性を得るとは、その差を小さくできることをいう。
【課題を解決するための手段】
【0006】
本発明の熱式警報器は、本体部と、流通孔を有し、前記本体部との間に流通空間を形成するカバーと、前記カバーと対向するように前記本体部に設けられ、回路を有する基板と、先端に感熱部を有し、前記流通孔を介して前記流通空間に流入した気流の熱を検知するものであって前記基板に電気的に接続されている複数の熱検知部と、複数の前記熱検知部のそれぞれが通される検知孔が形成され、前記基板を覆うように前記本体部に設けられ、前記流通空間を、前記基板が配置された空間と前記流通孔につながった空間とに仕切る中板と、を備え、前記カバーは、前記基板が設けられた前記本体部に対向する底面を有し、前記底面には、前記流通孔であり垂直気流が流入する垂直孔が設けられており、前記各熱検知部は、前記底面側から前記カバー内を見た場合において前記感熱部が前記基板および前記中板の外側に位置し、且つ、前記感熱部が前記基板及び前記中板よりも前記カバーの前記底面側に位置するように前記基板に接続されている。
また、上記の熱式警報器は、前記本体部に設けられ、音を発するスピーカを備え、前記中板は、前記基板および前記スピーカを覆うように前記本体部に設けられ、前記スピーカと対向して設けられたスピーカ孔を有するものであり、前記中板において前記スピーカ孔は、前記垂直孔と重複せず前記底面で覆われるように配置されている。
【発明の効果】
【0007】
本発明によれば、熱式警報器の厚みを薄型化しつつ、流通空間において感熱部に到達する前の気流の温度低下を抑制し且つ流通孔につながった空間の空気と基板が直接触れることによる基板の劣化を抑制することで検知精度が向上した熱式警報器を提供することができる。
【図面の簡単な説明】
【0008】
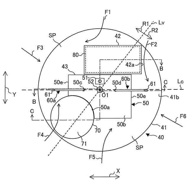
実施の形態1に係る熱式警報器100の外観を示す側面図である。
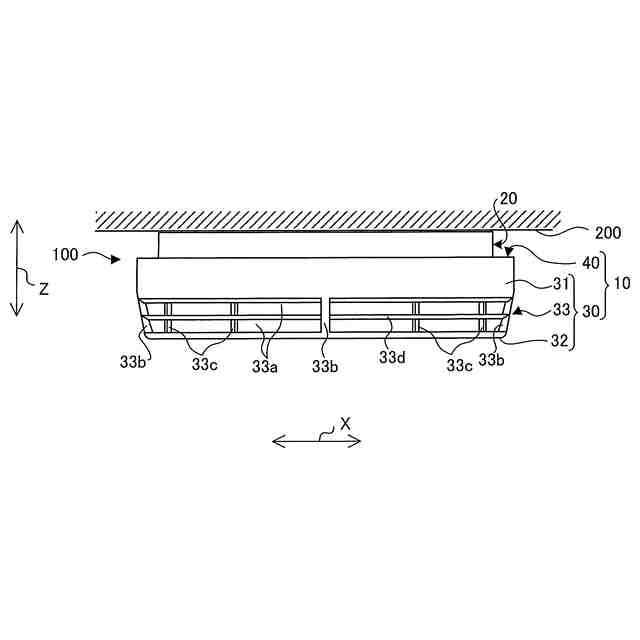
熱式警報器100の外観を示す底面図である。
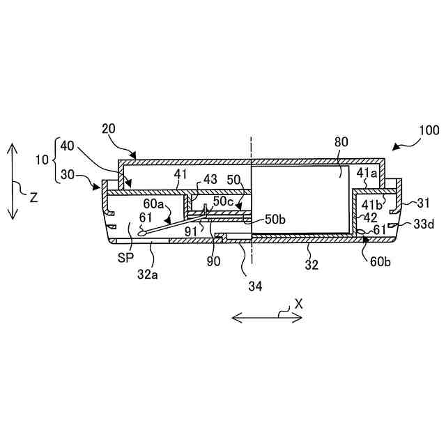
熱式警報器100の筐体10内の構成を示す説明図である。
図3のB-B断面を示す断面図である。
図3のC-C断面を示す断面図である。
図2のA-A断面を示す断面図である。
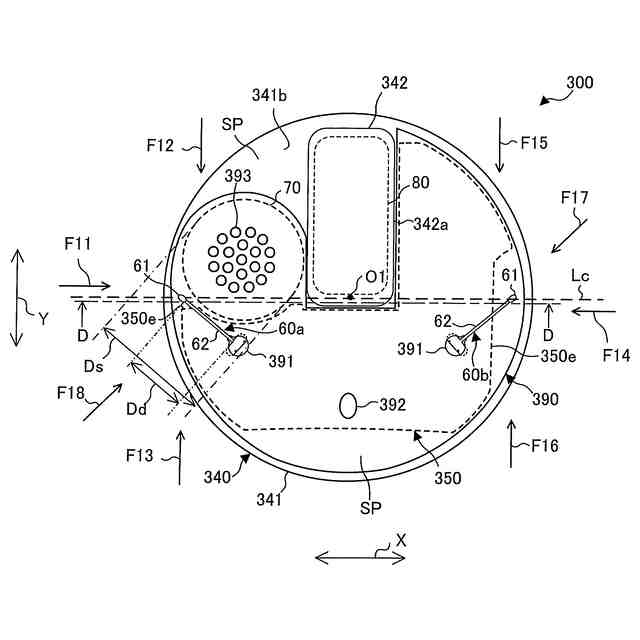
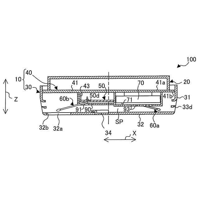
実施の形態2に係る熱式警報器300の筐体310内の構成を示す説明図である。
図7のD-D断面を示す断面図である。
【発明を実施するための形態】
【0009】
実施の形態1.
図1は、実施の形態1に係る熱式警報器100の外観を示す側面図である。図2は、熱式警報器100の外観を示す底面図である。熱式警報器100は、例えば家屋の室内等の監視空間に設置され、周囲の温度を監視する。熱式警報器100は、周囲の温度が一定温度以上となった場合に火災を報知する。
【0010】
図1及び図2に示すように、熱式警報器100は、天井200に取り付けられたベース20と、本体40と、気流が流入する流通孔を有するカバー30と、カバー30に設けられた押込部材34とを備える。カバー30と本体40とにより熱式警報器100の筐体10が形成されており、筐体10は、ベース20に着脱可能に取り付けられている。押込部材34は、熱式警報器100の動作試験を開始する際に作業者が押下する点検ボタンである。以下、矢印X方向は熱式警報器100の幅方向を表し、矢印Y方向は奥行き方向を表し、矢印Z方向は高さ方向を表すものとして説明する。
(【0011】以降は省略されています)
この特許をJ-PlatPat(特許庁公式サイト)で参照する
関連特許
能美防災株式会社
消火装置
1か月前
能美防災株式会社
表示装置
1か月前
能美防災株式会社
火災受信機
1か月前
能美防災株式会社
防犯システム
19日前
能美防災株式会社
煙感知器および火災報知設備
1か月前
能美防災株式会社
熱感知器用の加熱試験器及び加熱試験方法
25日前
能美防災株式会社
煙検知装置
5日前
能美防災株式会社
熱式警報器
26日前
能美防災株式会社
火災感知器の防塵カバー及び火災感知器の防塵カバーの製造方法
3日前
能美防災株式会社
火災報知システム
1か月前
能美防災株式会社
管理装置及び警報システム
24日前
能美防災株式会社
火災報知設備の表示装置およびこれを用いた表示システム
1か月前
日本精機株式会社
警報システム
2か月前
個人
安全支援装置
18日前
株式会社SUBARU
車両
1か月前
個人
自動電動車椅子
2か月前
スズキ株式会社
運転支援装置
2か月前
エムケー精工株式会社
車両誘導装置
2か月前
株式会社国際電気
防災システム
2か月前
ニッタン株式会社
検知器
2か月前
日本無線株式会社
船舶システム
19日前
ニッタン株式会社
検知器
1か月前
ニッタン株式会社
検知器
2か月前
ニッタン株式会社
検知器
2か月前
個人
磁気路上での車両の路線離脱防御
1か月前
大阪瓦斯株式会社
音声出力システム
1か月前
日本信号株式会社
異常走行検出装置
1か月前
トヨタ自動車株式会社
サーバ
27日前
ダイハツ工業株式会社
移動支援装置
1か月前
株式会社SUBARU
運転支援装置
1か月前
トヨタ自動車株式会社
サーバ
1か月前
株式会社小糸製作所
移動体検出装置
2か月前
株式会社CCT
通信装置及び表示方法
1か月前
株式会社小糸製作所
車両検出システム
2か月前
三菱自動車工業株式会社
制御システム
1か月前
日本精機株式会社
報知装置及び報知システム
2か月前
続きを見る
他の特許を見る