TOP
|
特許
|
意匠
|
商標
特許ウォッチ
Twitter
他の特許を見る
公開番号
2025171648
公報種別
公開特許公報(A)
公開日
2025-11-20
出願番号
2024077205
出願日
2024-05-10
発明の名称
火災感知器の防塵カバー及び火災感知器の防塵カバーの製造方法
出願人
能美防災株式会社
代理人
弁理士法人きさ特許商標事務所
主分類
G08B
17/10 20060101AFI20251113BHJP(信号)
要約
【課題】廃棄しやすい火災感知器の防塵カバー及び火災感知器の防塵カバーの製造方法を得る。
【解決手段】火災感知器10の防塵カバー1は、植物を原料にして作られたバイオマスプラスチックで構成され、火災感知器10に対して着脱可能である。また、火災感知器10の防塵カバー1の製造方法は、バイオマスプラスチックで構成されたシートを準備する工程と、複数の火災感知器10の少なくとも一部のそれぞれが嵌め込まれる複数のカバー部をシートに形成する工程と、隣接するカバー部の境界線を挟んで対称に切欠きを設ける工程と、を含んでいる。
【選択図】図1
特許請求の範囲
【請求項1】
バイオマスプラスチックで構成され、火災感知器に対して着脱可能な火災感知器の防塵カバー。
続きを表示(約 340 文字)
【請求項2】
外周部に1以上の切り欠きが設けられている
請求項1に記載の火災感知器の防塵カバー。
【請求項3】
前記火災感知器の少なくとも一部を覆うカバー部と、
前記カバー部の外周に設けられた鍔部とを備え、
前記切り欠きは、前記鍔部に設けられている
請求項2に記載の火災感知器の防塵カバー。
【請求項4】
バイオマスプラスチックで構成されたシートを準備する工程と、
複数の火災感知器の少なくとも一部のそれぞれが嵌め込まれる複数のカバー部を前記シートに形成する工程と、
隣接する前記カバー部の境界線を挟んで対称に切欠きを設ける工程と、
を備えた火災感知器の防塵カバーの製造方法。
発明の詳細な説明
【技術分野】
【0001】
本発明は、火災感知器の防塵カバー及び火災感知器の防塵カバーの製造方法に関する。
続きを表示(約 1,400 文字)
【背景技術】
【0002】
火災感知器は建物の天井又は壁等に設置されるが、建物の工事中には、発生する埃又は粉塵等によって火災感知器が汚れうる。そのような汚れから保護するために火災感知器に取り付けられる防塵カバーが提案されている。例えば特許文献1には、淡黄色に着色された半透明の樹脂材料で形成された防塵カバーが開示されている。
【先行技術文献】
【特許文献】
【0003】
特許第6982425号公報
【発明の概要】
【発明が解決しようとする課題】
【0004】
建物の規模が大きいほど、設置される火災感知器の数も多くなり、防塵カバーの数も多くなるため、火災感知器から取り外された後の防塵カバーの処理が問題となる。防塵カバーを再利用可能な構成とすることも望ましいが、埃等で汚れたり着脱器で傷が付いたりした防塵カバーを再利用するのは難しい。また、大量の防塵カバーはかさばるため、再利用のための回収及び保管も困難である。さらに、嵩を減らすために大量の防塵カバーを一つ一つ重ねるとすると、作業工数も多くなって作業負担も大きい。
【0005】
本発明は、上記のような事項を背景としてなされたものであり、廃棄における環境負荷又は作業者の負荷を軽減できる火災感知器の防塵カバー及び火災感知器の防塵カバーの製造方法を提供するものである。
【課題を解決するための手段】
【0006】
本発明に係る火災感知器の防塵カバーは、バイオマスプラスチックで構成され、火災感知器に対して着脱可能なものである。
【0007】
本発明に係る火災感知器の防塵カバーの製造方法は、バイオマスプラスチックで構成されたシートを準備する工程と、複数の火災感知器の少なくとも一部のそれぞれが嵌め込まれる複数のカバー部を前記シートに形成する工程と、隣接する前記カバー部の境界線を挟んで対称に切欠きを設ける工程とを備えたものである。
【発明の効果】
【0008】
本発明によれば、防塵カバーがバイオマスプラスチックで構成されているため、防塵カバーの廃棄における環境負荷又は作業者の負荷を軽減できる。
【図面の簡単な説明】
【0009】
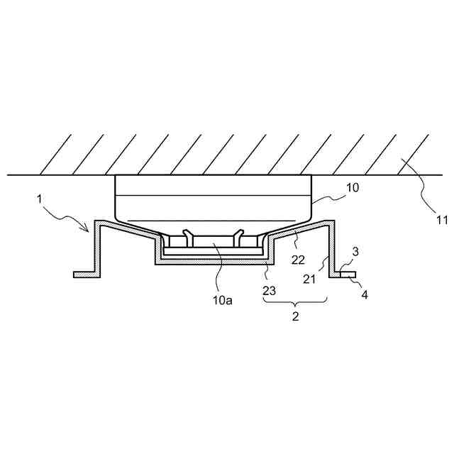
実施の形態に係る防塵カバーとこれが取り付けられた火災感知器の概略構成を示す図である。
実施の形態に係る防塵カバーの外観を示す図である。
実施の形態の変形例に係る防塵カバーの外観を示す図である。
実施の形態に係る防塵カバーの切り欠きの例を示す図である。
実施の形態に係る防塵カバーの製造方法の一例を説明する図である。
【発明を実施するための形態】
【0010】
以下、本発明の実施の形態を、図面を参照して説明する。本発明は、以下の実施の形態に限定されるものではなく、本発明の主旨を逸脱しない範囲で種々に変形することが可能である。また、本発明は、以下の実施の形態に示す構成のうち、組合せ可能な構成のあらゆる組合せを含むものである。また、図面に示す構成は、本発明の一例を示すものであり、図面に示された態様によって本発明が限定されるものではない。また、各図において、同一の符号を付したものは、同一の又はこれに相当するものであり、これは明細書の全文において共通している。
(【0011】以降は省略されています)
この特許をJ-PlatPat(特許庁公式サイト)で参照する
関連特許
能美防災株式会社
煙感知器
7日前
能美防災株式会社
消火栓装置
2日前
能美防災株式会社
防犯システム
1か月前
能美防災株式会社
異常検出システム
1日前
能美防災株式会社
火災検知システム
7日前
能美防災株式会社
点検支援システム
1日前
能美防災株式会社
異常検出システム
15日前
能美防災株式会社
トンネル非常用設備
7日前
能美防災株式会社
高温部可視化システム
7日前
能美防災株式会社
防塵カバー取外し装置
7日前
能美防災株式会社
高粘度消火剤粘性回復装置
16日前
能美防災株式会社
熱感知器用の加熱試験器及び加熱試験方法
1か月前
能美防災株式会社
表示灯
3日前
能美防災株式会社
火災報知システムの表示装置、火災受信機及び火災感知器
14日前
能美防災株式会社
煙検知装置
24日前
能美防災株式会社
熱式警報器
1か月前
能美防災株式会社
煙検知装置
16日前
能美防災株式会社
火災感知器
3日前
能美防災株式会社
火災感知器の防塵カバー及び火災感知器の防塵カバーの製造方法
22日前
能美防災株式会社
避難状況表示システム
14日前
能美防災株式会社
警報システム及び検知器
9日前
能美防災株式会社
管理装置及び警報システム
1か月前
能美防災株式会社
火災監視システムおよび火災感知器
7日前
個人
簡易異常通報装置
1日前
個人
安全支援装置
1か月前
日本無線株式会社
船舶システム
1か月前
日本信号株式会社
車両検知装置
7日前
トヨタ自動車株式会社
サーバ
1か月前
ダイハツ工業株式会社
移動支援装置
1か月前
株式会社デンソー
運航管理装置
2か月前
株式会社 ミックウェア
車内環境制御システム
1か月前
ニッタン株式会社
検知器取付け台
1日前
オ,ウォンチョル
交通信号システム
14日前
トヨタ自動車株式会社
通信システム
15日前
株式会社デンソー
運転評価支援装置
14日前
能美防災株式会社
火災感知器及び火災報知システム
2か月前
続きを見る
他の特許を見る