TOP
|
特許
|
意匠
|
商標
特許ウォッチ
Twitter
他の特許を見る
公開番号
2025179255
公報種別
公開特許公報(A)
公開日
2025-12-09
出願番号
2025158671,2022155760
出願日
2025-09-25,2022-09-29
発明の名称
火災感知器
出願人
能美防災株式会社
代理人
個人
,
個人
,
個人
,
個人
主分類
G08B
17/107 20060101AFI20251202BHJP(信号)
要約
【課題】感度確認作業を効率的に実施することができる火災感知器を得る。
【解決手段】本開示に係る火災感知器は、火災を感知する感知部を備えた火災感知器であって、外部から感度確認指令を受信した場合に、通常の感度確認期間よりも短い期間で設定された仮感度確認期間において感知部による感度確認を実行し、感度確認指令に対する返答として感度確認結果を出力する感度確認部をさらに備え、感度確認作業の効率化を実現できる。
【選択図】図3
特許請求の範囲
【請求項1】
火災を感知する感知部を備えた火災感知器であって、
外部から感度確認指令を受信した場合に、通常の感度確認期間よりも短い期間で設定された仮感度確認期間において前記感知部による感度確認を実行し、感度確認指令に対する返答として感度確認結果を出力する感度確認部
をさらに備える火災感知器。
続きを表示(約 730 文字)
【請求項2】
感度確認期間、判定回数、および感度故障検出レベルがあらかじめ設定されており、前記感度確認期間内においてセンサ出力である感知レベルをモニタし、前記感度故障検出レベル以上となる感知レベルの発生回数が前記判定回数以上となった場合に、感度故障と判定することで感度確認を実行する感知部を備えた火災感知器であって、
外部から感度確認指令を受信した場合に、前記感度確認期間よりも短い期間として設定された仮感度確認期間を前記感度確認期間の代わりに用いて、前記感知部による前記感度確認を実行し、前記感度確認指令に対する返答として感度確認結果を出力することで、状況に応じた時間内で、簡易的な感度確認結果を得ることを可能とする感度確認部
をさらに備える火災感知器。
【請求項3】
前記感度確認部は、前記感度確認指令を受信した場合に、前記判定回数よりも少ない回数としてあらかじめ設定された仮判定回数を前記判定回数の代わりにさらに用いて、前記感知部による前記感度確認を実行し、前記感度確認指令に対する返答として感度確認結果を出力することで、状況に応じた時間内で、簡易的な感度確認結果を得ることを可能とする
請求項2に記載の火災感知器。
【請求項4】
前記感度確認部は、前記感度確認指令を受信した場合に、あらかじめ設定された仮感度故障検出レベルを前記感度故障検出レベルの代わりにさらに用いて前記感知部による前記感度確認を実行し、前記感度確認指令に対する返答として感度確認結果を出力することで、状況に応じた時間内で、簡易的な感度確認結果を得ることを可能とする
請求項2または3に記載の火災感知器。
発明の詳細な説明
【技術分野】
【0001】
本開示は、火災感知器に関するものであり、特に、状況に応じた時間内で感度確認結果を得ることのできる火災感知器に関するものである。
続きを表示(約 1,400 文字)
【背景技術】
【0002】
火災報知システムにおいては、火災を検出するために、種々のタイプの火災感知器が用いられている。具体的なタイプとしては、熱感知器、炎感知器、煙感知器が挙げられる。また、煙感知器には、光電式分離型感知器および光電式スポット型感知器が含まれる。
【0003】
現場に設置された光電式スポット型感知器の光学台内部が埃で汚れた場合には、煙の発生を検出する感度が設置時当初からずれてしまい、正確な煙検出が保証されない。そこで、発生した汚れを除去するためには、掃除機、エアダスターなどにより掃除が行われる(例えば、特許文献1参照)。
【先行技術文献】
【特許文献】
【0004】
特開2017-156127号公報
【発明の概要】
【発明が解決しようとする課題】
【0005】
しかしながら、従来技術には、以下のような課題がある。
光電式スポット型感知器は、設置現場における1日の温度変化、空調などの影響により光学台内部の埃が移動することを考慮して、例えば、12時間の出力値変化を確認して、感度設定に問題が生じないことを確認している。
【0006】
従って、清掃完了後において、清掃の効果により感度設定に問題が生じないかがわかるのは、12時間後となってしまい、昼間に清掃作業が完了した場合にも、清掃が不十分で感度に問題があれば、夜中に再び誤検出が発生してしまうことになる。
【0007】
また、清掃作業後に限らず、状況に応じて、簡易的な感度確認結果を決められた時間内で得たいことも考えられる。
【0008】
本開示は、上記の課題を解決するためになされたものであり、感度確認作業を効率的に実施することができる火災感知器を得ることを目的とする。
【課題を解決するための手段】
【0009】
本開示に係る火災感知器は、火災を感知する感知部を備えた火災感知器であって、外部から感度確認指令を受信した場合に、通常の感度確認期間よりも短い期間で設定された仮感度確認期間において感知部による感度確認を実行し、感度確認指令に対する返答として感度確認結果を出力する感度確認部をさらに備えるものである。
また、本開示に係る火災感知器は、感度確認期間、判定回数、および感度故障検出レベルがあらかじめ設定されており、感度確認期間内においてセンサ出力である感知レベルをモニタし、感度故障検出レベル以上となる感知レベルの発生回数が判定回数以上となった場合に、感度故障と判定することで感度確認を実行する感知部を備えた火災感知器であって、外部から感度確認指令を受信した場合に、感度確認期間よりも短い期間として設定された仮感度確認期間を感度確認期間の代わりに用いて、感知部による感度確認を実行し、感度確認指令に対する返答として感度確認結果を出力することで、状況に応じた時間内で、簡易的な感度確認結果を得ることを可能とする感度確認部をさらに備えるものである。
【発明の効果】
【0010】
本開示によれば、感度確認作業を効率的に実施することができる火災感知器を得ることができる。
【図面の簡単な説明】
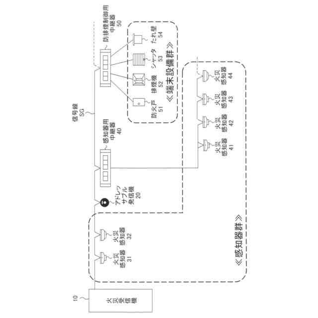
(【0011】以降は省略されています)
この特許をJ-PlatPat(特許庁公式サイト)で参照する
関連特許
能美防災株式会社
煙感知器
5日前
能美防災株式会社
照射装置
2か月前
能美防災株式会社
システム
2か月前
能美防災株式会社
表示装置
1か月前
能美防災株式会社
消火装置
1か月前
能美防災株式会社
消火設備
2か月前
能美防災株式会社
携帯型電灯
2か月前
能美防災株式会社
火災受信機
2か月前
能美防災株式会社
火災受信機
2か月前
能美防災株式会社
火災受信機
2か月前
能美防災株式会社
火災受信機
1か月前
能美防災株式会社
水噴霧ヘッド
2か月前
能美防災株式会社
車両システム
2か月前
能美防災株式会社
車両システム
2か月前
能美防災株式会社
感知システム
2か月前
能美防災株式会社
感知システム
2か月前
能美防災株式会社
防犯システム
1か月前
能美防災株式会社
防災システム
3か月前
能美防災株式会社
防災システム
2か月前
能美防災株式会社
感知器ベース
2か月前
能美防災株式会社
画像表示システム
2か月前
能美防災株式会社
火災検知システム
5日前
能美防災株式会社
異常検出システム
2か月前
能美防災株式会社
深部火災検知装置
2か月前
能美防災株式会社
着脱式避難誘導灯
2か月前
能美防災株式会社
異常検出システム
13日前
能美防災株式会社
トンネル非常用設備
5日前
能美防災株式会社
中継器の配線接続構造
2か月前
能美防災株式会社
スプリンクラ消火設備
2か月前
能美防災株式会社
高温部可視化システム
5日前
能美防災株式会社
防塵カバー取外し装置
5日前
能美防災株式会社
エアーコンディショナー
2か月前
能美防災株式会社
防災機器及び消火栓装置
2か月前
能美防災株式会社
塵芥車の火災検知システム
2か月前
能美防災株式会社
信号検出装置および警報器
2か月前
能美防災株式会社
高粘度消火剤粘性回復装置
14日前
続きを見る
他の特許を見る