TOP
|
特許
|
意匠
|
商標
特許ウォッチ
Twitter
他の特許を見る
公開番号
2025179230
公報種別
公開特許公報(A)
公開日
2025-12-09
出願番号
2025156110,2021159968
出願日
2025-09-19,2021-09-29
発明の名称
表示灯
出願人
能美防災株式会社
代理人
彩雲弁理士法人
主分類
F21S
2/00 20160101AFI20251202BHJP(照明)
要約
【課題】発光表示部を薄型化したとしても、側方からの視認性を良くすることができる表
示灯を提供する。
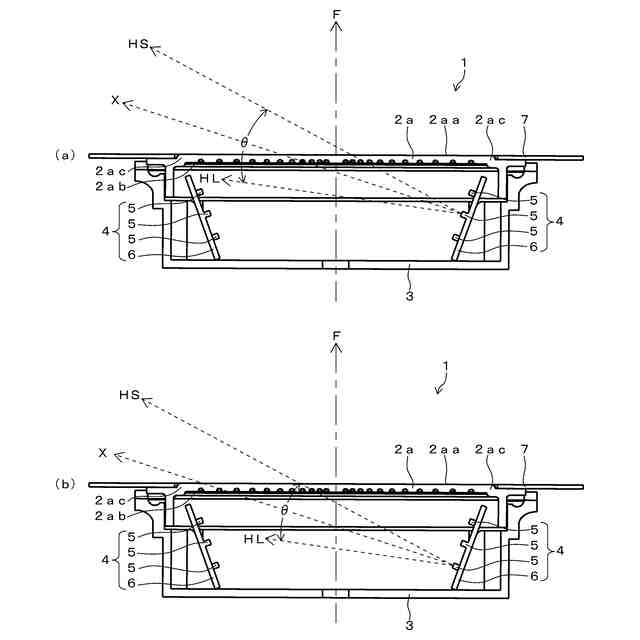
【解決手段】前面2aa側が外部に露出して設けられる発光表示部2aと、発光表示部2aの背面2ab側後方の位置に設けられる光源部4と、を備え、光源部4は、半値角θ内の光が、発光表示部の正面方向Fに対して傾斜しながら、発光表示部2aの左右いずれか一方の側から左右反対の他方の側に向かう配置で設けられる発光素子5を有し、発光表示部2aは、背面2abが略フラットであることを特徴とする。
【選択図】図2
特許請求の範囲
【請求項1】
防災機器の位置を表示する表示灯において、
前面側が外部に露出して設けられる発光表示部と、前記発光表示部の背面側後方の位置に設けられる光源部と、を備え、
前記光源部は、半値角内の光が、前記発光表示部の正面方向に対して傾斜しながら、前記発光表示部の左右いずれか一方の側から左右反対の他方の側に向かう配置で設けられる発光素子を有し、
前記発光表示部は、背面が略フラットであることを特徴とする表示灯。
続きを表示(約 56 文字)
【請求項2】
前記発光表示部は、前面が略フラットであることを特徴とする請求項1に記載の表示灯。
発明の詳細な説明
【技術分野】
【0001】
この発明は、各種防災機器の位置表示用の表示灯に関する。
続きを表示(約 1,700 文字)
【背景技術】
【0002】
消火栓設備の表示灯、非常警報設備の表示灯、自動火災報知設備の表示灯等の各種防災設備には、防災機器の位置表示用の表示灯が設けられる。表示灯は、発光素子を光源として発光する発光表示部を有するグローブ(「カバー」とも称される)を備える(例えば、特許文献1参照)。
【先行技術文献】
【特許文献】
【0003】
特開2003-16818号公報
【発明の概要】
【発明が解決しようとする課題】
【0004】
表示灯は、トンネル(道路トンネル等)用の防災設備にも設けられる。具体的には、車道脇(監査路上等)等に設置される消火栓装置や消火器箱等の筐体等に設けられる。
【0005】
ここで、シールド工法によって施工されるトンネルには、側壁に各種機器の埋込設置用のいわゆる「箱抜き」を設けることができない。そのようなトンネルに設置される消火栓装置や消火器箱等には、露出設置となるものの場合、機器の薄型化の要求がある。
【0006】
表示灯は、従来、カバーの発光表示部が前方に突出して設けられている。機器の薄型化をする場合、発光表示部を薄型化することが考えられる。しかしながら、それだけでは側方からの視認性が悪くなるという問題がある。トンネル用の防災設備は、車道を走る車に乗る人から表示灯を視認できる必要があり、正面方向より側方からの視認性が求められる。
【0007】
この発明は、前記の事情に鑑み、発光表示部を薄型化したとしても、正面からの視認性も良くしつつ、側方からの視認性を良くすることができる表示灯を得ることを目的とする。
【課題を解決するための手段】
【0008】
この発明は、防災機器の位置を表示する表示灯である。前面側が外部に露出して設けられる発光表示部と、前記発光表示部の背面側後方の位置に設けられる光源部と、を備える。前記光源部は、半値角内の光が、前記発光表示部の正面方向に対して傾斜しながら、前記発光表示部の左右いずれか一方の側から左右反対の他方の側に向かう配置で設けられる発光素子を有する。前記発光表示部は、背面が略フラットである。
【0009】
ここで、この発明を特定するのに用いている、「前」、「後」、「背」、「左」、「右」等の位置や方向等を示す語は、表示灯が防災機器の前面、例えば消火栓装置の筐体などに設置される際の位置や方向等に従って用いている。また、「半値角」の語は、中心軸上の光の強度(最大強度)に対して50%以上の光の強度となる角度範囲を意味するものとして用いている。
【0010】
この発明において、前記発光表示部は、前面が略フラットであるものとすることができる。前記発光素子は、半値角内の光が、前記発光表示部の正面方向に対して傾斜しながら、前記発光表示部の左右いずれか一方の側端部の側の背面側後方から左右反対の他方の側端部の側の背面側に向かう配置で設けられるものとすることができる。前記発光素子が複数実装されて設けられて、前記発光表示部の正面方向に対して傾斜して設けられる発光素子基板を有するものとすることができる。前記発光素子基板は、平面視凸状の形状を有し、その凸状の形状の突出部分が前記発光表示部の背面側に向かう向きで設けられものとすることができる。前記複数の発光素子のうち、前記発光表示部の背面に最も近接して設けられる発光素子は、半値角内の光のうち、前記発光表示部の正面方向に対する傾斜の角度が大きい側の半値角の限界角度上の光が、前記発光表示部の前記他方の側の側端部近傍位置を透過する配置で設けられるものとすることができる。前記発光表示部の背面側後方に位置して、前記発光素子が放射する光を前記発光表示部の前記他方の側の側端部側及び/又は中心部側に反射させる反射部をさらに備えるものとすることができる。前記発光素子は、後方に弧状のU字状か、前方に弧状の逆U字状に並んで設けられるものとすることができる。
【発明の効果】
(【0011】以降は省略されています)
この特許をJ-PlatPat(特許庁公式サイト)で参照する
関連特許
能美防災株式会社
システム
2か月前
能美防災株式会社
照射装置
2か月前
能美防災株式会社
表示装置
1か月前
能美防災株式会社
消火装置
1か月前
能美防災株式会社
煙感知器
5日前
能美防災株式会社
火災受信機
2か月前
能美防災株式会社
火災受信機
2か月前
能美防災株式会社
火災受信機
1か月前
能美防災株式会社
消火栓装置
今日
能美防災株式会社
火災受信機
2か月前
能美防災株式会社
車両システム
2か月前
能美防災株式会社
車両システム
2か月前
能美防災株式会社
防犯システム
1か月前
能美防災株式会社
感知システム
2か月前
能美防災株式会社
感知システム
2か月前
能美防災株式会社
着脱式避難誘導灯
2か月前
能美防災株式会社
深部火災検知装置
2か月前
能美防災株式会社
異常検出システム
13日前
能美防災株式会社
異常検出システム
2か月前
能美防災株式会社
画像表示システム
2か月前
能美防災株式会社
火災検知システム
5日前
能美防災株式会社
トンネル非常用設備
5日前
能美防災株式会社
防塵カバー取外し装置
5日前
能美防災株式会社
高温部可視化システム
5日前
能美防災株式会社
エアーコンディショナー
2か月前
能美防災株式会社
防災機器及び消火栓装置
2か月前
能美防災株式会社
信号検出装置および警報器
2か月前
能美防災株式会社
高粘度消火剤粘性回復装置
14日前
能美防災株式会社
煙感知器および火災報知設備
1か月前
能美防災株式会社
熱感知器及び熱感知システム
2か月前
能美防災株式会社
中継器および通信テスト方法
2か月前
能美防災株式会社
スプリンクラヘッドの散水反射板
2か月前
能美防災株式会社
火災感知器及び火災報知システム
2か月前
能美防災株式会社
電子タグ及び位置情報通信システム
2か月前
能美防災株式会社
煙感知器の作動試験方法、作動試験器
2か月前
能美防災株式会社
異常検知システム、管理装置及び中継装置
2か月前
続きを見る
他の特許を見る