TOP
|
特許
|
意匠
|
商標
特許ウォッチ
Twitter
他の特許を見る
公開番号
2025157602
公報種別
公開特許公報(A)
公開日
2025-10-15
出願番号
2025131251,2022053393
出願日
2025-08-06,2022-03-29
発明の名称
火災報知設備の表示装置およびこれを用いた表示システム
出願人
能美防災株式会社
代理人
弁理士法人きさ特許商標事務所
主分類
G08B
17/00 20060101AFI20251007BHJP(信号)
要約
【課題】オペレータの操作を記録できる火災報知設備の表示装置およびこれを用いた表示システムを提供する。
【解決手段】火災受信機および火災受信機に信号線を介して接続された複数の端末機器を有する火災報知設備から、各端末機器の状態情報を受けてイベント発生を検知すると、その状態情報を表示する火災報知設備の表示装置において、表示装置を操作するオペレータの操作内容を動画として記録する記憶部を備えた。
【選択図】図1
特許請求の範囲
【請求項1】
火災受信機および前記火災受信機に信号線を介して接続された複数の端末機器を有する火災報知設備から、各端末機器の状態情報を受けてイベント発生を検知すると、その状態情報を表示する火災報知設備の表示装置において、
前記表示装置を操作するオペレータの操作内容を動画として記録する記憶部を備えた火災報知設備の表示装置。
続きを表示(約 630 文字)
【請求項2】
前記動画は、発生したイベントが順次記録される履歴リストに記録されないオペレータの操作内容を含む請求項1に記載の火災報知設備の表示装置。
【請求項3】
前記動画に記録される前記オペレータの前記操作内容には、前記オペレータによるマウス操作による前記表示装置の画面切り替え操作、マウスの移動軌跡、前記オペレータが選択した前記端末機器の操作内容、の少なくとも一部が含まれる請求項1または請求項2に記載の火災報知設備の表示装置。
【請求項4】
前記動画を外部装置に送信する送信部を備える請求項1~請求項3のいずれか一項に記載の表示装置。
【請求項5】
前記動画には、イベント発生前後の所定時間における、前記オペレータの前記操作内容が記録されている請求項1~請求項4のいずれか一項に記載の火災報知設備の表示装置。
【請求項6】
請求項1~請求項5のいずれか一項に記載の火災報知設備の表示装置と、
前記表示装置にネットワークを介して接続される外部装置と、を備え、
前記表示装置は、
前記動画を、前記ネットワークを介して前記外部装置に送信する送信部を備え、
前記外部装置は、
前記表示装置から送信されてきた前記動画を受信する受信部と、
前記受信部で受信した前記動画を、ユーザ端末から読み出し可能に記憶する記憶部と、を備えた表示システム。
発明の詳細な説明
【技術分野】
【0001】
本発明は、火災報知設備の表示装置に関し、特に火災報知設備におけるいわゆる総合操作盤を構成する表示装置およびこれを用いた表示システムに関する。
続きを表示(約 1,900 文字)
【背景技術】
【0002】
従来、総合操作盤を構成する火災報知設備の表示装置は、建物の防災センター等に設置されている。火災報知設備の表示装置は、煙感知器等の複数の端末機器が接続された火災受信機に接続されており、各端末機器の状態情報を火災受信機から受信できるように構成されている。特許文献1の火災報知設備の表示装置は、各種画像や各種情報を表示する表示部と、複数の端末機器のシンボルが配置された平面図の画像データを記憶する記憶部とを備えている。特許文献1の火災報知設備の表示装置は、平常時は「平常監視中」という文字を表示部に表示し、火災受信機からの状態情報に基づいて煙感知器の状態変化(発報)等のイベントの発生を確認すると、表示部の画面をイベント発生画面に切り替えて表示する。イベント発生画面には、各端末機器のシンボルが配置された平面図が表示され、イベントが発生した端末機器を、他の端末機器と識別できるようシンボルが色変え・点滅して表示されている。
【先行技術文献】
【特許文献】
【0003】
特開2006-4239号公報
【発明の概要】
【発明が解決しようとする課題】
【0004】
火災報知設備の表示装置では、オペレータによる操作が記録されないという課題があった。
【0005】
本発明はこのような点を鑑みなされたもので、オペレータの操作を記録できる火災報知設備の表示装置およびこれを用いた表示システムを得ることを目的とする。
【課題を解決するための手段】
【0006】
本発明に係る火災報知設備の表示装置は、火災受信機および火災受信機に信号線を介して接続された複数の端末機器を有する火災報知設備から、各端末機器の状態情報を受けてイベント発生を検知すると、その状態情報を表示する火災報知設備の表示装置において、表示装置を操作するオペレータの操作内容を動画として記録する記憶部を備えたものである。
【0007】
本発明に係る表示システムは、上記の火災報知設備の表示装置と、表示装置にネットワークを介して接続される外部装置と、を備え、表示装置は、動画を、ネットワークを介して外部装置に送信する送信部を備え、外部装置は、表示装置から送信されてきた動画を受信する受信部と、受信部で受信した動画を、ユーザ端末から読み出し可能に記憶する記憶部と、を備えたものである。
【発明の効果】
【0008】
本発明の火災報知設備の表示装置およびこれを用いた表示システムは、オペレータの操作を記録できる。
【図面の簡単な説明】
【0009】
実施の形態1に係る火災報知設備の表示装置を用いた表示システム全体を示す構成図である。
実施の形態1に係る火災報知設備の表示装置の記憶部に記憶される画像データの一例を示す図である。
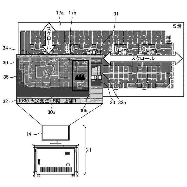
実施の形態1に係る火災報知設備の表示装置の表示部に表示される画面の説明図である。
図3の画面の拡大図である。
実施の形態1に係る火災報知設備の表示装置の記憶部に記憶された各種リストの一例を示す図である。
実施の形態2に係る表示システムのユーザ端末における監視地図の表示例を示す図である。
【発明を実施するための形態】
【0010】
実施の形態1.
以下、本発明の実施の形態1について図を用いて説明する。図1は、実施の形態1に係る火災報知設備の表示装置を用いた表示システム全体を示す構成図である。図1において、1は表示装置である。2は表示装置1が接続された火災受信機である。この火災受信機2には、信号線を介して複数の端末機器が接続されている。ここでは、端末機器として、例えば煙感知器20、熱感知器21の火災感知器(自動で火災を検出する装置)、発信機22(火災発見者が操作する装置)、地区ベル装置23による地区音響装置(建物の各部で火災の発生を警報する装置)、防火戸24の防排煙装置(発生した煙を制御排出する装置、火災に基づき制御される装置一般を指す)、ガス漏れ検知器25(自動で漏れたガスを検出する装置)等が接続されている。これらの構成要素によって、実質的に火災報知設備を構成している。表示装置1は、火災受信機2および火災受信機2に信号線を介して接続された複数の端末機器を有する火災報知設備から、端末機器の状態情報を受けてその状態情報を表示する装置である。
(【0011】以降は省略されています)
この特許をJ-PlatPat(特許庁公式サイト)で参照する
関連特許
能美防災株式会社
システム
1か月前
能美防災株式会社
照射装置
2か月前
能美防災株式会社
表示装置
1か月前
能美防災株式会社
消火装置
1か月前
能美防災株式会社
煙感知器
3日前
能美防災株式会社
火災受信機
2か月前
能美防災株式会社
火災受信機
2か月前
能美防災株式会社
火災受信機
1か月前
能美防災株式会社
火災受信機
2か月前
能美防災株式会社
携帯型電灯
2か月前
能美防災株式会社
感知システム
2か月前
能美防災株式会社
車両システム
2か月前
能美防災株式会社
車両システム
2か月前
能美防災株式会社
防犯システム
1か月前
能美防災株式会社
水噴霧ヘッド
2か月前
能美防災株式会社
感知システム
2か月前
能美防災株式会社
異常検出システム
11日前
能美防災株式会社
火災検知システム
3日前
能美防災株式会社
異常検出システム
2か月前
能美防災株式会社
画像表示システム
2か月前
能美防災株式会社
着脱式避難誘導灯
2か月前
能美防災株式会社
深部火災検知装置
2か月前
能美防災株式会社
トンネル非常用設備
3日前
能美防災株式会社
スプリンクラ消火設備
2か月前
能美防災株式会社
防塵カバー取外し装置
3日前
能美防災株式会社
高温部可視化システム
3日前
能美防災株式会社
エアーコンディショナー
2か月前
能美防災株式会社
防災機器及び消火栓装置
2か月前
能美防災株式会社
高粘度消火剤粘性回復装置
12日前
能美防災株式会社
信号検出装置および警報器
2か月前
能美防災株式会社
熱感知器及び熱感知システム
2か月前
能美防災株式会社
煙感知器および火災報知設備
1か月前
能美防災株式会社
中継器および通信テスト方法
2か月前
能美防災株式会社
スプリンクラヘッドの散水反射板
2か月前
能美防災株式会社
火災感知器及び火災報知システム
1か月前
能美防災株式会社
電子タグ及び位置情報通信システム
2か月前
続きを見る
他の特許を見る