TOP
|
特許
|
意匠
|
商標
特許ウォッチ
Twitter
他の特許を見る
公開番号
2025156381
公報種別
公開特許公報(A)
公開日
2025-10-14
出願番号
2025120692,2024069862
出願日
2025-07-17,2020-03-30
発明の名称
炎検知システム
出願人
能美防災株式会社
代理人
弁理士法人朝日特許事務所
主分類
G08B
17/12 20060101AFI20251002BHJP(信号)
要約
【課題】炎検知システムの測定部の劣化度を知ることを可能とする。
【解決手段】本発明に係る炎検知システムは、センサで光の強度を測定する測定部、炎を検知する炎検知部、及び測定部の劣化度を判定する劣化度判定部を備える。環境要因が安定している期間を特定する安定期間特定部を設け、その期間中に測定された光の強度である暗視ノイズに基づき劣化度を判定する。例えば、暗視ノイズの平均値に基づきアンプの劣化を、そのばらつきの指標に基づきセンサの劣化を判定する。また、安定期間の特定は、光学カメラ、マイク、物体検知センサ、振動センサ等の別センサの検知結果に基づいてもよい。
【選択図】図1
特許請求の範囲
【請求項1】
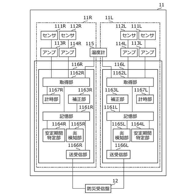
センサにより光の強度を測定する測定部と、
前記測定部により測定された光の強度に基づき炎を検知する炎検知部と、
前記測定部が測定した光の強度に基づき前記測定部の劣化度を判定する劣化度判定部と
を備える炎検知システム。
続きを表示(約 940 文字)
【請求項2】
前記測定部の測定結果に影響を与える環境要因が安定している期間を特定する安定期間特定部を備え、
前記劣化度判定部は、前記安定期間特定部が特定した期間中に前記測定部が測定した光の強度に基づき前記測定部の劣化度を判定する
請求項1に記載の炎検知システム。
【請求項3】
前記測定部は、前記センサと、当該センサが生成する信号を増幅するアンプとを含み、
前記劣化度判定部は、過去の期間中に前記測定部が測定した光の強度の平均値に基づき、前記アンプが交換を要する劣化度、または、交換が必要になると推定される劣化度であると判定し、過去の期間中に前記測定部が測定した光の強度のばらつきの指標に基づき、前記センサが交換を要する劣化度、または、交換が必要になると推定される劣化度であると判定する
請求項1に記載の炎検知システム。
【請求項4】
請求項3に記載の炎検知システムに関し、過去に交換された部品の種類と前記劣化度判定部が判定した当該部品の劣化度を目的変数とし、当該部品の交換直前の期間中に前記測定部が測定した光の強度を説明変数とする教師データを用いて機械学習により学習モデルを生成するステップ
を備える学習モデルの生成方法。
【請求項5】
前記劣化度判定部は、請求項4に記載の生成方法により生成された学習モデルに、過去の期間中に前記測定部が測定した光の強度を入力し、前記学習モデルから出力される結果に基づき前記測定部の劣化度を判定する
請求項3に記載の炎検知システム。
【請求項6】
過去の期間中に前記測定部が測定した光の強度の平均値を用いて、前記測定部が測定した光の強度を補正する補正部を備える
請求項1に記載の炎検知システム。
【請求項7】
前記測定部と前記炎検知部を有する炎検知器を複数備え、
前記劣化度判定部が判定した劣化度に基づき、前記複数の炎検知器のうち、部品の交換を要する炎検知器、及び、部品の交換が必要になると推定される炎検知器に関する情報を、端末装置に送信する送信部を備える
請求項1に記載の炎検知システム。
発明の詳細な説明
【技術分野】
【0001】
本発明は、炎検知システムの保守のための技術に関する。
続きを表示(約 1,200 文字)
【背景技術】
【0002】
防災システムが劣化により正しく動作しなくなる場合がある。そのような不都合を防止するための様々な技術が提案されている。例えば、特許文献1には、火災を検知した場合に火災信号を防災受信盤に対し出力する端末装置と防災受信盤とを接続している信号回線に流れる電流値を監視し、その電流値が大きく変化した場合に、信号回線の絶縁劣化等に起因した故障の予兆と判定し、予兆警報を出力する機能を備えた防災システムが提案されている。
【先行技術文献】
【特許文献】
【0003】
特開2018-67032号公報
【発明の概要】
【発明が解決しようとする課題】
【0004】
炎が発する光に感応するセンサにより炎を検知する炎検知システムがある。そのような炎検知システムの不具合の原因の一つとして、センサにより光の強度を測定する測定部の部品の劣化がある。例えば、炎検知システムが備える測定部のセンサが劣化すると、センサから出力される信号の振幅値が光の有無とは無関係に不規則な変動を示す場合がある。また、センサが生成する信号を増幅するアンプが劣化すると、アンプにより増幅されたセンサからの信号の振幅値が光の有無とは無関係に定常的に高い値を示す場合がある。
【0005】
上記のような部品の劣化に伴い、炎検知システムが行う炎検知の判定の精度が下がる。従って、測定部の劣化度を知ることができれば、部品の交換等により、炎検知システムに求められる炎検知の判定の精度を維持することができる。
【0006】
このような事情に鑑みて、本発明は、炎検知システムの測定部の劣化度を知ることを可能とすることを目的とする。
【課題を解決するための手段】
【0007】
上記の課題を解決するため、本発明は、センサにより光の強度を測定する測定部と、前記測定部により測定された光の強度に基づき炎を検知する炎検知部と、前記測定部の測定結果に影響を与える環境要因が安定している期間を特定する安定期間特定部と、前記安定期間特定部が特定した期間中に前記測定部が測定した光の強度を示すデータを、ノイズを示すデータとして記憶する記憶部とを備える炎検知システムを第1の態様として提供する。
【0008】
第1の態様に係る炎検知システムによれば、記憶されるデータが示すノイズにより炎検知システムの測定部の劣化度が分かる。
【0009】
第1の態様に係る炎検知システムにおいて、前記安定期間特定部は、前記測定部の測定結果に基づき、環境要因が安定している期間を特定する、という構成が第2の態様として採用されてもよい。
【0010】
第2の態様に係る炎検知システムによれば、環境要因が安定している期間を特定するために別途、センサを設ける必要がない。
(【0011】以降は省略されています)
この特許をJ-PlatPat(特許庁公式サイト)で参照する
関連特許
能美防災株式会社
表示灯
2か月前
能美防災株式会社
システム
1か月前
能美防災株式会社
照射装置
1か月前
能美防災株式会社
消火装置
23日前
能美防災株式会社
表示装置
24日前
能美防災株式会社
消火設備
1か月前
能美防災株式会社
携帯型電灯
1か月前
能美防災株式会社
火災受信機
1か月前
能美防災株式会社
火災受信機
1か月前
能美防災株式会社
火災受信機
1か月前
能美防災株式会社
火災受信機
1か月前
能美防災株式会社
防災システム
1か月前
能美防災株式会社
感知器ベース
1か月前
能美防災株式会社
防災システム
2か月前
能美防災株式会社
感知システム
1か月前
能美防災株式会社
車両システム
1か月前
能美防災株式会社
車両システム
1か月前
能美防災株式会社
水噴霧ヘッド
1か月前
能美防災株式会社
防犯システム
12日前
能美防災株式会社
感知システム
1か月前
能美防災株式会社
異常検出システム
1か月前
能美防災株式会社
画像表示システム
1か月前
能美防災株式会社
深部火災検知装置
1か月前
能美防災株式会社
着脱式避難誘導灯
1か月前
能美防災株式会社
スプリンクラ消火設備
1か月前
能美防災株式会社
中継器の配線接続構造
2か月前
能美防災株式会社
防災機器及び消火栓装置
1か月前
能美防災株式会社
エアーコンディショナー
1か月前
能美防災株式会社
塵芥車の火災検知システム
1か月前
能美防災株式会社
信号検出装置および警報器
1か月前
能美防災株式会社
熱感知器及び熱感知システム
1か月前
能美防災株式会社
防災設備の製造管理システム
1か月前
能美防災株式会社
煙感知器および火災報知設備
25日前
能美防災株式会社
中継器および通信テスト方法
1か月前
能美防災株式会社
避難シミュレーションシステム
1か月前
能美防災株式会社
スプリンクラヘッドの散水反射板
1か月前
続きを見る
他の特許を見る