TOP
|
特許
|
意匠
|
商標
特許ウォッチ
Twitter
他の特許を見る
10個以上の画像は省略されています。
公開番号
2025157501
公報種別
公開特許公報(A)
公開日
2025-10-15
出願番号
2025123333,2022188234
出願日
2025-07-23,2022-11-25
発明の名称
マルチコプター
出願人
能美防災株式会社
代理人
弁理士法人エビス国際特許事務所
主分類
G08B
17/00 20060101AFI20251007BHJP(信号)
要約
【課題】本発明は、マルチコプターで火災感知器本体を取付ベースに取り付けたり取り外したりする等の点を課題とする。
【解決手段】本発明の一実施形態におけるマルチコプターは、上部に、火災感知器本体を保持可能な感知器保持部と、接触バネとを備え、前記接触バネは、所定の電圧を付与されている接触子を有し、前記接触子は、前記火災感知器本体が取付けられる取付ベースの通電端子と接触して電流を供給する、ことを特徴とする。
【選択図】図5
特許請求の範囲
【請求項1】
上部に、火災感知器本体を保持可能な感知器保持部と、接触バネとを備え、
前記接触バネは、所定の電圧を付与されている接触子を有し、
前記接触子は、前記火災感知器本体が取付けられる取付ベースの通電端子と接触して電流を供給する、
ことを特徴とするマルチコプター。
続きを表示(約 180 文字)
【請求項2】
前記接触バネは、前記取付ベースの下方から前記通電端子に当接することができる、
ことを特徴とする請求項1に記載されたマルチコプター。
【請求項3】
前記接触バネは、前記接触子が前記取付ベースの両側から挟み込むことで前記通電端子と接触することができる、
ことを特徴とする請求項1に記載されたマルチコプター。
発明の詳細な説明
【技術分野】
【0001】
本発明は、マルチコプターに関するものである。
続きを表示(約 2,100 文字)
【背景技術】
【0002】
煙感知器等の火災感知器は、天井等に予め固定された取付ベースに火災感知器本体を取り付けて、建物に設置される。また、取付ベースに取り付けられた火災感知器本体は、検査等を行うために取り外される。特許文献1の火災感知器では、火災感知器本体である感知器本体を取付ベースであるベース本体に取り付けたり取り外したりするために、ベース本体に刃受け金具と接触バネを備えている。
【0003】
図1に、特許文献1のように天井板Cに取り付ける、従来例の火災感知器を示す。図1(a)は、天井板Cの穴に取り付けた取付ベース8の断面図と、取付ベース8に取り付ける前の火災感知器本体2を示す。また、図1(b)は、取付ベース8の断面図と、取付ベース8に取り付けられた火災感知器本体2を示す。
【0004】
火災感知器は、天井板Cに予め固定される取付ベース8と、取付ベース8に取り外し可能に取り付けられる火災感知器本体2から構成される。取付ベース8は、取付ベース本体81と、取付ベース本体81の周りに設けられた鍔部82と、取付ベース本体81の上部に設けられた固定部材89を備える。本明細書では、取付ベース等が天井板Cに取り付けられた状態で上下を記載する。固定部材89は、取付ベース本体81の裏側に設けられた押さえ片891と、角形雌ネジ892と、押さえ片891を貫通して角形雌ネジ892にねじ込まれた雄ネジ893とを備える。押さえ片891と角形雌ネジ892と雄ネジ893は、2組設けられている。
【0005】
取付ベース8を天井板Cに固定する際には、押さえ片891の両端が取付ベース本体81の裏側に立った状態で、天井板Cに開けた穴に固定部材89と取付ベース本体81を差し込む。そして、雄ネジ893を回すことにより、角形雌ネジ892と裏突部811の間で押さえ片891を締め込んで、押さえ片891を拡げる。拡がった押さえ片891の外側端と鍔部82との間に天井板Cを挟んで、図1(a)に示すように天井板Cに取付ベース8が固定される。
【0006】
火災感知器本体2は作業者の手で保持され、図1(a)に示すように下方から取付ベース8に近づけられる。そして、嵌合空間83に差し入れたのち、回転させることにより、図1(b)に示すように取付ベース8に取り付けられる。また、図1(b)の取り付け状態において、作業者が火災感知器本体2を取り付け時と逆方向に回転させることにより、火災感知器本体2を取付ベース8から取り外すことができる。
【0007】
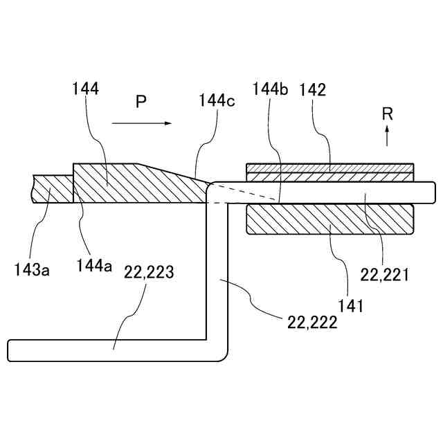
図2に、天井板Cに取り付けた取付ベース8の下面図を示す。取付ベース8の嵌合空間83の中には、2組の接触バネ841と刃受け金具842が設けられている。刃受け金具842は接触バネ841の裏側に位置している。取付ベース8の周囲は天井板Cであり、押さえ片891は天井板Cの上側にあるため、図2では見えていない。接触バネ841は基部841aが刃受け金具842に固定され、端部841bは刃受け金具842と逆方向へ折れ曲がっている。端部841bは刃受け金具842の方向へ付勢されている。
【0008】
図3に火災感知器本体2の上面図を示す。火災感知器本体2には、感知器背面板21の対向する位置に2つの刃金具22が取り付けられている。図4に、図3で示した刃金具22の拡大図を示す。図4(a)は、刃金具22の上面図であり、図4(b)は、刃金具22の側面図である。刃金具22は、一枚の導体板を折り曲げて接触部221、中間部222、固定部223とした構成となっている。接触部221と中間部222の間は一方向に折り曲げられ、中間部222と固定部223の間は逆方向に折り曲げられている。固定部223には、固定ネジ孔224が設けられている。固定ネジ孔224にネジを螺入することにより固定部223を感知器背面板21に固定して、刃金具22が感知器背面板21に固定される。
【0009】
火災感知器本体2を取付ベース8に取り付ける際には、火災感知器本体2を嵌合空間83のなかで回転させることにより、刃金具22の接触部221が、取付ベース8の接触バネ841と刃受け金具842の間に差し込まれる。そして、接触部221が接触バネ841と刃受け金具842の間に挟持される。これにより、火災感知器本体2が取付ベース8に取り付けられると共に、導電性の刃金具22と接触バネ841と刃受け金具842により電気的に接続される。また、火災感知器本体2を取り付けの際と逆方向に回転させることにより、刃金具22が接触バネ841と刃受け金具842の間から抜けて、火災感知器本体2を取付ベース8から取り外すことができる。
【先行技術文献】
【特許文献】
【0010】
特開2019-169075号公報
【発明の概要】
【発明が解決しようとする課題】
(【0011】以降は省略されています)
この特許をJ-PlatPat(特許庁公式サイト)で参照する
関連特許
能美防災株式会社
表示灯
1か月前
能美防災株式会社
照射装置
24日前
能美防災株式会社
システム
22日前
能美防災株式会社
消火装置
8日前
能美防災株式会社
表示装置
9日前
能美防災株式会社
消火設備
1か月前
能美防災株式会社
炎検知器
2か月前
能美防災株式会社
火災受信機
25日前
能美防災株式会社
火災受信機
23日前
能美防災株式会社
火災受信機
23日前
能美防災株式会社
携帯型電灯
29日前
能美防災株式会社
火災受信機
1か月前
能美防災株式会社
火災感知器
1か月前
能美防災株式会社
火災受信機
15日前
能美防災株式会社
防災システム
1か月前
能美防災株式会社
避難システム
2か月前
能美防災株式会社
ガス検出装置
2か月前
能美防災株式会社
感知器ベース
1か月前
能美防災株式会社
避難システム
1か月前
能美防災株式会社
防災システム
1か月前
能美防災株式会社
水噴霧ヘッド
29日前
能美防災株式会社
車両システム
24日前
能美防災株式会社
車両システム
24日前
能美防災株式会社
感知システム
24日前
能美防災株式会社
感知システム
24日前
能美防災株式会社
非常伝達装置
2か月前
能美防災株式会社
火災監視システム
1か月前
能美防災株式会社
火災監視システム
2か月前
能美防災株式会社
画像表示システム
25日前
能美防災株式会社
防災管理システム
1か月前
能美防災株式会社
災害通報システム
1か月前
能美防災株式会社
延焼防止システム
1か月前
能美防災株式会社
深部火災検知装置
23日前
能美防災株式会社
異常検出システム
24日前
能美防災株式会社
着脱式避難誘導灯
23日前
能美防災株式会社
中継器の配線接続構造
1か月前
続きを見る
他の特許を見る