TOP
|
特許
|
意匠
|
商標
特許ウォッチ
Twitter
他の特許を見る
10個以上の画像は省略されています。
公開番号
2025167578
公報種別
公開特許公報(A)
公開日
2025-11-07
出願番号
2024072343
出願日
2024-04-26
発明の名称
補助信号機及び信号機
出願人
株式会社スターオークス
代理人
個人
主分類
G08G
1/095 20060101AFI20251030BHJP(信号)
要約
【課題】
逆光であっても視認性が高く色を判断することが可能であって、信号機に取り付け可能な補助信号機及び補助信号機が取り付けられた信号機を提供すること。
【解決手段】
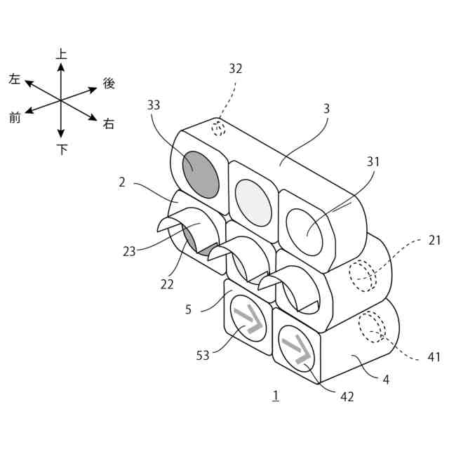
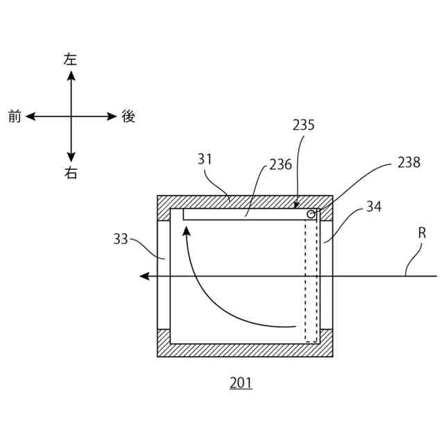
信号機1は、赤色、緑色、黄色の少なくとも2色の光源21によって発光される信号灯22を有する原信号機2と、原信号機2に着脱可能に取り付けられる補助信号機3と、を有する。補助信号機3は、信号灯22と同じ配色で、信号灯22と隣接するように配置され、透過性を有する素材で構成された透過光部33と、開閉することにより透過光部33に入射する光を遮断又は透過させる開閉部と、原信号機2が逆光であるか否かを判断するセンサ部32と、を有する。開閉部は、センサ部32により信号灯22が逆光であると判断された場合、透過光部33を信号灯22の光源21の発光に連動して開閉する。
【選択図】図1
特許請求の範囲
【請求項1】
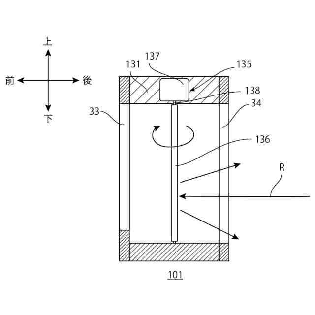
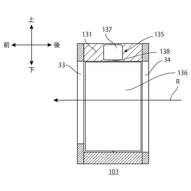
赤色、緑色、黄色の少なくとも2色の光源によって発光される信号灯を有する原信号機に着脱可能に取り付けられる補助信号機であって、
前記信号灯と同じ配色で、前記信号灯と隣接するように配置され、透過性を有する素材で構成された透過光部と、
開閉することにより、前記透過光部に入射する光を遮断又は透過させる開閉部と、
前記原信号機が逆光であるか否かを判断するセンサ部と、を有し、
前記開閉部は、前記センサ部により前記信号灯が逆光であると判断された場合、前記透過光部を前記信号灯の前記光源の発光に連動して開閉することを特徴とする補助信号機。
続きを表示(約 820 文字)
【請求項2】
前記開閉部は、前記センサ部により前記原信号機が逆光であると判断されなかった場合、前記透過光部を閉じることを特徴とする請求項1に記載の補助信号機。
【請求項3】
前記信号灯の色は、隣接して配置された前記透過光部の色と同一であることを特徴とする請求項1に記載の補助信号機。
【請求項4】
前記光源のいずれか1つが点滅しているとき、前記開閉部は前記信号灯の点滅に連動して前記透過光部を開閉することを特徴とする請求項1に記載の補助信号機。
【請求項5】
前記信号灯は、前記光源の発光により矢印を表す矢印灯器をさらに有し、
前記透過光部は、透過性を有する素材が矢印形状に表された矢印透過光部をさらに有し、
前記開閉部は、開閉することにより、前記矢印透過光部に入射する光を遮断又は透過させる矢印開閉部をさらに有し、
前記矢印開閉部は、前記センサ部により前記信号灯が逆光であると判断された場合、前記矢印透過光部を前記矢印灯器の前記光源の発光に連動して開閉することを特徴とする請求項1から4のいずれか1項に記載の補助信号機。
【請求項6】
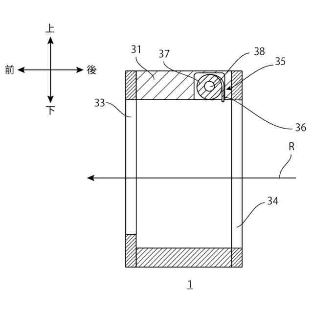
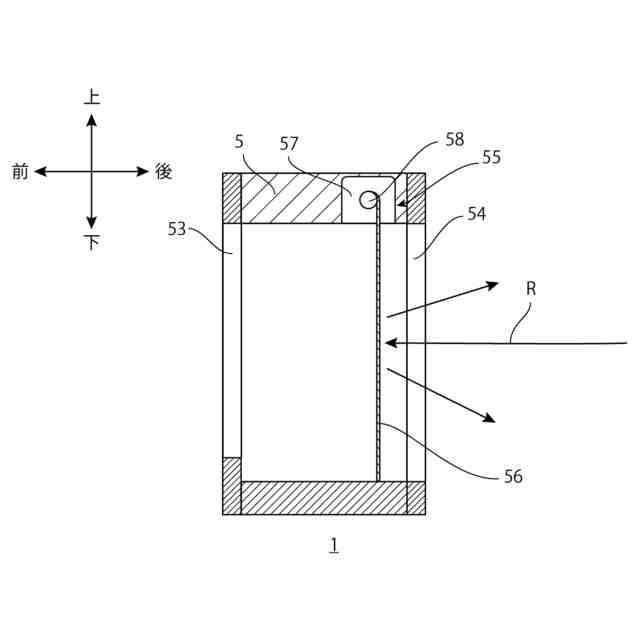
赤色、緑色、黄色の少なくとも2色の光源によって発光される信号灯を有する原信号機と、
前記信号機に取りつけられた補助信号機と、を有し、
前記補助信号機は、
前記信号灯と同じ配色で、前記信号灯と隣接するように配置され、透過性を有する素材で構成された透過光部と、
開閉することにより、前記透過光部に入射する光を遮断又は透過させる開閉部と、
前記信号機が逆光であるか否かを判断するセンサ部と、を有し、
前記開閉部は、前記センサ部により前記信号灯が逆光であると判断された場合、前記透過光部を前記信号灯の前記光源の発光に連動して開閉することを特徴とする信号機。
発明の詳細な説明
【技術分野】
【0001】
本発明は補助信号機及び信号機に関し、特に逆光であっても視認性の高い補助信号機及び信号機に関する。
続きを表示(約 1,200 文字)
【背景技術】
【0002】
従来より、信号灯のうち所定の信号灯の閉止蓋を開き、他の色の信号灯を閉止する閉止蓋を設けた信号機が知られている(特許文献1)。信号灯に対して正面から太陽光が入射したとき、いずれの信号灯が点灯しているか判断し難いが、当該信号機によると点灯されている信号灯以外の色の信号灯は閉止蓋によって閉じられているため、正面からの太陽光の入射による視認性を高めることができる。
【0003】
他の信号機では、青、黄、赤の信号灯のガラスの表面を研磨処理によって細かい傷をつける。これにより、太陽光が信号機の正面から入射した場合であっても、ガラス表面で太陽光が乱反射して分散することにより、信号灯の視認性を向上させる。
【先行技術文献】
【特許文献】
【0004】
特開平9-259394号公報
特開平9-198598号公報
【発明の概要】
【発明が解決しようとする課題】
【0005】
しかしながら、いずれの特許文献においても、正面からの太陽光の入射に対しては一定の視認性向上の効果が見込まれるが、逆光の際における信号機の視認性の低下には何らの効果も奏しなかった。
【0006】
近年は、信号機のLED化により逆光に対する視認性が向上しつつあるが、LEDの信号灯は部分的な導入であり、電球の信号灯は数多く残っている。いずれの信号灯においても、逆光時に視認性が大きく低下することが問題となっていた。また、逆光によって信号機の色が判断し難いことに起因する交通事故の発生も懸念されていた。
【0007】
そこで、本発明は逆光であっても視認性が高く色を判断することが可能、信号機に取り付け可能な補助信号機及び補助信号機が取り付けられた信号機を提供することを目的とする。
【課題を解決するための手段】
【0008】
上記課題を解決するために本発明は、赤色、緑色、黄色の少なくとも2色の光源によって発光される信号灯を有する原信号機に着脱可能に取り付けられる補助信号機であって、前記信号灯と同じ配色で、前記信号灯と隣接するように配置され、透過性を有する素材で構成された透過光部と、開閉することにより、前記透過光部に入射する光を遮断又は透過させる開閉部と、前記原信号機が逆光であるか否かを判断するセンサ部と、を有し、前記開閉部は、前記センサ部により前記信号灯が逆光であると判断された場合、前記透過光部を前記信号灯の前記光源の発光に連動して開閉することを特徴とする補助信号機を提供している。
【0009】
また、前記開閉部は、前記センサ部により前記灯光部が逆光であると判断されなかった場合、前記透過光部を閉じることが好ましい。
【0010】
また、前記灯光部の前記光源の色は、隣接して配置された前記透過光部の色と同一であることが好ましい。
(【0011】以降は省略されています)
この特許をJ-PlatPat(特許庁公式サイト)で参照する
関連特許
個人
安全支援装置
1か月前
株式会社SUBARU
車両
2か月前
日本無線株式会社
船舶システム
1か月前
ニッタン株式会社
検知器
2か月前
日本信号株式会社
車両検知装置
3日前
トヨタ自動車株式会社
サーバ
1か月前
大阪瓦斯株式会社
音声出力システム
2か月前
ダイハツ工業株式会社
移動支援装置
1か月前
株式会社SUBARU
運転支援装置
2か月前
三菱自動車工業株式会社
制御システム
2か月前
株式会社デンソー
運航管理装置
1か月前
株式会社CCT
通信装置及び表示方法
2か月前
株式会社 ミックウェア
車内環境制御システム
1か月前
株式会社SUBARU
事故情報収集装置
2か月前
オ,ウォンチョル
交通信号システム
10日前
株式会社デンソー
運転評価支援装置
10日前
ホーチキ株式会社
火災検出システム
2か月前
トヨタ自動車株式会社
通信システム
11日前
株式会社SUBARU
車室内異常検知装置
2か月前
能美防災株式会社
火災感知器及び火災報知システム
1か月前
大阪瓦斯株式会社
音声出力装置
2か月前
株式会社関電工
車両運行通知システム
1か月前
オムロン株式会社
センサシステム
1か月前
グローリー株式会社
監視システム
10日前
オムロン株式会社
センサシステム
1か月前
オムロン株式会社
センサシステム
1か月前
株式会社アイシン
運転支援装置
2か月前
株式会社スターオークス
補助信号機及び信号機
1か月前
能美防災株式会社
着脱式避難誘導灯
2か月前
株式会社アイシン
運転支援装置
1か月前
コイト電工株式会社
情報処理装置
2か月前
本田技研工業株式会社
作業システム
1か月前
トヨタ自動車株式会社
方法
1か月前
トヨタ自動車株式会社
情報処理装置
1か月前
トヨタ自動車株式会社
情報処理装置
1か月前
能美防災株式会社
表示装置
1か月前
続きを見る
他の特許を見る