TOP
|
特許
|
意匠
|
商標
特許ウォッチ
Twitter
他の特許を見る
10個以上の画像は省略されています。
公開番号
2025162823
公報種別
公開特許公報(A)
公開日
2025-10-28
出願番号
2024066272
出願日
2024-04-16
発明の名称
センサシステム
出願人
オムロン株式会社
代理人
個人
,
個人
,
個人
主分類
G08C
19/00 20060101AFI20251021BHJP(信号)
要約
【課題】複数のセンサユニットでの測定データを欠損させる可能性を低減して、適切に、情報処理装置又は制御装置に送信可能なセンサシステムを提供することである。
【解決手段】センサシステム1は、複数のセンサユニット30と通信ユニット20と、を備え、複数のセンサユニット30は、いずれかのセンサユニット30から所定の周期で発信される同期信号によって決定されるタイミングに基づいて、検出動作により得られた検出情報を通信ユニット20に送出し、通信ユニット20は、検出情報を受信した時刻を計測するタイマと、2以上の記憶部と、を含み、検出情報と時刻情報とが関連づけられて、検出情報と時刻情報とのセットとして、2以上の記憶部に、順番にもしくは交互に記憶し、2以上の記憶部の一つが書き込み中であるとき、2以上の記憶部のその他の記憶部のうち少なくとも一つが情報処理装置10又は制御装置によって読み出し可能である。
【選択図】図17
特許請求の範囲
【請求項1】
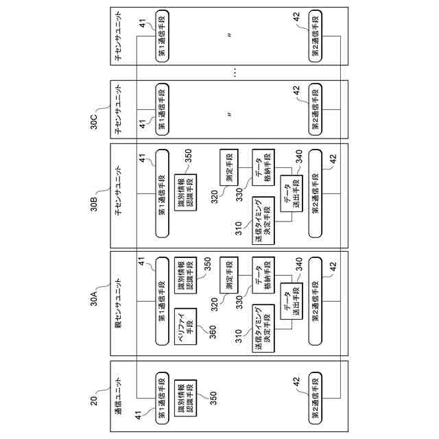
複数のセンサユニットと、前記複数のセンサユニットに信号伝達可能に接続され、各々のセンサユニットから受信した情報を情報処理装置又は制御装置に向けて送信する通信ユニットと、を備えるセンサシステムであって、
前記複数のセンサユニットは、
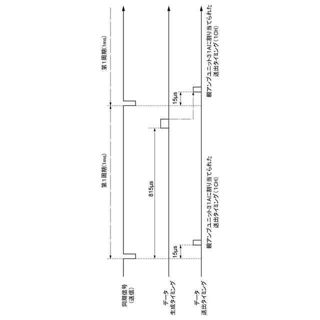
前記複数のセンサユニットのうちのいずれかのセンサユニットから所定の周期で発信される同期信号によって決定されるタイミングに基づいて、検出動作により得られた検出情報を前記通信ユニットに送出し、
前記通信ユニットは、
前記検出情報を受信した時刻を計測するタイマと、
2以上の記憶部と、を含み、
前記複数のセンサユニットから受信した前記検出情報と、前記タイマで計測した時刻情報とが関連づけられて、前記検出情報と前記時刻情報とのセットとして、前記2以上の記憶部に、順番にもしくは交互に記憶し、
前記2以上の記憶部の一つが書き込み中であるとき、前記2以上の記憶部のその他の記憶部のうち少なくとも一つが前記情報処理装置又は前記制御装置によって読み出し可能である、
センサシステム。
続きを表示(約 670 文字)
【請求項2】
前記複数のセンサユニットは、当該複数のセンサユニット間で共通の前記同期信号に基づいて自身が測定して得た測定値を含む前記検出情報を前記通信ユニットに送出する、
請求項1に記載のセンサシステム。
【請求項3】
前記複数のセンサユニットは、
前記同期信号に基づいて決定されたセンサユニット固有の送信タイミングが到来したら、前記測定値を含む前記検出情報を前記通信ユニットに送出する、
請求項2に記載のセンサシステム。
【請求項4】
前記時刻情報は、前記所定の周期で前記複数のセンサユニットから受信した前記検出情報に対応してセットされる、
請求項1に記載のセンサシステム。
【請求項5】
前記通信ユニットは、前記検出情報と前記時刻情報とのセットを前記2以上の記憶部のうちいずれかの記憶部に記憶する際、前記所定の周期の複数回毎に記憶部を切り替える、
請求項1に記載のセンサシステム。
【請求項6】
前記通信ユニットは、
NTPサーバまたはSNTPサーバと通信する通信手段、をさらに含み、
前記NTPサーバまたはSNTPサーバから定期的に時刻情報を取得することにより前記タイマの時刻情報を更新し、
前記検出情報を受信したタイミングを前記タイマで計測して時刻情報を生成し、
前記検出情報に前記時刻情報を付加して、前記情報処理装置又は前記制御装置に送信する、
請求項1に記載のセンサシステム。
発明の詳細な説明
【技術分野】
【0001】
本発明は、センサシステムに関する。
続きを表示(約 1,600 文字)
【背景技術】
【0002】
従来、複数のセンサユニットで構成されるセンサシステムが普及している。複数のアンプユニットと、それらにそれぞれ対応するセンサヘッドとで構成される複数のセンサユニットで構成されるセンサシステムでは、各センサユニットによって取得された測定データに基づいて対象物の状態を監視している。
【0003】
例えば、特許文献1では、通信速度を向上させるために、各センサユニットは、同期信号を起点としてセンサユニット毎に定められる待機時間が経過してから通信装置に検出情報を送信するセンサシステムに関する技術が開示されている。
【0004】
また、特許文献2では、同一種別間での相互干渉を防止するために、各センサユニットは、同期信号を起点として、各々の識別番号に応じて定められる遅延時間が経過してから動作するように構成されたセンサシステムに関する技術が開示されている。
【先行技術文献】
【特許文献】
【0005】
特開2014-96036号公報
特開2014-96697号公報
【発明の概要】
【発明が解決しようとする課題】
【0006】
ところで、上記のようなセンサシステムでは、複数のセンサユニットで測定された各測定データを適切に処理することによって、より高精度な測定が求められている。
【0007】
そこで、本発明は、複数のセンサユニットでの測定データを欠損させる可能性を低減して、適切に、情報処理装置又は制御装置に送信可能なセンサシステムを提供することを目的とする。
【課題を解決するための手段】
【0008】
本発明の一態様に係るセンサシステムは、複数のセンサユニットと、複数のセンサユニットに信号伝達可能に接続され、各々のセンサユニットから受信した情報を情報処理装置又は制御装置に向けて送信する通信ユニットと、を備えるセンサシステムであって、複数のセンサユニットは、複数のセンサユニットのうちのいずれかのセンサユニットから所定の周期で発信される同期信号によって決定されるタイミングに基づいて、検出動作により得られた検出情報を通信ユニットに送出し、通信ユニットは、検出情報を受信した時刻を計測するタイマと、2以上の記憶部と、を含み、複数のセンサユニットから受信した検出情報と、タイマで計測した時刻情報とが関連づけられて、検出情報と時刻情報とのセットとして、2以上の記憶部に、順番にもしくは交互に記憶し、2以上の記憶部の一つが書き込み中であるとき、2以上の記憶部のその他の記憶部のうち少なくとも一つが情報処理装置又は制御装置によって読み出し可能である。
【0009】
この態様によれば、複数のセンサユニットは、所定の周期で発信される同期信号によって決定されるタイミングに基づいて、検出動作により得られた検出情報を通信ユニットに送出し、通信ユニットは、複数のセンサユニットから受信した検出情報と、タイマで計測した時刻情報とが関連づけられて、検出情報と時刻情報とのセットとして、2以上の記憶部に、順番にもしくは交互に記憶する。そして、2以上の記憶部の一つが書き込み中であるとき、2以上の記憶部のその他の記憶部のうち少なくとも一つが情報処理装置又は制御装置によって読み出し可能に構成されていることにより、複数のセンサユニットでの検出情報を欠損させる可能性を低減して、適切に、情報処理装置又は制御装置に送信することができる。
【0010】
上記態様において、複数のセンサユニットは、当該複数のセンサユニット間で共通の同期信号に基づいて自身が測定して得た測定値を含む検出情報を通信ユニットに送出してもよい。
(【0011】以降は省略されています)
この特許をJ-PlatPat(特許庁公式サイト)で参照する
関連特許
オムロン株式会社
電磁継電器
1か月前
オムロン株式会社
センサシステム
26日前
オムロン株式会社
発光エンブレム
1か月前
オムロン株式会社
センサシステム
26日前
オムロン株式会社
センサシステム
26日前
オムロン株式会社
サーボドライバ
1か月前
オムロン株式会社
システム及び方法
26日前
オムロン株式会社
システム及び方法
26日前
オムロン株式会社
監視装置、監視方法及びプログラム
1か月前
オムロン株式会社
情報処理システムおよび情報処理方法
1か月前
オムロン株式会社
制御装置、制御方法、及び制御プログラム
1か月前
オムロン株式会社
処理装置、処理方法、および処理プログラム
1か月前
オムロン株式会社
処理装置、処理方法、および処理プログラム
1か月前
オムロン株式会社
管理システム、管理方法及び管理プログラム
1か月前
オムロン株式会社
画像処理装置、画像処理方法及びプログラム
1か月前
オムロン株式会社
モデル生成方法、推論プログラム及び推論装置
1か月前
オムロン株式会社
変換装置、変換方法、および、変換プログラム
16日前
オムロン株式会社
制御装置、情報処理方法および情報処理プログラム
1か月前
オムロン株式会社
物体検出装置、物体検出方法、および制御プログラム
1か月前
オムロン株式会社
感震センサおよび地震検知方法、地震検知プログラム
1か月前
オムロン株式会社
情報処理装置、情報処理方法及び情報処理プログラム
26日前
オムロン株式会社
感震センサおよび地震検知方法、地震検知プログラム
26日前
オムロン株式会社
情報処理装置、情報処理方法及び情報処理プログラム
26日前
オムロン株式会社
感震センサおよび地震検知方法、地震検知プログラム
26日前
オムロン株式会社
感震センサおよび地震検知方法、地震検知プログラム
26日前
オムロン株式会社
感震センサおよび地震検知方法、地震検知プログラム
27日前
オムロン株式会社
表示制御装置、表示制御方法および表示制御プログラム
1か月前
オムロン株式会社
オドメトリパラメータ較正装置、方法、及びプログラム
1か月前
オムロン株式会社
設計支援方法、設計支援装置、プログラム、及び記録媒体
1か月前
オムロン株式会社
混雑制御システム、混雑制御方法及び混雑制御プログラム
27日前
オムロン株式会社
入出場管理システム、入出場管理方法、及び入出場管理プログラム
1か月前
オムロン株式会社
信頼度マップ作成方法、自己位置決定方法、装置、及びプログラム
1か月前
オムロン株式会社
分析支援装置、分析支援方法、分析支援プログラムおよび分析支援端末
1か月前
オムロン株式会社
施設情報提示システム、施設情報提示方法、及び施設情報提示プログラム
4日前
オムロン株式会社
旅客流動混雑予測装置、旅客流動混雑予測方法及び旅客流動混雑予測プログラム
1か月前
オムロン株式会社
ロボット制御装置、代表物体情報生成装置、操作情報付与装置、方法、及びプログラム
1か月前
続きを見る
他の特許を見る