TOP
|
特許
|
意匠
|
商標
特許ウォッチ
Twitter
他の特許を見る
10個以上の画像は省略されています。
公開番号
2025161585
公報種別
公開特許公報(A)
公開日
2025-10-24
出願番号
2024064901
出願日
2024-04-12
発明の名称
管理システム、管理方法及び管理プログラム
出願人
オムロン株式会社
代理人
個人
,
個人
,
個人
主分類
G06Q
50/40 20240101AFI20251017BHJP(計算;計数)
要約
【課題】鉄道輸送における旅客の利用経路の予測結果の分析精度を向上させることが可能な管理システム、管理方法及び管理プログラムを提供する。
【解決手段】経路探索部は、改札機通過データD1のうち旅客が入場した入場駅における入場時刻及び旅客が出場した出場駅における出場時刻の少なくともいずれかと、現行列車の出発時刻と到着時刻とを含む現行列車のダイヤデータと、に基づいて経路候補を抽出する。列車割当部は、1人の旅客を複数の経路候補に割り当てる。データ紐付部は、複数の経路候補に特定列車の経路候補が含まれる場合に、特定列車の列車番号と乗車駅と降車駅とを含む販売実績データを改札機通過データD1に紐付ける。表示処理部313は、販売実績データと改札機通過データD1とを紐付けた紐付けデータに基づいて、特定列車を利用した旅客に関する分析結果を表示させる。
【選択図】図20
特許請求の範囲
【請求項1】
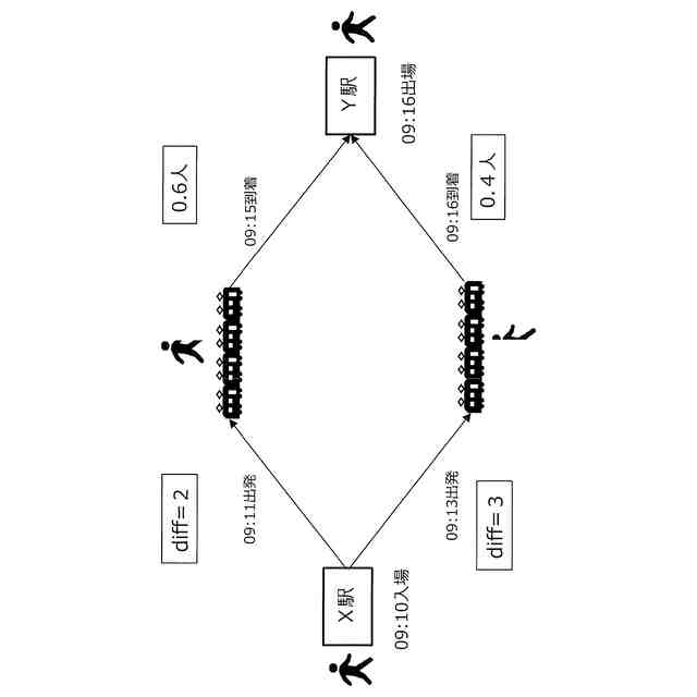
鉄道駅に設置された自動改札機から取得された旅客ごとの前記鉄道駅への入場時刻と前記鉄道駅からの出場時刻とを含む改札機通過データのうち、前記旅客が入場した入場駅における入場時刻及び前記旅客が出場した出場駅における出場時刻の少なくともいずれかと、現行列車の出発時刻と到着時刻とを含む現行列車のダイヤデータと、に基づいて経路候補を抽出する経路探索部と、
1人の前記旅客を複数の前記経路候補に割り当てる列車割当部と、
複数の前記経路候補に特定列車の前記経路候補が含まれる場合に、前記特定列車の列車番号と乗車駅と降車駅とを含む販売実績データを前記改札機通過データに紐付けるデータ紐付部と、
前記販売実績データと前記改札機通過データとを紐付けた紐付けデータに基づいて、前記特定列車を利用した旅客に関する分析結果を表示させる表示処理部と、
を備える管理システム。
続きを表示(約 1,100 文字)
【請求項2】
前記表示処理部は、前記特定列車の出発駅で前記特定列車に乗車した旅客の人数と、前記特定列車の到着駅で前記特定列車を降車した旅客の人数とを識別可能に表示させる、
請求項1に記載の管理システム。
【請求項3】
前記表示処理部は、前記特定列車の出発駅で入場して当該出発駅で前記特定列車に乗車した旅客の人数と、前記出発駅以外の駅で入場して当該出発駅で前記特定列車に乗車した旅客の人数とを識別可能に表示させる、
請求項1に記載の管理システム。
【請求項4】
前記表示処理部は、前記特定列車の到着駅で前記特定列車を降車して当該到着駅で出場した旅客の人数と、前記特定列車の到着駅で前記特定列車を降車して当該到着駅以外の駅で出場した旅客の人数とを識別可能に表示させる、
請求項1に記載の管理システム。
【請求項5】
前記表示処理部は、前記分析結果において前記特定列車のいずれかの到着駅がユーザーにより選択された場合に、選択された到着駅で前記特定列車を降車して出場した旅客の人数と、選択された到着駅で前記特定列車を降車して前記特定列車の到着駅以外の駅で出場した旅客の人数とを識別可能に表示させる、
請求項1に記載の管理システム。
【請求項6】
前記表示処理部は、前記分析結果において前記特定列車の到着駅以外の駅がユーザーにより選択された場合に、前記特定列車の到着駅ごとに、前記特定列車を降車して前記選択された駅で出場した旅客の人数を識別可能に表示させる、
請求項1に記載の管理システム。
【請求項7】
前記表示処理部は、ユーザーから年月日、平日、及び休日の少なくともいずれかの設定項目を選択する選択操作を受け付けた場合に、選択された設定項目に応じた前記分析結果を表示させる、
請求項1に記載の管理システム。
【請求項8】
前記表示処理部は、前記特定列車を利用した旅客と前記特定列車を利用していない旅客とを含む前記分析結果を表示させる、
請求項1に記載の管理システム。
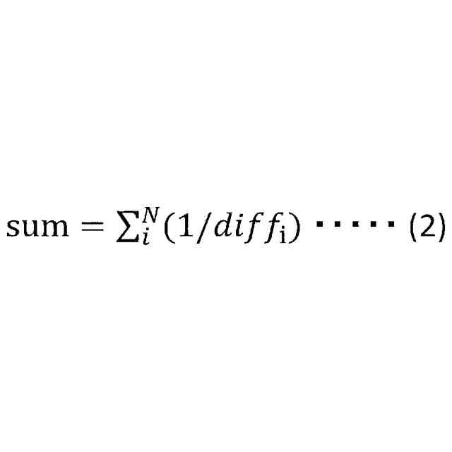
【請求項9】
前記列車割当部は、前記改札機通過データ及び前記現行列車のダイヤデータに基づいて割当指数を算出し、前記割当指数に応じて1人の前記旅客を複数の前記経路候補に割り当てる、
請求項1に記載の管理システム。
【請求項10】
前記データ紐付部は、複数の前記経路候補に前記特定列車の前記経路候補が含まれる場合に、前記販売実績データを紐付けた前記改札機通過データに対応する1人の旅客を前記特定列車の前記経路候補に割り当てる、
請求項1に記載の管理システム。
(【請求項11】以降は省略されています)
発明の詳細な説明
【技術分野】
【0001】
本発明は、鉄道輸送における旅客の利用経路の予測結果を分析及び管理する管理システム、管理方法及び管理プログラムに関する。
続きを表示(約 2,200 文字)
【背景技術】
【0002】
鉄道駅構内や列車内部における混雑の発生は、列車乗降時間の増加や、列車発着の遅延が生じる等、列車運行に大きな影響を与える可能性がある。そのため、鉄道輸送における混雑を避けるため、自動改札機から取得されたデータや、列車のダイヤデータ等の情報に基づいた統計的な手法により、旅客流動を予測するための手法がいくつか提案されている。
【0003】
例えば、特許文献1には、旅客の列車乗継経路の探索に用いる経路探索ネットワークにおいて、着/発ノードを乗客の着席/立席乗車に区別し、着席アークのコストを、対応する着席確率に応じて変更するとともに、駅間アークを、着席/立席乗車毎に対応する駅間の混雑率に応じて変更し、列車の乗降制御において、着席乗客の降車によって生じた空席に、先ずは立席乗客を着席させ、滞留旅客を駅での待ち時間(滞留時間)に応じて優先/一般滞留旅客に区分し、優先滞留旅客を優先的に着席乗客となるように、滞留旅客を乗車させる旅客流動シミュレーション装置について開示されている。
【先行技術文献】
【特許文献】
【0004】
特開2015-229459号公報
【発明の概要】
【発明が解決しようとする課題】
【0005】
しかしながら、上記従来の旅客流動シミュレーション装置では、単に滞留旅客を滞留時間に応じて列車への乗車割り当てを行っているため、例えば乗車券以外に特急券、座席指定券など通常の乗車賃に追加料金が必要な列車(有料列車)について乗車人数を適切に予測することが困難である。このため、有料列車を利用した旅客の実際の利用経路を特定することも困難であり、有料列車の利用状況の分析を適切に行うことが困難である。
【0006】
本発明の目的は、鉄道輸送における旅客の利用経路の予測結果の分析精度を向上させることが可能な管理システム、管理方法及び管理プログラムを提供することにある。
【課題を解決するための手段】
【0007】
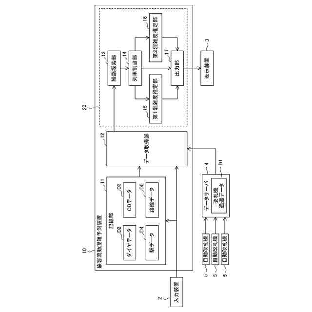
本発明の一の局面に係る管理システムは、経路探索部と列車割当部とデータ紐付部と表示処理部とを備える。前記経路探索部は、鉄道駅に設置された自動改札機から取得された旅客ごとの前記鉄道駅への入場時刻と前記鉄道駅からの出場時刻とを含む改札機通過データのうち、前記旅客が入場した入場駅における入場時刻及び前記旅客が出場した出場駅における出場時刻の少なくともいずれかと、現行列車の出発時刻と到着時刻とを含む現行列車のダイヤデータと、に基づいて経路候補を抽出する。前記列車割当部は、1人の前記旅客を複数の前記経路候補に割り当てる。前記データ紐付部は、複数の前記経路候補に特定列車の前記経路候補が含まれる場合に、前記特定列車の列車番号と乗車駅と降車駅とを含む販売実績データを前記改札機通過データに紐付ける。前記表示処理部は、前記販売実績データと前記改札機通過データとを紐付けた紐付けデータに基づいて、前記特定列車を利用した旅客に関する分析結果を表示させる。
【0008】
本発明の他の局面に係る管理方法は、鉄道駅に設置された自動改札機から取得された旅客ごとの前記鉄道駅への入場時刻と前記鉄道駅からの出場時刻とを含む改札機通過データのうち、前記旅客が入場した入場駅における入場時刻及び前記旅客が出場した出場駅における出場時刻の少なくともいずれかと、現行列車の出発時刻と到着時刻とを含む現行列車のダイヤデータと、に基づいて経路候補を抽出することと、1人の前記旅客を複数の前記経路候補に割り当てることと、複数の前記経路候補に特定列車の前記経路候補が含まれる場合に、前記特定列車の列車番号と乗車駅と降車駅とを含む販売実績データを前記改札機通過データに紐付けることと、前記販売実績データと前記改札機通過データとを紐付けた紐付けデータに基づいて、前記特定列車を利用した旅客に関する分析結果を表示させることと、を一又は複数のプロセッサーが実行する管理方法である。
【0009】
本発明の他の局面に係る管理プログラムは、鉄道駅に設置された自動改札機から取得された旅客ごとの前記鉄道駅への入場時刻と前記鉄道駅からの出場時刻とを含む改札機通過データのうち、前記旅客が入場した入場駅における入場時刻及び前記旅客が出場した出場駅における出場時刻の少なくともいずれかと、現行列車の出発時刻と到着時刻とを含む現行列車のダイヤデータと、に基づいて経路候補を抽出することと、1人の前記旅客を複数の前記経路候補に割り当てることと、複数の前記経路候補に特定列車の前記経路候補が含まれる場合に、前記特定列車の列車番号と乗車駅と降車駅とを含む販売実績データを前記改札機通過データに紐付けることと、前記販売実績データと前記改札機通過データとを紐付けた紐付けデータに基づいて、前記特定列車を利用した旅客に関する分析結果を表示させることと、を一又は複数のプロセッサーに実行させるための管理プログラムである。
【発明の効果】
【0010】
本発明によれば、鉄道輸送における旅客の利用経路の予測結果の分析精度を向上させることが可能な管理システム、管理方法及び管理プログラムを提示することができる。
【図面の簡単な説明】
(【0011】以降は省略されています)
この特許をJ-PlatPat(特許庁公式サイト)で参照する
関連特許
オムロン株式会社
パワーコンディショナ
10日前
オムロン株式会社
検出システム及び検出方法
10日前
オムロン株式会社
プローブピンおよびソケット
4日前
オムロン株式会社
サポート装置、サポート方法およびプログラム
10日前
オムロン株式会社
サポート装置、サポート方法およびプログラム
10日前
オムロン株式会社
変換装置、変換方法、および、変換プログラム
1か月前
オムロン株式会社
商品販売システム、情報表示方法、及びプログラム
3日前
オムロン株式会社
感震センサおよび地震検知方法、地震検知プログラム
1か月前
オムロン株式会社
施設情報提示システム、施設情報提示方法、及び施設情報提示プログラム
19日前
オムロン株式会社
シールバー及び熱シール装置
10日前
オムロン株式会社
シールバー及び熱シール装置
10日前
オムロン株式会社
制御装置、リーダライタ、および制御方法
1か月前
オムロン株式会社
情報処理装置、管理プログラム、および管理方法
20日前
個人
詐欺保険
1か月前
個人
縁伊達ポイン
1か月前
個人
5掛けポイント
1か月前
個人
職業自動販売機
24日前
個人
RFタグシート
1か月前
個人
ペルソナ認証方式
1か月前
個人
QRコードの彩色
1か月前
個人
情報処理装置
1か月前
個人
自動調理装置
1か月前
個人
立体グラフの利用方法
3日前
個人
残土処理システム
2か月前
個人
農作物用途分配システム
1か月前
個人
タッチパネル操作指代替具
1か月前
個人
サービス情報提供システム
26日前
個人
インターネットの利用構造
1か月前
個人
知的財産出願支援システム
2か月前
NISSHA株式会社
入力装置
4日前
個人
学習用データ生成装置
5日前
個人
スケジュール調整プログラム
1か月前
個人
携帯端末障害問合せシステム
1か月前
個人
エリアガイドナビAIシステム
1か月前
エッグス株式会社
情報処理装置
1か月前
キヤノン株式会社
情報処理装置
18日前
続きを見る
他の特許を見る