TOP
|
特許
|
意匠
|
商標
特許ウォッチ
Twitter
他の特許を見る
10個以上の画像は省略されています。
公開番号
2025163237
公報種別
公開特許公報(A)
公開日
2025-10-28
出願番号
2025132442,2021039769
出願日
2025-08-07,2021-03-12
発明の名称
制御装置、リーダライタ、および制御方法
出願人
オムロン株式会社
代理人
個人
主分類
G06K
7/10 20060101AFI20251021BHJP(計算;計数)
要約
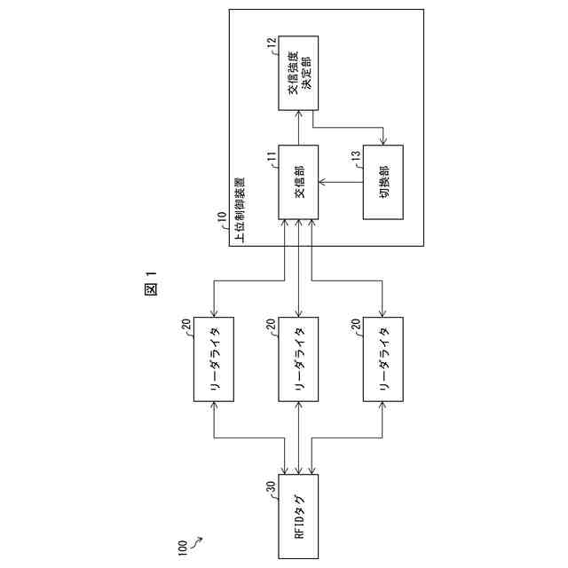
【課題】複数のリーダライタ(アンテナ)の交信領域間をまたいで移動するRFIDタグの位置を安定して特定できるシステムを実現する。
【解決手段】RFIDタグ(30)と交信を行う複数のリーダライタ(20)を制御する上位制御装置(10)であって、前記RFIDタグと各リーダライタとの交信強度を計測する交信強度決定部(12)と、データの交信の途中において、前記交信強度に応じて、前記RFIDタグと交信する前記リーダライタを切り換える切換部(13)と、を備える。
【選択図】図1
特許請求の範囲
【請求項1】
RFIDタグと交信を行う複数のリーダライタを制御する制御装置であって、
前記RFIDタグと各リーダライタとの交信強度を決定する交信強度決定部と、
前記RFIDタグとのデータの交信の途中において、前記交信強度に応じて、前記RFIDタグと前記データの交信をする前記リーダライタを切り換える切換部と、
前記交信強度から、前記RFIDタグと前記リーダライタとの距離を特定する距離特定部と、を備え、
前記切換部は、前記距離に応じて、前記RFIDタグと前記データの交信をする前記リーダライタを切り換える、制御装置。
続きを表示(約 1,700 文字)
【請求項2】
RFIDタグと交信を行う複数のリーダライタを制御する制御装置であって、
前記RFIDタグと各リーダライタとの交信強度を決定する交信強度決定部と、
前記RFIDタグとのデータの交信の途中において、前記交信強度に応じて、前記RFIDタグと前記データの交信をする前記リーダライタを切り換える切換部と、を備え、
前記交信強度決定部は、前記交信強度を計測する期間において、前記RFIDタグとデータの交信をしている当該リーダライタを含む所定の範囲に含まれる複数のリーダライタのみに関する前記交信強度を計測する、制御装置。
【請求項3】
RFIDタグと交信を行う複数のリーダライタを制御する制御装置であって、
前記RFIDタグと各リーダライタとの交信強度を決定する交信強度決定部と、
前記RFIDタグとのデータの交信の途中において、前記交信強度に応じて、前記RFIDタグと前記データの交信をする前記リーダライタを切り換える切換部と、を備え、
前記交信強度決定部は、前記RFIDタグが前記リーダライタから受信したときの第1受信強度から、前記交信強度を算出する、制御装置。
【請求項4】
前記切換部は、前記交信強度が最大となる前記リーダライタに切り換える請求項1から3のいずれか1項に記載の制御装置。
【請求項5】
前記切換部は、前記RFIDタグに対する前記交信強度が所定の値以上であるリーダライタが複数ある場合、前記複数のリーダライタが交信しているRFIDタグの数の差を小さくするように前記リーダライタを切り換える請求項1から3のいずれか1項に記載の制御装置。
【請求項6】
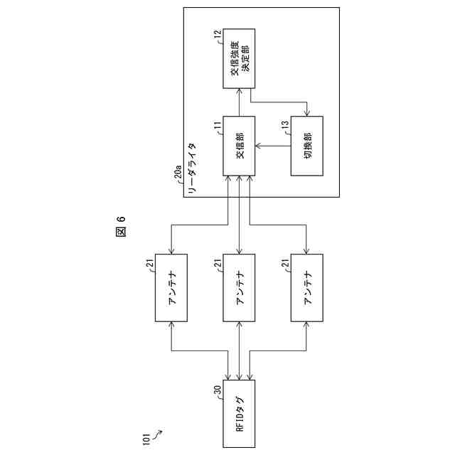
RFIDタグと交信を行う複数のアンテナが接続されたリーダライタであって、
前記RFIDタグと各アンテナとの交信強度を決定する交信強度決定部と、
前記RFIDタグとのデータの交信の途中において、前記交信強度に応じて、前記RFIDタグとデータの交信をする前記アンテナを切り換える切換部と、を備えるリーダライタ。
【請求項7】
RFIDタグと交信を行う複数のリーダライタを制御する制御方法であって、
前記RFIDタグと各リーダライタとの交信強度を決定する交信強度決定ステップと、
前記RFIDタグとのデータの交信の途中において、前記交信強度に応じて、前記RFIDタグとデータの交信をする前記リーダライタを切り換える切換ステップと、
前記交信強度から、前記RFIDタグと前記リーダライタとの距離を特定する距離特定ステップと、を含み、
前記切換ステップでは、前記距離に応じて、前記RFIDタグと前記データの交信をする前記リーダライタを切り換える、を含む制御方法。
【請求項8】
RFIDタグと交信を行う複数のリーダライタを制御する制御方法であって、
前記RFIDタグと各リーダライタとの交信強度を決定する交信強度決定ステップと、
前記RFIDタグとのデータの交信の途中において、前記交信強度に応じて、前記RFIDタグとデータの交信をする前記リーダライタを切り換える切換ステップと、を含み、
前記交信強度決定ステップでは、前記交信強度を計測する期間において、前記RFIDタグとデータの交信をしている当該リーダライタを含む所定の範囲に含まれる複数のリーダライタのみに関する前記交信強度を計測する、制御方法。
【請求項9】
RFIDタグと交信を行う複数のリーダライタを制御する制御方法であって、
前記RFIDタグと各リーダライタとの交信強度を決定する交信強度決定ステップと、
前記RFIDタグとのデータの交信の途中において、前記交信強度に応じて、前記RFIDタグとデータの交信をする前記リーダライタを切り換える切換ステップと、を含み、
前記交信強度決定ステップでは、前記RFIDタグが前記リーダライタから受信したときの第1受信強度から、前記交信強度を算出する、制御方法。
発明の詳細な説明
【技術分野】
【0001】
本発明は、移動するRFIDタグと交信を行うリーダライタに関する。
続きを表示(約 1,400 文字)
【背景技術】
【0002】
生産現場では、生産品の所在を特定する必要がある。例えば、自動車の生産現場では、生産完了後の手直しが必要な車両と、出荷を待機する車両とを区別し、どこにあるかを特定する必要がある。手直しが必要な車両と、出荷を待機する車両との配置位置がわからないことには、出荷の計画が正確に立てられない。また、自動車の配置位置を特定する作業者の工数が膨大になっている。
【0003】
そこで、特許文献1には、UHF(Ultra-High Frequency)帯のRFID(Radio Frequency Identifier)を用いたシステムによって、生産現場(作業現場)の生産品(物品)の位置を特定する技術が開示されている。
【先行技術文献】
【特許文献】
【0004】
特開2014-078211号公報
【発明の概要】
【発明が解決しようとする課題】
【0005】
しかしながら、RFIDタグが自動車に付される場合では、対象とする生産品が自走できる移動体であるため、各アンテナの検出領域をまたいで生産品が移動し、RFIDタグとの交信が不安定になり、また、位置の特定も困難である。RFIDタグが移動しているため、別のRFIDタグと交信している間に、当該RFIDタグが移動していた場合、一時的にRFIDタグを見失う事態も発生することがある。
【0006】
また、複数のアンテナの交信領域にオーバラップしているエリアが存在するために、当該エリアで生産品が検出されることがある。また、電波反射・フェージングなどによって、意図しないエリアにあるRFIDタグが意図しないアンテナから検出されることもある。そのため、複数のアンテナで同一のRFIDタグが検出された場合、どのアンテナで通信を行うべきか、すなわち、どの交信領域にRFIDタグがあるかを特定し、RFIDタグの位置を特定することが困難である。
【0007】
本発明の一態様は、複数のリーダライタ(アンテナ)の交信領域間をまたいで移動するRFIDタグと安定して交信できるシステムを実現することを目的とする。
【課題を解決するための手段】
【0008】
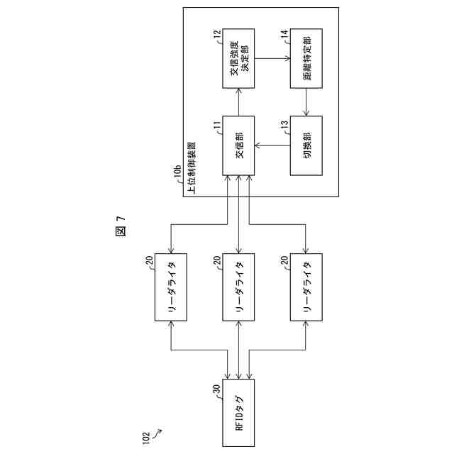
上記の課題を解決するために、本発明の一態様に係る制御装置は、RFIDタグと交信を行う複数のリーダライタを制御する制御装置であって、前記RFIDタグと各リーダライタとの交信強度を決定する交信強度決定部と、前記RFIDタグとのデータの交信の途中において、前記交信強度に応じて、前記RFIDタグと前記データの交信をする前記リーダライタを切り換える切換部と、を備える。
【0009】
上記の構成によれば、交信強度を決定(特定)した上で、その都度、適したリーダライタに動的に切り換えていくことができる。そのため、RFIDタグが移動体に付されていても、安定して交信することができ、リーダライタの物理配置から、当該移動体の位置を特定することができる。
【0010】
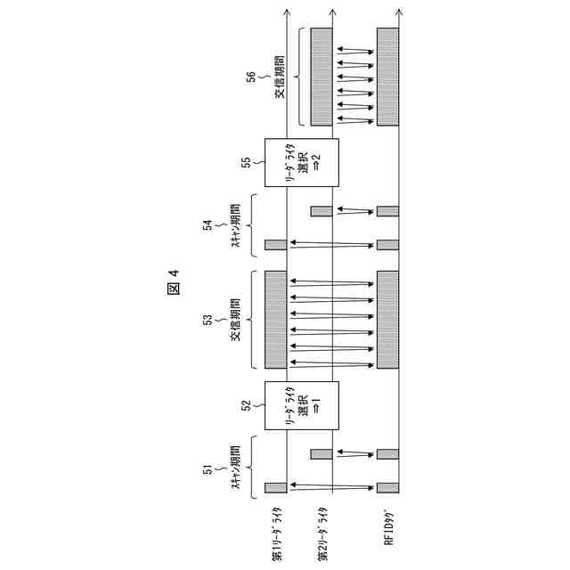
前記制御装置は、前記交信強度を計測する期間であるスキャン期間と、前記RFIDタグとデータの交信をする期間である交信期間とを、時分割で制御してもよい。
(【0011】以降は省略されています)
この特許をJ-PlatPat(特許庁公式サイト)で参照する
関連特許
オムロン株式会社
センサシステム
1か月前
オムロン株式会社
センサシステム
1か月前
オムロン株式会社
サーボドライバ
1か月前
オムロン株式会社
発光エンブレム
1か月前
オムロン株式会社
センサシステム
1か月前
オムロン株式会社
システム及び方法
1か月前
オムロン株式会社
システム及び方法
1か月前
オムロン株式会社
パワーコンディショナ
1日前
オムロン株式会社
検出システム及び検出方法
1日前
オムロン株式会社
監視装置、監視方法及びプログラム
1か月前
オムロン株式会社
制御装置、制御方法、及び制御プログラム
1か月前
オムロン株式会社
管理システム、管理方法及び管理プログラム
1か月前
オムロン株式会社
画像処理装置、画像処理方法及びプログラム
1か月前
オムロン株式会社
処理装置、処理方法、および処理プログラム
1か月前
オムロン株式会社
処理装置、処理方法、および処理プログラム
1か月前
オムロン株式会社
サポート装置、サポート方法およびプログラム
1日前
オムロン株式会社
変換装置、変換方法、および、変換プログラム
22日前
オムロン株式会社
サポート装置、サポート方法およびプログラム
1日前
オムロン株式会社
モデル生成方法、推論プログラム及び推論装置
1か月前
オムロン株式会社
感震センサおよび地震検知方法、地震検知プログラム
1か月前
オムロン株式会社
情報処理装置、情報処理方法及び情報処理プログラム
1か月前
オムロン株式会社
感震センサおよび地震検知方法、地震検知プログラム
1か月前
オムロン株式会社
感震センサおよび地震検知方法、地震検知プログラム
1か月前
オムロン株式会社
感震センサおよび地震検知方法、地震検知プログラム
1か月前
オムロン株式会社
物体検出装置、物体検出方法、および制御プログラム
1か月前
オムロン株式会社
感震センサおよび地震検知方法、地震検知プログラム
1か月前
オムロン株式会社
情報処理装置、情報処理方法及び情報処理プログラム
1か月前
オムロン株式会社
オドメトリパラメータ較正装置、方法、及びプログラム
1か月前
オムロン株式会社
表示制御装置、表示制御方法および表示制御プログラム
1か月前
オムロン株式会社
混雑制御システム、混雑制御方法及び混雑制御プログラム
1か月前
オムロン株式会社
信頼度マップ作成方法、自己位置決定方法、装置、及びプログラム
1か月前
オムロン株式会社
分析支援装置、分析支援方法、分析支援プログラムおよび分析支援端末
1か月前
オムロン株式会社
施設情報提示システム、施設情報提示方法、及び施設情報提示プログラム
10日前
オムロン株式会社
シールバー及び熱シール装置
1日前
オムロン株式会社
シールバー及び熱シール装置
1日前
オムロン株式会社
旅客流動混雑予測装置、旅客流動混雑予測方法及び旅客流動混雑予測プログラム
1か月前
続きを見る
他の特許を見る