TOP
|
特許
|
意匠
|
商標
特許ウォッチ
Twitter
他の特許を見る
10個以上の画像は省略されています。
公開番号
2025161665
公報種別
公開特許公報(A)
公開日
2025-10-24
出願番号
2024065039
出願日
2024-04-12
発明の名称
旅客流動混雑予測装置、旅客流動混雑予測方法及び旅客流動混雑予測プログラム
出願人
オムロン株式会社
代理人
個人
,
個人
,
個人
主分類
B61L
27/00 20220101AFI20251017BHJP(鉄道)
要約
【課題】鉄道輸送における旅客の流動の予測結果の精度を向上させることが可能な旅客流動混雑予測装置、旅客流動混雑予測方法及び旅客流動混雑予測プログラムを提供する。
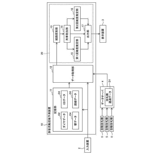
【解決手段】経路探索部13は、自動改札機5から取得された改札機通過データD1のうち、旅客が入場した入場駅における入場時刻及び旅客が出場した出場駅における出場時刻の少なくともいずれかと、現行列車のダイヤデータD2と、に基づいて経路候補を抽出する。列車割当部14は、改札機通過データD1及び現行列車のダイヤデータD2に基づいて割当指数を算出し、割当指数に応じて1人の旅客を複数の経路候補に割り当てる。列車割当部14は、複数の経路候補に乗換駅を経由する複数の乗換経路候補が含まれる場合に、1人の旅客を、複数の乗換経路候補のうち所定の条件に応じて抽出した一又は複数の乗換経路候補に割り当てる。
【選択図】図1
特許請求の範囲
【請求項1】
鉄道輸送における旅客の流動の予測を行う旅客流動混雑予測装置であって、
鉄道駅に設置された自動改札機から取得された前記旅客ごとの前記鉄道駅への入場時刻と前記鉄道駅からの出場時刻とを含む改札機通過データのうち、前記旅客が入場した入場駅における入場時刻及び前記旅客が出場した出場駅における出場時刻の少なくともいずれかと、現行列車の出発時刻と到着時刻とを含む現行列車のダイヤデータと、に基づいて経路候補を抽出する経路探索部と、
前記改札機通過データ及び前記現行列車のダイヤデータに基づいて割当指数を算出し、前記割当指数に応じて、1人の前記旅客を複数の前記経路候補に割り当てる列車割当部と、
を備え、
前記列車割当部は、複数の前記経路候補に乗換駅を経由する複数の乗換経路候補が含まれる場合に、1人の前記旅客を、前記複数の乗換経路候補のうち所定の条件に応じて抽出した一又は複数の乗換経路候補に割り当てる、旅客流動混雑予測装置。
続きを表示(約 1,000 文字)
【請求項2】
前記列車割当部は、前記複数の乗換経路候補のそれぞれに前記所定の条件に応じた重みを設定し、設定した重みに基づいて抽出した一又は複数の乗換経路候補に1人の前記旅客を割り当てる、
請求項1に記載の旅客流動混雑予測装置。
【請求項3】
前記列車割当部は、前記複数の乗換経路候補のそれぞれに、前記乗換駅における乗換時間の長さに応じた重みを設定する、
請求項2に記載の旅客流動混雑予測装置。
【請求項4】
前記列車割当部は、前記乗換時間が短いほど前記重みを小さい値に設定し、前記重みが最小となる前記乗換経路候補に1人の前記旅客を割り当てる、
請求項3に記載の旅客流動混雑予測装置。
【請求項5】
前記列車割当部は、前記複数の乗換経路候補のそれぞれに、前記入場駅及び前記出場駅に対する前記乗換駅の位置関係に応じた重みを設定する、
請求項2に記載の旅客流動混雑予測装置。
【請求項6】
前記列車割当部は、前記乗換駅が前記入場駅に近いほど前記重みを小さい値に設定し、前記重みが最小となる前記乗換経路候補に1人の前記旅客を割り当てる、
請求項5に記載の旅客流動混雑予測装置。
【請求項7】
前記列車割当部は、前記乗換駅が前記出場駅に近いほど前記重みを小さい値に設定し、前記重みが最小となる前記乗換経路候補に1人の前記旅客を割り当てる、
請求項5に記載の旅客流動混雑予測装置。
【請求項8】
前記列車割当部は、前記複数の乗換経路候補のそれぞれに、前記乗換駅に関する駅情報に応じた重みを設定する、
請求項2に記載の旅客流動混雑予測装置。
【請求項9】
前記列車割当部は、前記乗換駅の前記駅情報に基づいて前記乗換駅における乗り換え易さを評価し、乗り換えがし易いほど前記重みを小さい値に設定し、前記重みが最小となる前記乗換経路候補に1人の前記旅客を割り当てる、
請求項8に記載の旅客流動混雑予測装置。
【請求項10】
前記列車割当部は、前記割当指数に応じて、複数の前記経路候補と、前記重みに基づいて抽出した複数の前記乗換経路候補とに1人の前記旅客を割り当て、さらに、複数の前記乗換経路候補に割り当てた人数を、前記重みに応じて、複数の前記乗換経路候補のそれぞれに割り当てる、
請求項2~9のいずれかに記載の旅客流動混雑予測装置。
(【請求項11】以降は省略されています)
発明の詳細な説明
【技術分野】
【0001】
本発明は、鉄道輸送における旅客の流動の予測を行う旅客流動混雑予測装置、旅客流動混雑予測方法及び旅客流動混雑予測プログラムに関する。
続きを表示(約 2,400 文字)
【背景技術】
【0002】
鉄道駅構内や列車内部における混雑の発生は、列車乗降時間の増加や、列車発着の遅延が生じる等、列車運行に大きな影響を与える可能性がある。そのため、鉄道輸送における混雑を避けるため、自動改札機から取得されたデータや、列車のダイヤデータ等の情報に基づいた統計的な手法により、旅客流動を予測するための手法がいくつか提案されている。
【0003】
例えば、特許文献1には、旅客の列車乗継経路の探索に用いる経路探索ネットワークにおいて、着/発ノードを乗客の着席/立席乗車に区別し、着席アークのコストを、対応する着席確率に応じて変更するとともに、駅間アークを、着席/立席乗車毎に対応する駅間の混雑率に応じて変更し、列車の乗降制御において、着席乗客の降車によって生じた空席に、先ずは立席乗客を着席させ、滞留旅客を駅での待ち時間(滞留時間)に応じて優先/一般滞留旅客に区分し、優先滞留旅客を優先的に着席乗客となるように、滞留旅客を乗車させる旅客流動シミュレーション装置について開示されている。
【先行技術文献】
【特許文献】
【0004】
特開2015-229459号公報
【発明の概要】
【発明が解決しようとする課題】
【0005】
ここで、例えば入場駅から出場駅までの間に複数の乗換可能な乗換駅が存在する場合には、乗換時間が最短となる乗換駅で乗り換えたものとして当該乗換駅を経由する一つの経路候補に旅客を割り当てる方法が考えられる。しかし、乗換駅を一律に決定する手法では、旅客の実際の乗換駅の利用状況から乖離してしまい、混雑予測の精度が低下する問題が生じる。
【0006】
本発明の目的は、鉄道輸送における旅客の流動の予測結果の精度を向上させることが可能な旅客流動混雑予測装置、旅客流動混雑予測方法及び旅客流動混雑予測プログラムを提供することにある。
【課題を解決するための手段】
【0007】
本発明の一の局面に係る旅客流動混雑予測装置は、鉄道輸送における旅客の流動の予測を行う旅客流動混雑予測装置である。前記旅客流動混雑予測装置は、経路探索部と列車割当部とを備える。前記経路探索部は、鉄道駅に設置された自動改札機から取得された前記旅客ごとの前記鉄道駅への入場時刻と前記鉄道駅からの出場時刻とを含む改札機通過データのうち、前記旅客が入場した入場駅における入場時刻及び前記旅客が出場した出場駅における出場時刻の少なくともいずれかと、現行列車の出発時刻と到着時刻とを含む現行列車のダイヤデータと、に基づいて経路候補を抽出する。前記列車割当部は、前記改札機通過データ及び前記現行列車のダイヤデータに基づいて割当指数を算出し、前記割当指数に応じて、1人の前記旅客を複数の前記経路候補に割り当てる。また、前記列車割当部は、前記列車割当部は、複数の前記経路候補に乗換駅を経由する複数の乗換経路候補が含まれる場合に、1人の前記旅客を、前記複数の乗換経路候補のうち所定の条件に応じて抽出した一又は複数の乗換経路候補に割り当てる。
【0008】
本発明の他の局面に係る旅客流動混雑予測方法は、鉄道輸送における旅客の流動の予測を行う旅客流動混雑予測方法である。前記旅客流動混雑予測方法は、鉄道駅に設置された自動改札機から取得された前記旅客ごとの前記鉄道駅への入場時刻と前記鉄道駅からの出場時刻とを含む改札機通過データのうち、前記旅客が入場した入場駅における入場時刻及び前記旅客が出場した出場駅における出場時刻の少なくともいずれかと、現行列車の出発時刻と到着時刻とを含む現行列車のダイヤデータと、に基づいて経路候補を抽出することと、前記改札機通過データ及び前記現行列車のダイヤデータに基づいて割当指数を算出し、前記旅客を前記割当指数に応じて、1人の前記旅客を複数の前記経路候補に割り当てることと、複数の前記経路候補に乗換駅を経由する複数の乗換経路候補が含まれる場合に、1人の前記旅客を、前記複数の乗換経路候補のうち所定の条件に応じて抽出した一又は複数の乗換経路候補に割り当てることと、を一又は複数のプロセッサーが実行する旅客流動混雑予測方法である。
【0009】
本発明の他の局面に係る旅客流動混雑予測プログラムは、鉄道輸送における旅客の流動の予測を行う旅客流動混雑予測プログラムである。前記旅客流動混雑予測プログラムは、鉄道駅に設置された自動改札機から取得された前記旅客ごとの前記鉄道駅への入場時刻と前記鉄道駅からの出場時刻とを含む改札機通過データのうち、前記旅客が入場した入場駅における入場時刻及び前記旅客が出場した出場駅における出場時刻の少なくともいずれかと、現行列車の出発時刻と到着時刻とを含む現行列車のダイヤデータと、に基づいて経路候補を抽出することと、前記改札機通過データ及び前記現行列車のダイヤデータに基づいて割当指数を算出し、前記旅客を前記割当指数に応じて、1人の前記旅客を複数の前記経路候補に割り当てることと、複数の前記経路候補に乗換駅を経由する複数の乗換経路候補が含まれる場合に、1人の前記旅客を、前記複数の乗換経路候補のうち所定の条件に応じて抽出した一又は複数の乗換経路候補に割り当てることと、を一又は複数のプロセッサーに実行させるための旅客流動混雑予測プログラムである。
【発明の効果】
【0010】
本発明によれば、鉄道輸送における旅客の流動の予測結果の精度を向上させることが可能な旅客流動混雑予測装置、旅客流動混雑予測方法及び旅客流動混雑予測プログラムを提示することができる。
【図面の簡単な説明】
(【0011】以降は省略されています)
この特許をJ-PlatPat(特許庁公式サイト)で参照する
関連特許
オムロン株式会社
電磁継電器
1か月前
オムロン株式会社
センサシステム
26日前
オムロン株式会社
サーボドライバ
1か月前
オムロン株式会社
発光エンブレム
1か月前
オムロン株式会社
センサシステム
26日前
オムロン株式会社
センサシステム
26日前
オムロン株式会社
システム及び方法
26日前
オムロン株式会社
システム及び方法
26日前
オムロン株式会社
パワーコンディショナ
1か月前
オムロン株式会社
電力システム及び制御装置
1か月前
オムロン株式会社
監視装置、監視方法及びプログラム
1か月前
オムロン株式会社
情報処理システムおよび情報処理方法
1か月前
オムロン株式会社
制御装置、制御方法、及び制御プログラム
1か月前
オムロン株式会社
処理装置、処理方法、および処理プログラム
1か月前
オムロン株式会社
処理装置、処理方法、および処理プログラム
1か月前
オムロン株式会社
管理システム、管理方法及び管理プログラム
1か月前
オムロン株式会社
画像処理装置、画像処理方法及びプログラム
1か月前
オムロン株式会社
モデル生成方法、推論プログラム及び推論装置
1か月前
オムロン株式会社
変換装置、変換方法、および、変換プログラム
16日前
オムロン株式会社
制御装置、情報処理方法および情報処理プログラム
1か月前
オムロン株式会社
感震センサおよび地震検知方法、地震検知プログラム
27日前
オムロン株式会社
情報処理装置、情報処理方法及び情報処理プログラム
26日前
オムロン株式会社
感震センサおよび地震検知方法、地震検知プログラム
1か月前
オムロン株式会社
感震センサおよび地震検知方法、地震検知プログラム
26日前
オムロン株式会社
情報処理装置、情報処理方法及び情報処理プログラム
26日前
オムロン株式会社
感震センサおよび地震検知方法、地震検知プログラム
26日前
オムロン株式会社
感震センサおよび地震検知方法、地震検知プログラム
26日前
オムロン株式会社
物体検出装置、物体検出方法、および制御プログラム
1か月前
オムロン株式会社
雨滴検出装置、雨滴検出方法および雨滴検出プログラム
1か月前
オムロン株式会社
走行制御装置、走行制御方法、及び走行制御プログラム
1か月前
オムロン株式会社
オドメトリパラメータ較正装置、方法、及びプログラム
1か月前
オムロン株式会社
表示制御装置、表示制御方法および表示制御プログラム
1か月前
オムロン株式会社
設計支援方法、設計支援装置、プログラム、及び記録媒体
1か月前
オムロン株式会社
混雑制御システム、混雑制御方法及び混雑制御プログラム
27日前
オムロン株式会社
信頼度マップ作成方法、自己位置決定方法、装置、及びプログラム
1か月前
オムロン株式会社
入出場管理システム、入出場管理方法、及び入出場管理プログラム
1か月前
続きを見る
他の特許を見る