TOP
|
特許
|
意匠
|
商標
特許ウォッチ
Twitter
他の特許を見る
10個以上の画像は省略されています。
公開番号
2025143670
公報種別
公開特許公報(A)
公開日
2025-10-02
出願番号
2024043016
出願日
2024-03-19
発明の名称
雨滴検出装置、雨滴検出方法および雨滴検出プログラム
出願人
オムロン株式会社
代理人
個人
主分類
G01N
21/59 20060101AFI20250925BHJP(測定;試験)
要約
【課題】外乱光の影響を抑制して、高精度な雨滴の検出を行うことが可能な雨滴検出装置、雨滴検出方法および雨滴検出プログラムを提供する。
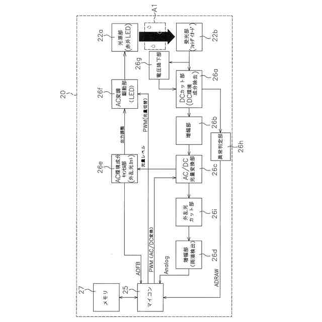
【解決手段】雨滴検出装置20は、筐体部21、開口部21a、光源部22a、受光部22b、電圧降下部26g、マイコン25を備える。受光部22bは、筐体部21における光源部22aに対向する位置に配置されており、光源部22aから照射された光を受光して、光の受光量を電圧値に変換する。電圧降下部26gは、受光部22bにおいて変換された電圧値が所定の閾値を超えると、電圧値を所定の電圧値以下になるまで低下させる。マイコン25(雨滴検出部25a)は、受光部22bにおいて変換された電圧値の変化に応じて、光源部22aと受光部22bとの間を通過した雨滴を検出するとともに、電圧値が所定の閾値を超えた場合には電圧降下部26gにおいて低下させた電圧値を用いて雨滴を検出する。
【選択図】図6
特許請求の範囲
【請求項1】
筒状の外周面と天井面とを有する筐体部と、
前記筐体部の前記天井面に形成された開口部と、
前記筐体部に設けられており、前記開口部を通過する雨滴に向かって光を照射する光源部と、
前記筐体部における前記光源部に対向する位置に配置されており、前記光源部から照射された光を受光して、前記光の受光量を電圧値に変換する受光部と、
前記受光部において変換された前記電圧値が所定の閾値を超えると前記電圧値を低下させる電圧降下部と、
前記受光部において変換された前記電圧値の変化に応じて、前記光源部と前記受光部との間を通過した雨滴を検出するとともに、前記電圧値が所定の閾値を超えた場合には前記電圧降下部において低下させた電圧値を用いて雨滴を検出する雨滴検出部と、
を備えている雨滴検出装置。
続きを表示(約 1,400 文字)
【請求項2】
前記電圧降下部は、前記閾値を超える電圧値が大きくなるほど、低下させる電圧値を大きくする、
請求項1に記載の雨滴検出装置。
【請求項3】
前記電圧値が所定の閾値を超えた際に、前記電圧降下部において前記電圧値が所定の電圧値以下まで低下しない場合に、異常発生と判定する異常判定部を、さらに備えている、
請求項1または2に記載の雨滴検出装置。
【請求項4】
前記雨滴の検出による光量の変化に対応する第1周波数帯と、外乱要因による光量の変化に対応する第2周波数帯とのうち、前記第2周波数帯に対応する外乱要因による光量の変化をカットする第1外乱要因処理部を、さらに備えている、
請求項1または2に記載の雨滴検出装置。
【請求項5】
前記電圧降下部において電圧値を低下させてカットされた前記外乱要因による光量変化のうち、カットしきれなかった光量の変化をカットする処理を行う第2外乱要因処理部を、をさらに備えている、
請求項4に記載の雨滴検出装置。
【請求項6】
前記開口部から入射する太陽光が前記受光部に入射しないように遮蔽する遮蔽構造を、さらに備えている、
請求項1または2に記載の雨滴検出装置。
【請求項7】
筒状の外周面と天井面とを有する筐体部と、
前記筐体部の前記天井面に形成された開口部と、
前記筐体部に設けられており、前記開口部を通過する雨滴に向かって光を照射する光源部と、
前記筐体部における前記光源部に対向する位置に配置されており、前記光源部から照射された光を受光して、前記光の受光量を電圧値に変換する受光部と、
を備えた雨滴検出装置の雨滴検出方法であって、
前記受光部において変換された前記電圧値が所定の閾値を超えると、前記電圧値を所定の電圧値以下になるまで低下させる電圧降下ステップと、
前記受光部において変換された前記電圧値の変化に応じて、前記光源部と前記受光部との間を通過した雨滴を検出するとともに、前記電圧値が所定の閾値を超えた場合には前記電圧降下ステップにおいて低下させた電圧値を用いて雨滴を検出する雨滴検出ステップと、
を備えている雨滴検出方法。
【請求項8】
筒状の外周面と天井面とを有する筐体部と、
前記筐体部の前記天井面に形成された開口部と、
前記筐体部に設けられており、前記開口部を通過する雨滴に向かって光を照射する光源部と、
前記筐体部における前記光源部に対向する位置に配置されており、前記光源部から照射された光を受光して、前記光の受光量を電圧値に変換する受光部と、
を備えた雨滴検出装置の雨滴検出プログラムであって、
前記受光部において変換された前記電圧値が所定の閾値を超えると、前記電圧値を所定の電圧値以下になるまで低下させる電圧降下ステップと、
前記受光部において変換された前記電圧値の変化に応じて、前記光源部と前記受光部との間を通過した雨滴を検出するとともに、前記電圧値が所定の閾値を超えた場合には前記電圧降下ステップにおいて低下させた電圧値を用いて雨滴を検出する雨滴検出ステップと、
を備えている雨滴検出方法をコンピュータに実行させる雨滴検出プログラム。
発明の詳細な説明
【技術分野】
【0001】
本発明は、雨滴を検出して雨量を算出する雨滴検出装置、雨滴検出方法および雨滴検出プログラムに関する。
続きを表示(約 2,000 文字)
【背景技術】
【0002】
近年、屋外に設置され、雨滴を検出して雨量の測定を行う雨量センサが用いられている。
例えば、特許文献1には、投光部と、受光部と、演算部とを備えており、ワイパ払拭制御中に、レインセンサの信号が閾値を超える回数を雨量として一定時間カウントし、カウント値に応じてワイパの間欠動作と連続動作との切り換えを行うレインセンサについて開示されている。
【先行技術文献】
【特許文献】
【0003】
特開2018-159580号公報
【発明の概要】
【発明が解決しようとする課題】
【0004】
しかしながら、上記従来のレインセンサでは、以下に示すような問題点を有している。
すなわち、上記公報に開示されたレインセンサでは、雨量を一定時間におけるカウント値でしか把握していないため、より正確な雨量の情報を把握することは難しく、実際の雨量の変化に応じてワイパの払拭制御を行うことは困難であった。
特に、受光部が太陽光等の自然光や自動車のヘッドライト等の人工光を受光した場合には、投光部から出射された光以外の外乱光の影響によって、雨滴検出時の電圧の変化を示す振幅が小さくなってしまうおそれがあり、高精度な雨量の検出を行うことは困難であった。
【0005】
本発明の課題は、外乱光の影響を抑制して高精度な雨滴の検出を行うことが可能な雨滴検出装置、雨滴検出方法および雨滴検出プログラムを提供することにある。
【課題を解決するための手段】
【0006】
第1の発明に係る雨滴検出装置は、筐体部と、開口部と、光源部と、受光部と、電圧変換部と、電圧降下部と、雨滴検出部と、を備えている。筐体部は、筒状の外周面と天井面と、を有する。開口部は、筐体部の天井面に形成されている。光源部は、筐体部に設けられており、開口部を通過する雨滴に向かって光を照射する。受光部は、筐体部における光源部に対向する位置に配置されており、光源部から照射された光を受光する。電圧変換部は、受光部において受光した光の受光量を電圧値に変換する。電圧降下部は、電圧変換部において変換された電圧値が所定の閾値を超えると、電圧値を低下させる。雨滴検出部は、電圧変換部において変換された電圧値の変化に応じて、光源部と受光部との間を通過した雨滴を検出するとともに、電圧値が所定の閾値を超えた場合には電圧降下部において低下させた電圧値を用いて雨滴を検出する。
【0007】
ここでは、例えば、雨滴検出装置の雨滴が通過する筐体部の開口部へ、自然光、人工光(自動車のライト、懐中電灯等)等の外乱光が侵入して受光部において受光する光の量が変化して雨滴の検出精度が低下することを抑制するために、受光量から変換された電圧値が所定の閾値を超えている場合には、電圧値を低下させて、雨滴検知を行う。
ここで、光源部は、例えば、LED(Light Emitting Diode)であって、所定の間隔をあけて対向配置された受光部に対して所定の方向へ光を照射する。
【0008】
受光部は、例えば、フォトダイオードであって、光源部から照射された光を受光して、電圧値として出力する。
雨滴の検出とは、例えば、雨滴の直径、雨滴1粒の体積、単位時間当たりの雨量、雨滴の速度等の検出が含まれる。
雨滴検出精度を低下させる外乱光には、例えば、太陽光等の自然光、自動車のヘッドライトや懐中電灯、屋外の電灯等の人工光等が含まれる。
【0009】
電圧降下部は、例えば、所定の電圧値を超える高電圧がかかると電圧を低下させるトランジスタを含む電気回路であって、所定の閾値を超えた電圧を逃がすことで、雨滴検出部へ送られる電圧値を降下させる。
これにより、外乱光の影響を受けて受光部における受光量が大きく変動した場合でも、受光量を変換した電圧値が所定の閾値を超えると、雨滴検出に影響がない範囲まで外乱光による増加分の電圧を低下させた上で、雨滴の検出を行うことができる。
この結果、外乱光の影響を抑制して高精度な雨滴の検出を行うことができる。
【0010】
第2の発明に係る雨滴検出装置は、第1の発明に係る雨滴検出装置であって、電圧降下部は、閾値を超える電圧値が大きくなるほど、低下させる電圧値を大きくする。
これにより、例えば、トランジスタを含む電気回路(電圧降下部)において、閾値を超える電圧値が大きいほど、低下させる電圧値を大きくすることで、低下させる電圧値を大きくして、雨滴検出精度への影響を最小限にすることができる。
(【0011】以降は省略されています)
この特許をJ-PlatPat(特許庁公式サイト)で参照する
関連特許
オムロン株式会社
電磁継電器
1か月前
オムロン株式会社
センサシステム
24日前
オムロン株式会社
サーボドライバ
1か月前
オムロン株式会社
発光エンブレム
1か月前
オムロン株式会社
センサシステム
24日前
オムロン株式会社
センサシステム
24日前
オムロン株式会社
システム及び方法
24日前
オムロン株式会社
システム及び方法
24日前
オムロン株式会社
パワーコンディショナ
1か月前
オムロン株式会社
電力システム及び制御装置
1か月前
オムロン株式会社
監視装置、監視方法及びプログラム
28日前
オムロン株式会社
情報処理システムおよび情報処理方法
1か月前
オムロン株式会社
制御装置、制御方法、及び制御プログラム
1か月前
オムロン株式会社
処理装置、処理方法、および処理プログラム
1か月前
オムロン株式会社
処理装置、処理方法、および処理プログラム
1か月前
オムロン株式会社
管理システム、管理方法及び管理プログラム
28日前
オムロン株式会社
画像処理装置、画像処理方法及びプログラム
1か月前
オムロン株式会社
モデル生成方法、推論プログラム及び推論装置
1か月前
オムロン株式会社
変換装置、変換方法、および、変換プログラム
14日前
オムロン株式会社
制御装置、情報処理方法および情報処理プログラム
1か月前
オムロン株式会社
感震センサおよび地震検知方法、地震検知プログラム
25日前
オムロン株式会社
情報処理装置、情報処理方法及び情報処理プログラム
24日前
オムロン株式会社
感震センサおよび地震検知方法、地震検知プログラム
1か月前
オムロン株式会社
感震センサおよび地震検知方法、地震検知プログラム
24日前
オムロン株式会社
情報処理装置、情報処理方法及び情報処理プログラム
24日前
オムロン株式会社
感震センサおよび地震検知方法、地震検知プログラム
24日前
オムロン株式会社
感震センサおよび地震検知方法、地震検知プログラム
24日前
オムロン株式会社
物体検出装置、物体検出方法、および制御プログラム
1か月前
オムロン株式会社
雨滴検出装置、雨滴検出方法および雨滴検出プログラム
1か月前
オムロン株式会社
走行制御装置、走行制御方法、及び走行制御プログラム
1か月前
オムロン株式会社
オドメトリパラメータ較正装置、方法、及びプログラム
1か月前
オムロン株式会社
表示制御装置、表示制御方法および表示制御プログラム
1か月前
オムロン株式会社
設計支援方法、設計支援装置、プログラム、及び記録媒体
1か月前
オムロン株式会社
混雑制御システム、混雑制御方法及び混雑制御プログラム
25日前
オムロン株式会社
信頼度マップ作成方法、自己位置決定方法、装置、及びプログラム
1か月前
オムロン株式会社
入出場管理システム、入出場管理方法、及び入出場管理プログラム
1か月前
続きを見る
他の特許を見る