TOP
|
特許
|
意匠
|
商標
特許ウォッチ
Twitter
他の特許を見る
10個以上の画像は省略されています。
公開番号
2025152515
公報種別
公開特許公報(A)
公開日
2025-10-10
出願番号
2024054427
出願日
2024-03-28
発明の名称
情報処理システムおよび情報処理方法
出願人
オムロン株式会社
代理人
弁理士法人深見特許事務所
主分類
G05B
23/02 20060101AFI20251002BHJP(制御;調整)
要約
【課題】複数のノードを含む構成であっても、生成されるデータの時刻をより正確に管理できるソリューションを提供する。
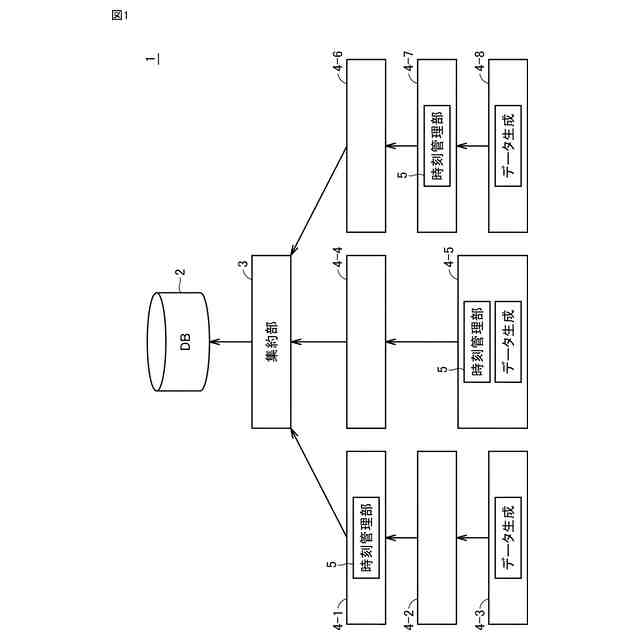
【解決手段】情報処理システムは、データベースと、複数のノードとを含む。複数のノードの少なくとも一部は、データベースに格納されるデータを生成するように構成される。情報処理システムは、データベースに格納されるデータを集約する集約部を含む。複数のノードの少なくとも一部は、時刻を管理する時刻管理部を含む。データベースに格納されるデータの各々には、各データを生成するノードからデータベースまでの経路に存在する時刻管理部によりタイムスタンプが付与される。集約部は、各データに付与されたタイムスタンプに基づいて、データを集約する。
【選択図】図1
特許請求の範囲
【請求項1】
データベースと、
複数のノードとを備え、前記複数のノードの少なくとも一部は、前記データベースに格納されるデータを生成するように構成されており、
前記データベースに格納されるデータを集約する集約部を備え、
前記複数のノードの少なくとも一部は、時刻を管理する時刻管理部を含み、
前記データベースに格納されるデータの各々には、各データを生成するノードから前記データベースまでの経路に存在する時刻管理部によりタイムスタンプが付与され、
前記集約部は、各データに付与されたタイムスタンプに基づいて、データを集約する、情報処理システム。
続きを表示(約 840 文字)
【請求項2】
データベースに格納されるデータ毎にタイムスタンプを付与するノードを決定する決定部をさらに備える、請求項1に記載の情報処理システム。
【請求項3】
前記複数のノードの少なくとも一部に含まれる時刻管理部のうちの少なくとも一部は、互いに同期している、請求項1に記載の情報処理システム。
【請求項4】
データを生成するノードから当該データにタイムスタンプを付与する時刻管理部までの遅延時間に応じて、当該付与されるタイムスタンプの値が補正される、請求項1に記載の情報処理システム。
【請求項5】
前記データベースに格納されるデータの少なくとも一部には、各データを生成するノードから当該データにタイムスタンプを付与する時刻管理部までの経路に応じて、オフセットが設定される、請求項1~4のいずれか1項に記載の情報処理システム。
【請求項6】
前記データベースは、タイムスタンプと、1または複数のデータとを含む通信フレームを受信する、請求項1~4のいずれか1項に記載の情報処理システム。
【請求項7】
前記集約部は、タイムスタンプをキーにして、複数のデータを集約する、請求項1~4のいずれか1項に記載の情報処理システム。
【請求項8】
前記時刻管理部の状態を管理する管理部をさらに備える、請求項1~4のいずれか1項に記載の情報処理システム。
【請求項9】
前記管理部は、前記時刻管理部の時刻源を示す情報と、前記時刻源の精度を示す情報とを管理する、請求項8に記載の情報処理システム。
【請求項10】
前記複数のノードのうち第1のノードは、記録開始トリガに応じて、前記データベースに格納すべきデータの期間を算出するとともに、当該算出した期間を他のノードに送信する、請求項1~4のいずれか1項に記載の情報処理システム。
(【請求項11】以降は省略されています)
発明の詳細な説明
【技術分野】
【0001】
本発明は、情報処理システムおよび情報処理方法に関する。
続きを表示(約 1,100 文字)
【背景技術】
【0002】
産業オートメーションシステムにおいて、何らかの異常の原因究明を行う場合などには、1つのデータではなく、複数のデータを統合して確認する必要がある。
【0003】
特許文献1(特開2022-180157号公報)は、ログ検出部またはログライターがタイムスタンプをログに付加することで、セキュア通信ログとイベントログの両者を共通の時間軸で収集する構成を開示する。
【先行技術文献】
【特許文献】
【0004】
特開2022-180157号公報
【発明の概要】
【発明が解決しようとする課題】
【0005】
産業オートメーションシステムは、センサおよびアクチュエータといったノードを複数含むことが多い。
【0006】
本発明は、複数のノードを含む構成であっても、生成されるデータの時刻をより正確に管理できるソリューションを提供することを一つの目的とする。
【課題を解決するための手段】
【0007】
本発明の実施の形態に従う情報処理システムは、データベースと、複数のノードとを含む。複数のノードの少なくとも一部は、データベースに格納されるデータを生成するように構成されている。情報処理システムは、データベースに格納されるデータを集約する集約部を含む。複数のノードの少なくとも一部は、時刻を管理する時刻管理部を含む。データベースに格納されるデータの各々には、各データを生成するノードからデータベースまでの経路に存在する時刻管理部によりタイムスタンプが付与される。集約部は、各データに付与されたタイムスタンプに基づいて、データを集約する。
【0008】
この構成によれば、ノードが生成するデータに対して、当該ノードからデータベースまでの経路においてタイムスタンプが付与される。タイムスタンプが付与されたデータが集約された上でデータベースに格納されるので、データベースに格納されたデータが効率的に利活用される。
【0009】
情報処理システムは、データベースに格納されるデータ毎にタイムスタンプを付与するノードを決定する決定部をさらに含んでもよい。この構成によれば、データを生成するノードの位置関係などに応じて、タイムスタンプを付与するノードが適切に決定される。
【0010】
複数のノードの少なくとも一部に含まれる時刻管理部のうちの少なくとも一部は、互いに同期してもよい。この構成によれば、時刻管理部同士の同期によって、情報処理システム内での時刻の精度が高められる。
(【0011】以降は省略されています)
この特許をJ-PlatPat(特許庁公式サイト)で参照する
関連特許
オムロン株式会社
電磁継電器
28日前
オムロン株式会社
発光エンブレム
20日前
オムロン株式会社
センサシステム
9日前
オムロン株式会社
サーボドライバ
20日前
オムロン株式会社
センサシステム
9日前
オムロン株式会社
センサシステム
9日前
オムロン株式会社
システム及び方法
9日前
オムロン株式会社
システム及び方法
9日前
オムロン株式会社
監視装置、監視方法及びプログラム
13日前
オムロン株式会社
情報処理システムおよび情報処理方法
27日前
オムロン株式会社
制御装置、制御方法、及び制御プログラム
27日前
オムロン株式会社
画像処理装置、画像処理方法及びプログラム
27日前
オムロン株式会社
処理装置、処理方法、および処理プログラム
23日前
オムロン株式会社
処理装置、処理方法、および処理プログラム
23日前
オムロン株式会社
管理システム、管理方法及び管理プログラム
13日前
オムロン株式会社
モデル生成方法、推論プログラム及び推論装置
20日前
オムロン株式会社
制御装置、情報処理方法および情報処理プログラム
27日前
オムロン株式会社
物体検出装置、物体検出方法、および制御プログラム
20日前
オムロン株式会社
感震センサおよび地震検知方法、地震検知プログラム
15日前
オムロン株式会社
感震センサおよび地震検知方法、地震検知プログラム
9日前
オムロン株式会社
感震センサおよび地震検知方法、地震検知プログラム
10日前
オムロン株式会社
情報処理装置、情報処理方法及び情報処理プログラム
9日前
オムロン株式会社
感震センサおよび地震検知方法、地震検知プログラム
9日前
オムロン株式会社
情報処理装置、情報処理方法及び情報処理プログラム
9日前
オムロン株式会社
感震センサおよび地震検知方法、地震検知プログラム
9日前
オムロン株式会社
表示制御装置、表示制御方法および表示制御プログラム
22日前
オムロン株式会社
オドメトリパラメータ較正装置、方法、及びプログラム
27日前
オムロン株式会社
混雑制御システム、混雑制御方法及び混雑制御プログラム
10日前
オムロン株式会社
設計支援方法、設計支援装置、プログラム、及び記録媒体
28日前
オムロン株式会社
入出場管理システム、入出場管理方法、及び入出場管理プログラム
28日前
オムロン株式会社
信頼度マップ作成方法、自己位置決定方法、装置、及びプログラム
27日前
オムロン株式会社
分析支援装置、分析支援方法、分析支援プログラムおよび分析支援端末
27日前
オムロン株式会社
チケット管理システム、チケット管理方法、及びチケット管理プログラム
28日前
オムロン株式会社
外観検査システム、外観検査装置、外観検査装置の制御方法及びプログラム
28日前
オムロン株式会社
旅客流動混雑予測装置、旅客流動混雑予測方法及び旅客流動混雑予測プログラム
13日前
オムロン株式会社
ロボット制御装置、代表物体情報生成装置、操作情報付与装置、方法、及びプログラム
27日前
続きを見る
他の特許を見る