TOP
|
特許
|
意匠
|
商標
特許ウォッチ
Twitter
他の特許を見る
10個以上の画像は省略されています。
公開番号
2025141020
公報種別
公開特許公報(A)
公開日
2025-09-29
出願番号
2024040733
出願日
2024-03-15
発明の名称
IOターミナル
出願人
オムロン株式会社
代理人
弁理士法人深見特許事務所
主分類
G05B
19/05 20060101AFI20250919BHJP(制御;調整)
要約
【課題】IOターミナルを用いて入力機器または出力機器が当該IOターミナルに適切に接続されていることを検査可能にする。
【解決手段】IOターミナルは、入力機器を接続可能な入力ポートであって、当該入力機器からの入力信号を受付ける1つ以上の入力ポートと、出力機器を接続可能な出力ポートであって、当該出力機器へ出力信号を送信する複数の出力ポートと、IOターミナルに対するユーザ操作を受付ける操作受付部と、複数のプログラムを記憶するための記憶部と、ユーザ操作に従って、記憶部の複数のプログラムのうちの1のプログラムを有効化する有効化部と、を備える。
【選択図】図1
特許請求の範囲
【請求項1】
IOターミナルであって、
コントローラが属するネットワークを接続するネットワークインターフェイスと、
入力機器を接続可能な入力ポートであって、当該入力機器からの入力信号を受付ける1つ以上の入力ポートと、
出力機器を接続可能な出力ポートであって、当該出力機器へ出力信号を送信する複数の出力ポートと、
前記IOターミナルに対するユーザ操作を受付ける操作受付部と、
複数のプログラムを記憶するための記憶部と、
前記ユーザ操作に従って、前記記憶部の前記複数のプログラムのうちの1のプログラムを有効化する有効化部と、を備え、
前記記憶部の前記複数のプログラムは、
1の入力機器から受付けた入力信号の値に応じて1つ以上の出力機器それぞれについて、当該出力機器を動作させるための出力信号の値を変更するロジックを含む第1プログラムと、前記第1プログラムとは異なる第2プログラムとを、含む、IOターミナル。
続きを表示(約 1,100 文字)
【請求項2】
各前記1つ以上の入力ポートにおける前記入力信号の信号入力状態と、各前記複数の出力ポートにおける前記出力信号の信号出力状態とを報知する報知部をさらに備える、請求項1に記載のIOターミナル。
【請求項3】
前記IOターミナルは、
第1ランプと第2ランプとをさらに備え、
前記報知部は、前記入力ポートにおける前記信号入力状態に応じて前記第1ランプの点灯態様を変更し、前記出力ポートにおける前記信号出力状態に応じて前記第2ランプの点灯態様を変更する、請求項2に記載のIOターミナル。
【請求項4】
前記IOターミナルは、
筐体と、
前記筐体の表面に配置され、各前記1つ以上の入力ポートについて当該入力ポートに前記入力機器に繋がるケーブルを接続するための第1コネクタと、
前記筐体の表面に配置され、各前記複数の出力ポートについて当該出力ポートに前記出力機器に繋がるケーブルを接続するための第2コネクタと、をさらに備え、
前記第1ランプは、前記筐体の表面において前記第1コネクタに近接して配置され、
前記第2ランプは、前記筐体の表面において前記第2コネクタに近接して配置される、請求項3に記載のIOターミナル。
【請求項5】
前記記憶部は、前記1の入力機器の入力信号の属性に応じて前記ロジックが異なる複数の前記第1プログラムを記憶する、請求項1から4のいずれかに記載のIOターミナル。
【請求項6】
前記記憶部は、書換え不可能領域を有し、
前記第1プログラムは、前記書換え不可能領域に記憶される、請求項1から4のいずれかに記載のIOターミナル。
【請求項7】
前記記憶部は、書換え可能領域を有し、
前記第1プログラムは、前記書換え可能領域に記憶される、請求項1から4のいずれかに記載のIOターミナル。
【請求項8】
前記IOターミナルは、前記書換え可能領域において前記第1プログラムを変更または削除する、請求項1から4のいずれかに記載のIOターミナル。
【請求項9】
前記操作受付部は、ユーザ操作が可能に構成された機械スイッチを含む、請求項1から4のいずれかに記載のIOターミナル。
【請求項10】
前記第2プログラムは、前記コントローラと通信する制御信号に従って1つ以上の出力機器それぞれについて、当該出力機器を動作させるための出力信号の値を決定するプログラムを含む、請求項1から4のいずれかに記載のIOターミナル。
発明の詳細な説明
【技術分野】
【0001】
本開示は、IOターミナルに関する。
続きを表示(約 1,600 文字)
【背景技術】
【0002】
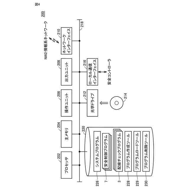
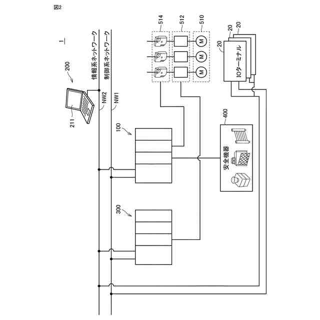
多くの生産現場で使用される機械や設備は、国際規格に従う安全機器(安全コンポーネント)を使用しなければならばない。この安全機器は、ロボットなどの自動的に動く装置によって人の安全が脅かされることの防止を目的としている。このような安全機器には、安全コントローラとIOターミナルが含まれる。安全コントローラは、IOターミナルに接続される機器、例えば人の存在や侵入を検知する検知機器、非常時の操作を受付ける入力機器、実際に機器を停止させる出力機器などを、IOターミナルを介し遠隔制御する。
【0003】
このような安全機器に関し、特開2008-310534号公報(特許文献1)は、ロジック演算プログラムを実行可能な安全リモートI/Oターミナルを記載する。
【0004】
特開2008-310536号公報(特許文献2)は、安全リモートI/Oターミナル装置がユーザにより任意に設定された安全制御用ロジック演算を実施する構成を記載する。
【0005】
特開2014-98985号公報(特許文献3)は、安全スレーブユニットが、安全コントローラとの通信が確立したか否かの判定と、当該安全スレーブユニットに接続される機器からの入力信号に基づいた異常の有無の判定とに基づいて、安全コントローラにおけるユーザプログラムの実行を制御する構成を記載する。
【0006】
特開2021-152480号公報(特許文献4)は、マスタ装置と通信するスレーブ装置の表面パネル上に配置された情報表示ランプを記載する。
【先行技術文献】
【特許文献】
【0007】
特開2008-310534号公報
特開2008-310536号公報
特開2014-98985号公報
特開2021-152480号公報
【発明の概要】
【発明が解決しようとする課題】
【0008】
FA(Factory Automation)の機器を使用する際、ユーザはIOターミナルを入力機器と出力機器に接続するための配線作業を専門業者に依頼し、配線作業完了後のIOターミナルがユーザから納入された後に、IOターミナルを上位のコントローラなどと組み合わせてコントローラが設計通り動作するかを検査する、いわゆるデバッグが実施される。この検査においてIOターミナルに入力機器または出力機器が誤って接続されていることに起因したバグが検出されると、ユーザは組み合わせ検査を中断して配線作業をやり直さなければならず、手戻り作業が生じていた。したがって、ユーザからは、例えば配線作業時に、入力機器または出力機器が当該IOターミナルに適切に接続されていることを検査したいとの要望があった。このような要望は、安全機器に関する安全リモートIOターミナルについても存在していた。しかし、上記に述べた特許文献1~4は、当該要望に応える構成を記載していない。
【0009】
この開示は、IOターミナルを用いて入力機器または出力機器が当該IOターミナルに適切に接続されていることを検査できる技術を提供することを1つの目的とする。
【課題を解決するための手段】
【0010】
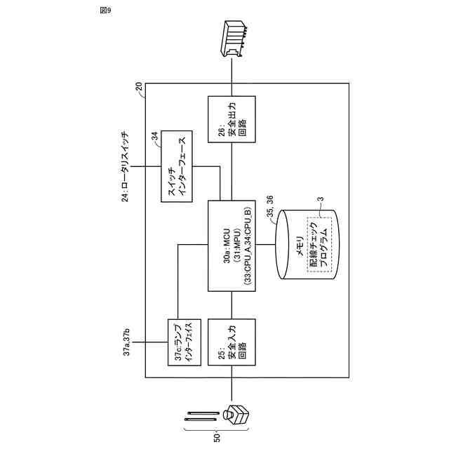
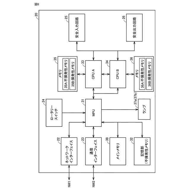
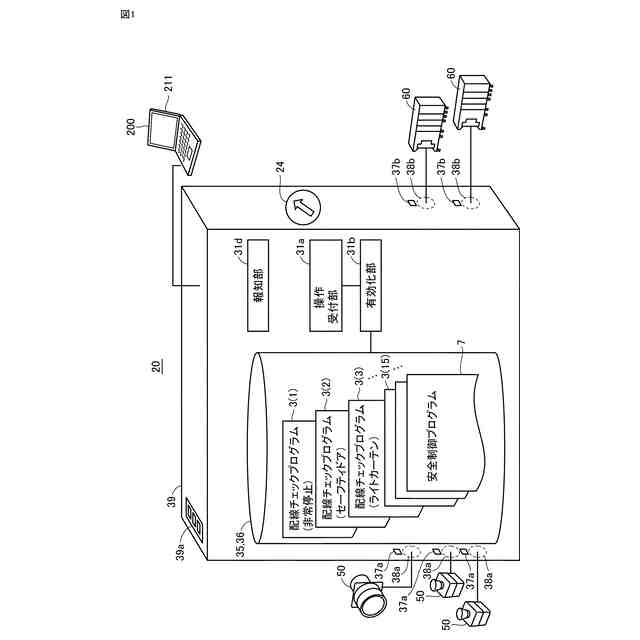
本開示に係るIOターミナルは、コントローラが属するネットワークを接続するネットワークインターフェイスと、入力機器を接続可能な入力ポートであって、当該入力機器からの入力信号を受付ける1つ以上の入力ポートと、出力機器を接続可能な出力ポートであって、当該出力機器へ出力信号を送信する複数の出力ポートと、IOターミナルに対するユーザ操作を受付ける操作受付部と、複数のプログラムを記憶するための記憶部と、ユーザ操作に従って、記憶部の複数のプログラムのうちの1のプログラムを有効化する有効化部と、を備える。
(【0011】以降は省略されています)
この特許をJ-PlatPat(特許庁公式サイト)で参照する
関連特許
オムロン株式会社
電磁継電器
1か月前
オムロン株式会社
センサシステム
23日前
オムロン株式会社
センサシステム
23日前
オムロン株式会社
サーボドライバ
1か月前
オムロン株式会社
センサシステム
23日前
オムロン株式会社
発光エンブレム
1か月前
オムロン株式会社
システム及び方法
23日前
オムロン株式会社
システム及び方法
23日前
オムロン株式会社
電力システム及び制御装置
1か月前
オムロン株式会社
監視装置、監視方法及びプログラム
27日前
オムロン株式会社
情報処理システムおよび情報処理方法
1か月前
オムロン株式会社
制御装置、制御方法、及び制御プログラム
1か月前
オムロン株式会社
管理システム、管理方法及び管理プログラム
27日前
オムロン株式会社
画像処理装置、画像処理方法及びプログラム
1か月前
オムロン株式会社
処理装置、処理方法、および処理プログラム
1か月前
オムロン株式会社
処理装置、処理方法、および処理プログラム
1か月前
オムロン株式会社
モデル生成方法、推論プログラム及び推論装置
1か月前
オムロン株式会社
変換装置、変換方法、および、変換プログラム
13日前
オムロン株式会社
制御装置、情報処理方法および情報処理プログラム
1か月前
オムロン株式会社
感震センサおよび地震検知方法、地震検知プログラム
23日前
オムロン株式会社
感震センサおよび地震検知方法、地震検知プログラム
23日前
オムロン株式会社
感震センサおよび地震検知方法、地震検知プログラム
23日前
オムロン株式会社
感震センサおよび地震検知方法、地震検知プログラム
24日前
オムロン株式会社
情報処理装置、情報処理方法及び情報処理プログラム
23日前
オムロン株式会社
物体検出装置、物体検出方法、および制御プログラム
1か月前
オムロン株式会社
情報処理装置、情報処理方法及び情報処理プログラム
23日前
オムロン株式会社
感震センサおよび地震検知方法、地震検知プログラム
29日前
オムロン株式会社
表示制御装置、表示制御方法および表示制御プログラム
1か月前
オムロン株式会社
オドメトリパラメータ較正装置、方法、及びプログラム
1か月前
オムロン株式会社
設計支援方法、設計支援装置、プログラム、及び記録媒体
1か月前
オムロン株式会社
混雑制御システム、混雑制御方法及び混雑制御プログラム
24日前
オムロン株式会社
入出場管理システム、入出場管理方法、及び入出場管理プログラム
1か月前
オムロン株式会社
信頼度マップ作成方法、自己位置決定方法、装置、及びプログラム
1か月前
オムロン株式会社
分析支援装置、分析支援方法、分析支援プログラムおよび分析支援端末
1か月前
オムロン株式会社
チケット管理システム、チケット管理方法、及びチケット管理プログラム
1か月前
オムロン株式会社
施設情報提示システム、施設情報提示方法、及び施設情報提示プログラム
1日前
続きを見る
他の特許を見る