TOP
|
特許
|
意匠
|
商標
特許ウォッチ
Twitter
他の特許を見る
10個以上の画像は省略されています。
公開番号
2025162797
公報種別
公開特許公報(A)
公開日
2025-10-28
出願番号
2024066221
出願日
2024-04-16
発明の名称
センサシステム
出願人
オムロン株式会社
代理人
個人
,
個人
,
個人
主分類
G08C
15/06 20060101AFI20251021BHJP(信号)
要約
【課題】複数のセンサユニットでの測定データを適切に伝達可能なセンサシステムを提供することである。
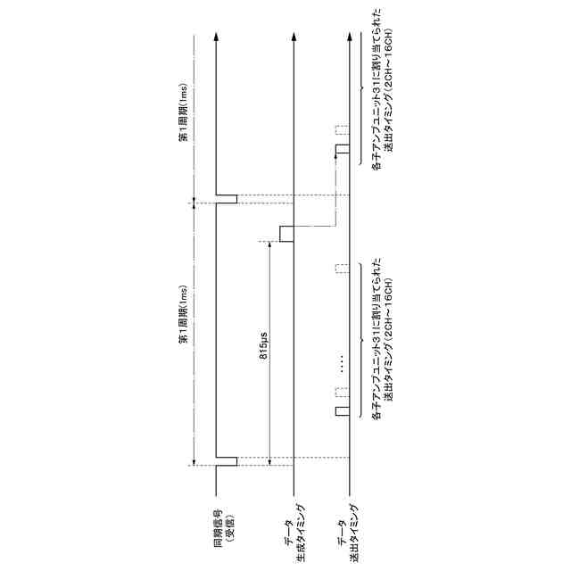
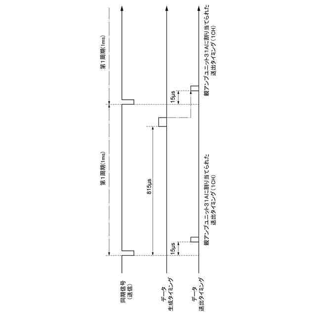
【解決手段】センサシステム1は、複数のセンサユニット30と通信ユニット20と、を備え、複数のセンサユニット30は、第1周期を有する同期信号に基づいて、複数のセンサユニット30の送信タイミングが異なるように、センサユニット固有の送信タイミングを決定し、第2周期に基づいて繰り返し測定するとともに、当該繰り返し測定することにより得られる測定値のうち、第1周期を有する同期信号に基づいたタイミングでの測定値をメモリに格納し、センサユニット固有の送信タイミングが到来したら、メモリに格納されている測定値を読み出して、通信ユニット20に送出する。
【選択図】図3
特許請求の範囲
【請求項1】
複数のセンサユニットと、前記複数のセンサユニットに信号伝達可能に接続され、各々のセンサユニットから受信した情報を情報処理装置又は制御装置に向けて送信する通信ユニットと、を備えるセンサシステムであって、
前記複数のセンサユニットは、
第1周期を有する同期信号に基づいて、前記複数のセンサユニットの送信タイミングが異なるように、センサユニット固有の送信タイミングを決定し、
第2周期に基づいて繰り返し測定するとともに、当該繰り返し測定することにより得られる測定値のうち、前記第1周期を有する同期信号に基づいたタイミングでの測定値をメモリに格納し、
前記センサユニット固有の送信タイミングが到来したら、前記メモリに格納されている測定値を読み出して、前記通信ユニットに送出する、
センサシステム。
続きを表示(約 880 文字)
【請求項2】
前記複数のセンサユニット及び前記通信ユニットは、シリアル通信を用いて信号を送受信する、
請求項1に記載のセンサシステム。
【請求項3】
前記複数のセンサユニットは、
一列に連結されており、
各センサユニット固有の識別情報を認識し、
前記識別情報に基づいてセンサユニット固有の送信タイミングを決定する、
請求項1に記載のセンサシステム。
【請求項4】
前記複数のセンサユニットは、
他のセンサユニットと通信する第1通信手段と、
前記通信ユニットと通信する第2通信手段と、を含み、
前記複数のセンサユニット各々は、
前記第1通信手段を用いて前記複数のセンサユニットの連結状態と前記複数のセンサユニットのうち自己のユニット位置を認識して、当該認識した情報をメモリに格納し、
前記ユニット位置に基づいてセンサユニット固有の送信タイミングを決定し、
前記センサユニット固有の送信タイミングに基づいて、前記第2通信手段を用いて、前記メモリに格納されている測定値を前記通信ユニットに送出する、
請求項3に記載のセンサシステム。
【請求項5】
前記複数のセンサユニット及び前記通信ユニットのうち少なくとも1つは、
自身の前記メモリに格納されている前記連結状態及びユニット位置と、他のセンサユニットの前記メモリに格納されている前記連結状態及びユニット位置とを検証し、
前記検証結果に矛盾がない場合に、前記連結状態及びユニット位置を確定する、
請求項4に記載のセンサシステム。
【請求項6】
前記複数のセンサユニットそれぞれにおいて前記測定値を含むデータを送受信するための第1通信期間と、前記通信ユニットから前記複数のセンサユニットに対するコマンドを送信するための前記複数のセンサユニット共通の第2通信期間とが割り当てられている、
請求項1に記載のセンサシステム。
発明の詳細な説明
【技術分野】
【0001】
本発明は、センサシステムに関する。
続きを表示(約 1,400 文字)
【背景技術】
【0002】
従来、複数のセンサユニットで構成されるセンサシステムが普及している。複数のアンプユニットと、それらにそれぞれ対応するセンサヘッドとで構成される複数のセンサユニットで構成されるセンサシステムでは、各センサユニットによって取得された測定データに基づいて対象物の状態を監視している。
【0003】
例えば、特許文献1では、通信速度を向上させるために、各センサユニットは、同期信号を起点としてセンサユニット毎に定められる待機時間が経過してから通信装置に検出情報を送信するセンサシステムに関する技術が開示されている。
【0004】
また、特許文献2では、同一種別間での相互干渉を防止するために、各センサユニットは、同期信号を起点として、各々の識別番号に応じて定められる遅延時間が経過してから動作するように構成されたセンサシステムに関する技術が開示されている。
【先行技術文献】
【特許文献】
【0005】
特開2014-96036号公報
特開2014-96697号公報
【発明の概要】
【発明が解決しようとする課題】
【0006】
ところで、上記のようなセンサシステムでは、より高精度な測定及び状態監視を行う上で、複数のセンサユニットで測定された各測定データを適切に処理することが重要となる。
【0007】
そこで、本発明は、複数のセンサユニットでの測定データを適切に伝達可能なセンサシステムを提供することを目的とする。
【課題を解決するための手段】
【0008】
本発明の一態様に係るセンサシステムは、複数のセンサユニットと、複数のセンサユニットに信号伝達可能に接続され、各々のセンサユニットから受信した情報を情報処理装置又は制御装置に向けて送信する通信ユニットと、を備えるセンサシステムであって、複数のセンサユニットは、第1周期を有する同期信号に基づいて、複数のセンサユニットの送信タイミングが異なるように、センサユニット固有の送信タイミングを決定し、第2周期に基づいて繰り返し測定するとともに、当該繰り返し測定することにより得られる測定値のうち、第1周期を有する同期信号に基づいたタイミングでの測定値をメモリに格納し、センサユニット固有の送信タイミングが到来したら、メモリに格納されている測定値を読み出して、通信ユニットに送出する。
【0009】
この態様によれば、複数のセンサユニットは、第1周期を有する同期信号に基づいて、複数のセンサユニットの送信タイミングが異なるように、センサユニット固有の送信タイミングを決定し、繰り返し測定することにより得られる測定値のうち、第1周期を有する同期信号に基づいたタイミングでの測定値をメモリに格納し、センサユニット固有の送信タイミングが到来したら、メモリに格納されている測定値を読み出して、通信ユニットに送出する。これにより、複数のセンサユニットによって、適切なタイミングでの測定値がそれぞれセンサユニット固有の送信タイミングで送出されるため、当該測定値を適切に通信ユニットに伝達することができる。
【0010】
上記態様において、複数のセンサユニット及び通信ユニットは、シリアル通信を用いて信号を送受信してもよい。
(【0011】以降は省略されています)
この特許をJ-PlatPat(特許庁公式サイト)で参照する
関連特許
オムロン株式会社
電磁継電器
1か月前
オムロン株式会社
センサシステム
25日前
オムロン株式会社
サーボドライバ
1か月前
オムロン株式会社
発光エンブレム
1か月前
オムロン株式会社
センサシステム
25日前
オムロン株式会社
センサシステム
25日前
オムロン株式会社
システム及び方法
25日前
オムロン株式会社
システム及び方法
25日前
オムロン株式会社
パワーコンディショナ
1か月前
オムロン株式会社
電力システム及び制御装置
1か月前
オムロン株式会社
監視装置、監視方法及びプログラム
29日前
オムロン株式会社
情報処理システムおよび情報処理方法
1か月前
オムロン株式会社
制御装置、制御方法、及び制御プログラム
1か月前
オムロン株式会社
処理装置、処理方法、および処理プログラム
1か月前
オムロン株式会社
処理装置、処理方法、および処理プログラム
1か月前
オムロン株式会社
管理システム、管理方法及び管理プログラム
29日前
オムロン株式会社
画像処理装置、画像処理方法及びプログラム
1か月前
オムロン株式会社
モデル生成方法、推論プログラム及び推論装置
1か月前
オムロン株式会社
変換装置、変換方法、および、変換プログラム
15日前
オムロン株式会社
制御装置、情報処理方法および情報処理プログラム
1か月前
オムロン株式会社
感震センサおよび地震検知方法、地震検知プログラム
26日前
オムロン株式会社
情報処理装置、情報処理方法及び情報処理プログラム
25日前
オムロン株式会社
感震センサおよび地震検知方法、地震検知プログラム
1か月前
オムロン株式会社
感震センサおよび地震検知方法、地震検知プログラム
25日前
オムロン株式会社
情報処理装置、情報処理方法及び情報処理プログラム
25日前
オムロン株式会社
感震センサおよび地震検知方法、地震検知プログラム
25日前
オムロン株式会社
感震センサおよび地震検知方法、地震検知プログラム
25日前
オムロン株式会社
物体検出装置、物体検出方法、および制御プログラム
1か月前
オムロン株式会社
雨滴検出装置、雨滴検出方法および雨滴検出プログラム
1か月前
オムロン株式会社
走行制御装置、走行制御方法、及び走行制御プログラム
1か月前
オムロン株式会社
オドメトリパラメータ較正装置、方法、及びプログラム
1か月前
オムロン株式会社
表示制御装置、表示制御方法および表示制御プログラム
1か月前
オムロン株式会社
設計支援方法、設計支援装置、プログラム、及び記録媒体
1か月前
オムロン株式会社
混雑制御システム、混雑制御方法及び混雑制御プログラム
26日前
オムロン株式会社
信頼度マップ作成方法、自己位置決定方法、装置、及びプログラム
1か月前
オムロン株式会社
入出場管理システム、入出場管理方法、及び入出場管理プログラム
1か月前
続きを見る
他の特許を見る