TOP
|
特許
|
意匠
|
商標
特許ウォッチ
Twitter
他の特許を見る
10個以上の画像は省略されています。
公開番号
2025140964
公報種別
公開特許公報(A)
公開日
2025-09-29
出願番号
2024040640
出願日
2024-03-15
発明の名称
安全IOターミナルおよび安全システム
出願人
オムロン株式会社
代理人
弁理士法人深見特許事務所
主分類
G05B
9/02 20060101AFI20250919BHJP(制御;調整)
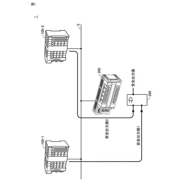
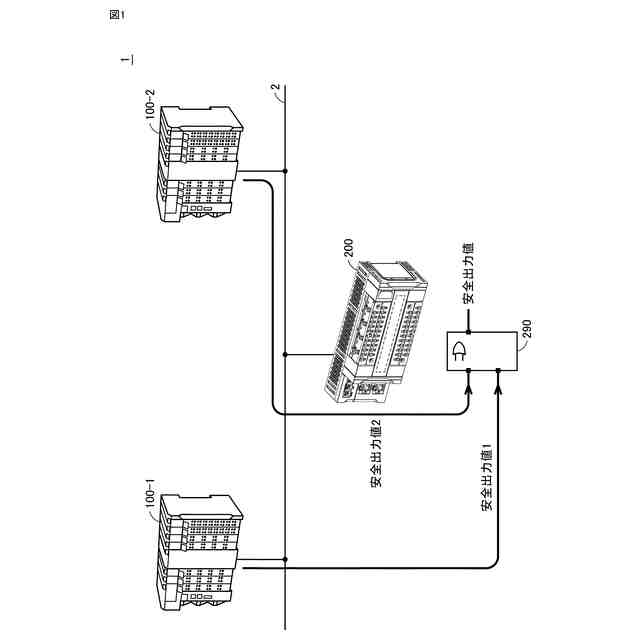
要約
【課題】複数の安全コントローラからのデータに基づいた安全制御が可能な安全IOターミナルおよび当該安全IOターミナルを含む安全システムを提供する。
【解決手段】安全IOターミナルは、安全出力信号を出力する安全出力回路と、1または複数の安全コントローラと安全コネクションを確立可能な安全通信部と、安全通信部が受信するデータを安全コネクション別に格納するための、複数の個別エリアを含む受信データ格納部と、複数の個別エリアに格納される任意のデータを用いて安全出力信号の値を決定する安全ロジック実行部とを含む。複数の個別エリアの各々は、安全IOターミナルと安全コネクションを確立する安全コントローラを特定するための識別情報が関連付けられるように構成される。
【選択図】図1
特許請求の範囲
【請求項1】
安全IOターミナルであって、
安全出力信号を出力する安全出力回路と、
1または複数の安全コントローラと安全コネクションを確立可能な安全通信部と、
前記安全通信部が受信するデータを安全コネクション別に格納するための、複数の個別エリアを含む受信データ格納部と、
前記複数の個別エリアに格納される任意のデータを用いて安全出力信号の値を決定する安全ロジック実行部とを備え、
前記複数の個別エリアの各々は、前記安全IOターミナルと安全コネクションを確立する安全コントローラを特定するための識別情報が関連付けられるように構成される、安全IOターミナル。
続きを表示(約 1,200 文字)
【請求項2】
前記1または複数の安全コントローラの各々は、安全コネクションを確立するために、当該安全コントローラの識別情報および使用する個別エリアの指定とを含む要求を前記安全IOターミナルに送信する、請求項1に記載の安全IOターミナル。
【請求項3】
前記安全通信部は、前記要求により指定される個別エリアに何らの識別情報も関連付けられていなければ、前記要求に含まれる識別情報を当該個別エリアに関連付ける、請求項2に記載の安全IOターミナル。
【請求項4】
前記安全通信部は、前記要求により指定される個別エリアに関連付けられている識別情報が前記要求に含まれる識別情報と一致すれば、前記要求に従って安全コネクションを確立する、請求項2に記載の安全IOターミナル。
【請求項5】
各個別エリアに関連付けられた識別情報を含む識別情報リストを格納するための格納部をさらに備える、請求項1~4のいずれか1項に記載の安全IOターミナル。
【請求項6】
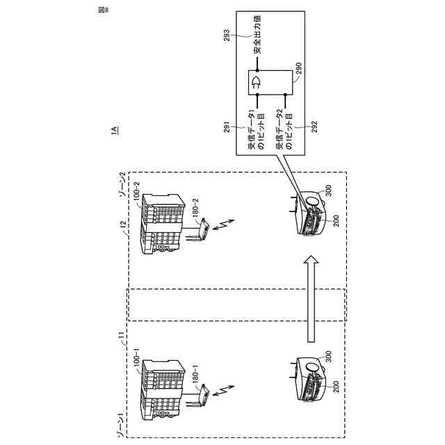
前記安全ロジック実行部は、前記複数の個別エリアのうち第1の個別エリアに格納される第1のデータが示す値と、前記複数の個別エリアのうち第2の個別エリアに格納される第2のデータが示す値とを入力とする論理和を演算する、請求項1~4のいずれか1項に記載の安全IOターミナル。
【請求項7】
前記安全ロジック実行部は、前記複数の個別エリアのうち第1の個別エリアに格納される第1のデータが示す値と、前記複数の個別エリアのうち第2の個別エリアに格納される第2のデータが示す値とを入力とする論理積を演算する、請求項1~4のいずれか1項に記載の安全IOターミナル。
【請求項8】
安全コネクションは、CIP SafetyおよびPROFIsafeの少なくとも一方に基づいて確立される、請求項1~4のいずれか1項に記載の安全IOターミナル。
【請求項9】
安全IOターミナルと、
前記安全IOターミナルから受信する安全入力データに基づく安全プログラムを実行可能な1または複数の安全コントローラとを備え、
前記安全IOターミナルは、
安全入力信号を受け付ける安全入力回路と、
安全出力信号を出力する安全出力回路と、
1または複数の安全コントローラと安全コネクションを確立可能な安全通信部と、
前記安全通信部が受信するデータを安全コネクション別に格納するための、複数の個別エリアを含む受信データ格納部と、
前記複数の個別エリアに格納される任意のデータを用いて安全出力信号の値を決定する安全ロジック実行部とを備え、
前記複数の個別エリアの各々は、前記安全IOターミナルと安全コネクションを確立する安全コントローラを特定するための識別情報を格納するように構成される、安全システム。
発明の詳細な説明
【技術分野】
【0001】
本発明は、安全IOターミナルおよび安全システムに関する。
続きを表示(約 1,300 文字)
【背景技術】
【0002】
製造現場においては、設備や機械を制御するための制御装置に加えて、安全システムが導入されることがある。安全システムは、設備や機械などによって人の安全が脅かされることを防止するためのものである。
【0003】
安全システムは、例えば、安全制御を実行するための安全コントローラと、安全入力信号および安全出力信号を取り扱う1または複数の安全IOターミナルとで構成されることもある。
【0004】
安全IOターミナルに関して、例えば、特開2014-098985号公報(特許文献1)は、安全コントローラの処理負担を軽減することが可能な安全スレーブユニットを開示する。
【先行技術文献】
【特許文献】
【0005】
特開2014-098985号公報
【発明の概要】
【発明が解決しようとする課題】
【0006】
一般的に、1つの安全IOターミナルは1つの安全コントローラの管理下に置かれる。しかしながら、本願発明者らは、安全システムが適用されるアプリケーションによっては、1つの安全IOターミナルが複数の安全コントローラと通信することがより好ましいという新たな知見を得た。
【0007】
本発明の一つの目的は、複数の安全コントローラからのデータに基づいた安全制御が可能な安全IOターミナルおよび当該安全IOターミナルを含む安全システムを提供することである。
【課題を解決するための手段】
【0008】
ある実施の形態に従う安全IOターミナルは、安全出力信号を出力する安全出力回路と、1または複数の安全コントローラと安全コネクションを確立可能な安全通信部と、安全通信部が受信するデータを安全コネクション別に格納するための、複数の個別エリアを含む受信データ格納部と、複数の個別エリアに格納される任意のデータを用いて安全出力信号の値を決定する安全ロジック実行部とを含む。複数の個別エリアの各々は、安全IOターミナルと安全コネクションを確立する安全コントローラを特定するための識別情報が関連付けられるように構成される。
【0009】
この構成によれば、複数の安全コントローラからのデータは、安全IOターミナルの複数の個別エリアにそれぞれ格納される。安全IOターミナルは、複数の個別エリアに格納される任意のデータを用いて安全出力信号の値を決定できるので、アプリケーションに応じて、複数の安全コントローラからのデータを用いて、適切な安全ロジックを実現できる。
【0010】
1または複数の安全コントローラの各々は、安全コネクションを確立するために、当該安全コントローラの識別情報および使用する個別エリアの指定とを含む要求を安全IOターミナルに送信してもよい。この構成によれば、安全コントローラと安全IOターミナルとの間のコネクションに対応する個別エリアとは異なる個別エリアに誤ってデータが格納されることを防止できる。
(【0011】以降は省略されています)
この特許をJ-PlatPat(特許庁公式サイト)で参照する
関連特許
オムロン株式会社
電磁継電器
18日前
オムロン株式会社
発光エンブレム
10日前
オムロン株式会社
サーボドライバ
10日前
オムロン株式会社
パワーコンディショナ
20日前
オムロン株式会社
電力システム及び制御装置
20日前
オムロン株式会社
保護継電器及び電力制御装置
28日前
オムロン株式会社
監視装置、監視方法及びプログラム
3日前
オムロン株式会社
電力供給システム及び電力制御装置
28日前
オムロン株式会社
情報処理システムおよび情報処理方法
17日前
オムロン株式会社
制御装置、制御方法、及び制御プログラム
17日前
オムロン株式会社
画像処理装置、画像処理方法及びプログラム
17日前
オムロン株式会社
処理装置、処理方法、および処理プログラム
13日前
オムロン株式会社
管理システム、管理方法及び管理プログラム
3日前
オムロン株式会社
処理装置、処理方法、および処理プログラム
13日前
オムロン株式会社
モデル生成方法、推論プログラム及び推論装置
10日前
オムロン株式会社
監視システム、点灯制御方法、及びプログラム
28日前
オムロン株式会社
開閉装置、及び開閉装置を備える蓄電池システム
28日前
オムロン株式会社
制御装置、情報処理方法および情報処理プログラム
17日前
オムロン株式会社
物体検出装置、物体検出方法、および制御プログラム
10日前
オムロン株式会社
感震センサおよび地震検知方法、地震検知プログラム
5日前
オムロン株式会社
感震センサおよび地震検知方法、地震検知プログラム
今日
オムロン株式会社
表示制御装置、表示制御方法および表示制御プログラム
12日前
オムロン株式会社
オドメトリパラメータ較正装置、方法、及びプログラム
17日前
オムロン株式会社
走行制御装置、走行制御方法、及び走行制御プログラム
28日前
オムロン株式会社
雨滴検出装置、雨滴検出方法および雨滴検出プログラム
25日前
オムロン株式会社
混雑制御システム、混雑制御方法及び混雑制御プログラム
今日
オムロン株式会社
設計支援方法、設計支援装置、プログラム、及び記録媒体
18日前
オムロン株式会社
入出場管理システム、入出場管理方法、及び入出場管理プログラム
18日前
オムロン株式会社
信頼度マップ作成方法、自己位置決定方法、装置、及びプログラム
17日前
オムロン株式会社
機器テスト処理装置、機器テスト処理方法、機器テスト処理プログラム
20日前
オムロン株式会社
分析支援装置、分析支援方法、分析支援プログラムおよび分析支援端末
17日前
オムロン株式会社
チケット管理システム、チケット管理方法、及びチケット管理プログラム
18日前
オムロン株式会社
酸素飽和度判定装置、酸素飽和度判定方法及び酸素飽和度判定プログラム
28日前
オムロン株式会社
外観検査システム、外観検査装置、外観検査装置の制御方法及びプログラム
18日前
オムロン株式会社
チケット管理システム、チケット管理装置、チケット管理方法、及びプログラム
20日前
オムロン株式会社
旅客流動混雑予測装置、旅客流動混雑予測方法及び旅客流動混雑予測プログラム
3日前
続きを見る
他の特許を見る