TOP
|
特許
|
意匠
|
商標
特許ウォッチ
Twitter
他の特許を見る
公開番号
2025139645
公報種別
公開特許公報(A)
公開日
2025-09-29
出願番号
2024038590
出願日
2024-03-13
発明の名称
トリガスイッチ
出願人
オムロン株式会社
代理人
弁理士法人あーく事務所
主分類
H01H
13/14 20060101AFI20250919BHJP(基本的電気素子)
要約
【課題】筐体の気密性を高めるトリガスイッチを提供する。
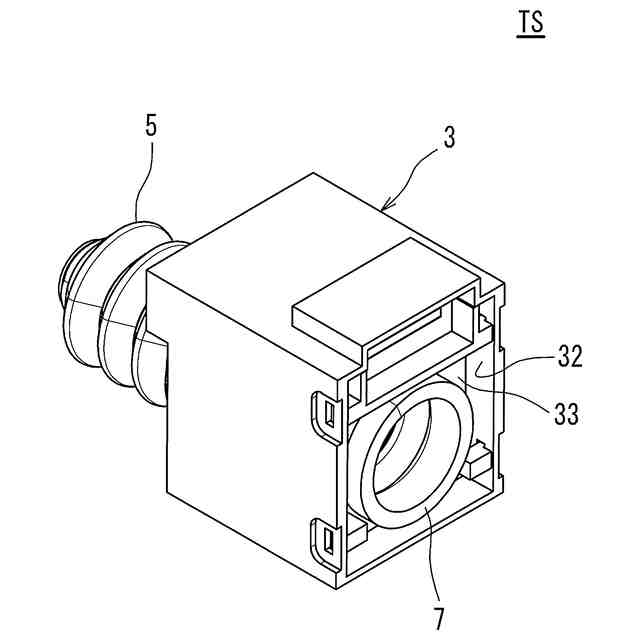
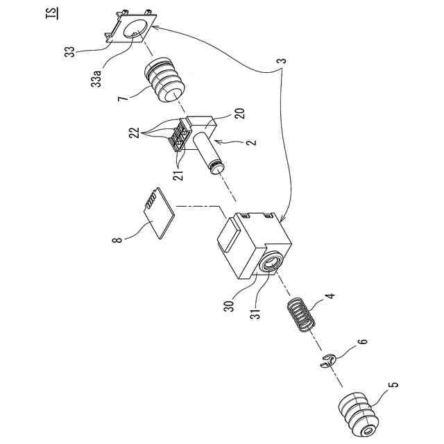
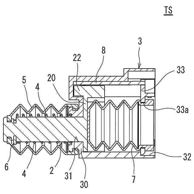
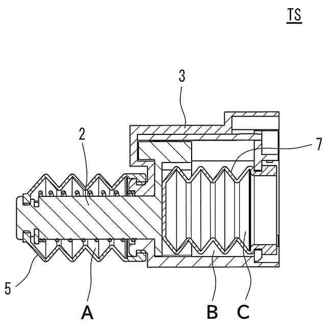
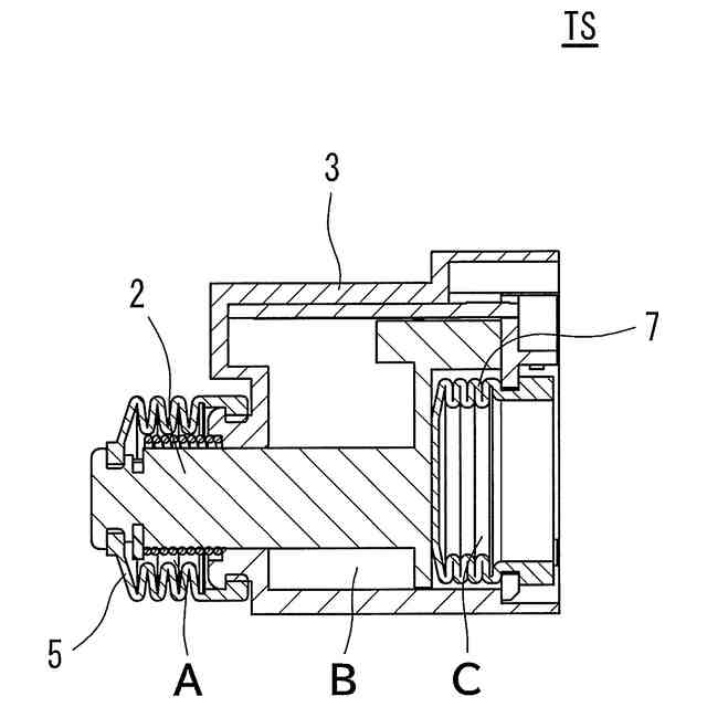
【解決手段】トリガスイッチTSは、押込操作を受けて第1側から第2側へ移動する軸部材2と、軸部材2の第2側を移動可能に収容する筐体3とを備える。トリガスイッチTSは、筐体3の外部で軸部材2を覆う可撓性の外部管状部材5と、筐体3の内部に収容され軸部材2の他端側に取り付けられた可撓性の内部管状部材7とを備える。筐体3は、第1側の前壁部30に軸部材2を挿通させる挿通孔31が形成され、第2側の後壁部33に通気孔33aが形成されている。外部管状部材5は、第1側の端部が軸部材2の第1側で密閉されており、第2側の開口が挿通孔31の周縁と密着している。内部管状部材7は、第1側の開口が密閉されており、第2側の開口が通気孔33aの周縁と密着している。
【選択図】図6
特許請求の範囲
【請求項1】
押込操作を受けて第1側から第2側へ移動するトリガキャップが第1側に取り付けられる軸部材と、前記軸部材の第2側を移動可能に収容する筐体とを備えるトリガスイッチであって、
前記筐体の外部で前記軸部材を覆う可撓性の外部管状部材と、
前記筐体の内部に収容され前記軸部材の第2側に取り付けられた可撓性の内部管状部材と
を備え、
前記筐体は、
第1側の第1壁部に前記軸部材を挿通させる挿通孔が形成され、
第2側の第2壁部に通気孔が形成されており、
前記外部管状部材は、
第1側の端部が前記軸部材の第1側で密閉されており、
第2側の開口が前記挿通孔の周縁と密着しており、
前記内部管状部材は、
第1側の端部が密閉されており、
第2側の開口が前記通気孔の周縁と密着している
ことを特徴とするトリガスイッチ。
続きを表示(約 670 文字)
【請求項2】
請求項1に記載のトリガスイッチであって、
前記外部管状部材内の空間の体積と、前記筐体から前記内部管状部材が占める空間を除いた空間の体積との和は、前記軸部材の位置に拠らず略一定である
ことを特徴とするトリガスイッチ。
【請求項3】
請求項1又は請求項2に記載のトリガスイッチであって、
前記外部管状部材内及び前記筐体内の間は、前記挿通孔を介して、気体が通過可能に連通している
ことを特徴とするトリガスイッチ。
【請求項4】
請求項3に記載のトリガスイッチであって、
前記筐体内に収容され、前記軸部材の第2側に取り付けられた可動接点と、
前記筐体内に取り付けられ、前記可動接点と接離する固定接点と
を備え、
前記可動接点及び前記固定接点は、気体が通過可能な領域に配置されている
ことを特徴とするトリガスイッチ。
【請求項5】
請求項1又は請求項2に記載のトリガスイッチであって、
前記軸部材を第1側へ付勢する付勢部材を備え、
前記外部環状部材又は前記内部管状部材は、前記付勢部材を覆う
ことを特徴とするトリガスイッチ。
【請求項6】
請求項1又は請求項2に記載のトリガスイッチであって、
前記外部管状部材の第1側は、開口しており、
前記軸部材の第1側の端部近傍の周囲に、密着した状態で固定されている
ことを特徴とするトリガスイッチ。
発明の詳細な説明
【技術分野】
【0001】
本発明は、押込操作を受け付けるトリガキャップが取り付けられる軸部材と、軸部材が挿通された筐体とを備えるトリガスイッチに関する。
続きを表示(約 1,300 文字)
【背景技術】
【0002】
電動工具の操作用として、操作者の押込操作を受け付けるトリガキャップと、一端側にトリガキャップが取り付けられた軸部材(プランジャ)と、軸部材の他端側を収容する筐体とを備えたトリガスイッチが用いられている。筐体内には、回路を開閉する接点部材等が収容されているため、筐体には、防水及び防塵を目的とした気密性が要求される。
【0003】
トリガスイッチに対して、操作者が押込操作を行った場合、押込操作に係るストロークに応じて、軸部材が、筐体内に押し込まれ、また筐体外へ押し出される。軸部材が筐体に対して移動することにより、筐体内の気圧が変化する。筐体内の気圧の変化は、防水性、防塵性等の気密性に悪影響を与えるため、様々な対策が提案されている(例えば、特許文献1参照。)。
【先行技術文献】
【特許文献】
【0004】
特開2013-054310号公報
【発明の概要】
【発明が解決しようとする課題】
【0005】
上述のように、トリガスイッチには、筐体の気密性が求められている。
【0006】
本願は、斯かる事情に鑑みてなされたものであり、気密性を高めることが可能なトリガスイッチの開示を目的とする。
【課題を解決するための手段】
【0007】
上記課題を解決するため、本願開示のトリガスイッチは、押込操作を受けて第1側から第2側へ移動するトリガキャップが第1側に取り付けられる軸部材と、前記軸部材の第2側を移動可能に収容する筐体とを備えるトリガスイッチであって、前記筐体の外部で前記軸部材を覆う可撓性の外部管状部材と、前記筐体の内部に収容され前記軸部材の第2側に取り付けられた可撓性の内部管状部材とを備え、前記筐体は、第1側の第1壁部に前記軸部材を挿通させる挿通孔が形成され、第2側の第2壁部に通気孔が形成されており、前記外部管状部材は、第1側の端部が前記軸部材の第1側で密閉されており、第2側の開口が前記挿通孔の周縁と密着しており、前記内部管状部材は、第1側の端部が密閉されており、第2側の開口が前記通気孔の周縁と密着していることを特徴とする。
【0008】
また、前記トリガスイッチにおいて、前記外部管状部材内の空間の体積と、前記筐体から前記内部管状部材が占める空間を除いた空間の体積との和は、前記軸部材の位置に拠らず略一定であることを特徴とする。
【0009】
また、前記トリガスイッチにおいて、前記外部管状部材内及び前記筐体内の間は、前記挿通孔を介して、気体が通過可能に連通していることを特徴とする。
【0010】
また、前記トリガスイッチにおいて、前記筐体内に収容され、前記軸部材の第2側に取り付けられた可動接点と、前記筐体内に取り付けられ、前記可動接点と接離する固定接点とを備え、前記可動接点及び前記固定接点は、気体が通過可能な領域に配置されていることを特徴とする。
(【0011】以降は省略されています)
この特許をJ-PlatPat(特許庁公式サイト)で参照する
関連特許
オムロン株式会社
電源回路
19日前
オムロン株式会社
電源回路
19日前
オムロン株式会社
電源回路
19日前
オムロン株式会社
電磁継電器
5日前
オムロン株式会社
スレーブ装置
15日前
オムロン株式会社
情報提供装置
15日前
オムロン株式会社
トリガスイッチ
15日前
オムロン株式会社
IOターミナル
15日前
オムロン株式会社
モータの監視装置
15日前
オムロン株式会社
端子折り曲げ治具
15日前
オムロン株式会社
セーフティデバイス
15日前
オムロン株式会社
システムおよび方法
15日前
オムロン株式会社
電力開閉モジュール
15日前
オムロン株式会社
パワーコンディショナ
7日前
オムロン株式会社
リモート安全入出力装置
15日前
オムロン株式会社
電力システム及び制御装置
7日前
オムロン株式会社
支援システム及び支援方法
15日前
オムロン株式会社
保護継電器及び電力制御装置
15日前
オムロン株式会社
パワーコンディショナシステム
15日前
オムロン株式会社
給電モジュール及び給電システム
15日前
オムロン株式会社
計測装置、計測方法及びプログラム
15日前
オムロン株式会社
教育支援システム及び教育支援方法
15日前
オムロン株式会社
電力供給システム及び電力制御装置
15日前
オムロン株式会社
情報処理システムおよび情報処理方法
4日前
オムロン株式会社
生体情報処理装置及び動作情報処理装置
15日前
オムロン株式会社
生体情報処理装置及び動作情報処理装置
15日前
オムロン株式会社
交通管制システム、および動作切替方法
15日前
オムロン株式会社
安全IOターミナルおよび安全システム
15日前
オムロン株式会社
スレーブ装置およびネットワークシステム
15日前
オムロン株式会社
監視システム、警報方法、及びプログラム
15日前
オムロン株式会社
制御装置、制御方法、及び制御プログラム
4日前
オムロン株式会社
処理装置、処理方法、および処理プログラム
今日
オムロン株式会社
処理装置、処理方法、および処理プログラム
今日
オムロン株式会社
画像処理装置、画像処理方法及びプログラム
4日前
オムロン株式会社
監視システム、点灯制御方法、及びプログラム
15日前
オムロン株式会社
サーボドライバ及びサーボドライバの調整方法
15日前
続きを見る
他の特許を見る