TOP
|
特許
|
意匠
|
商標
特許ウォッチ
Twitter
他の特許を見る
10個以上の画像は省略されています。
公開番号
2025141515
公報種別
公開特許公報(A)
公開日
2025-09-29
出願番号
2024041489
出願日
2024-03-15
発明の名称
保護継電器及び電力制御装置
出願人
オムロン株式会社
代理人
弁理士法人秀和特許事務所
主分類
H02J
3/38 20060101AFI20250919BHJP(電力の発電,変換,配電)
要約
【課題】既存の分散型電源システムを使用しながら、分散型電源の発電量を増加させることが可能な技術を提供する。
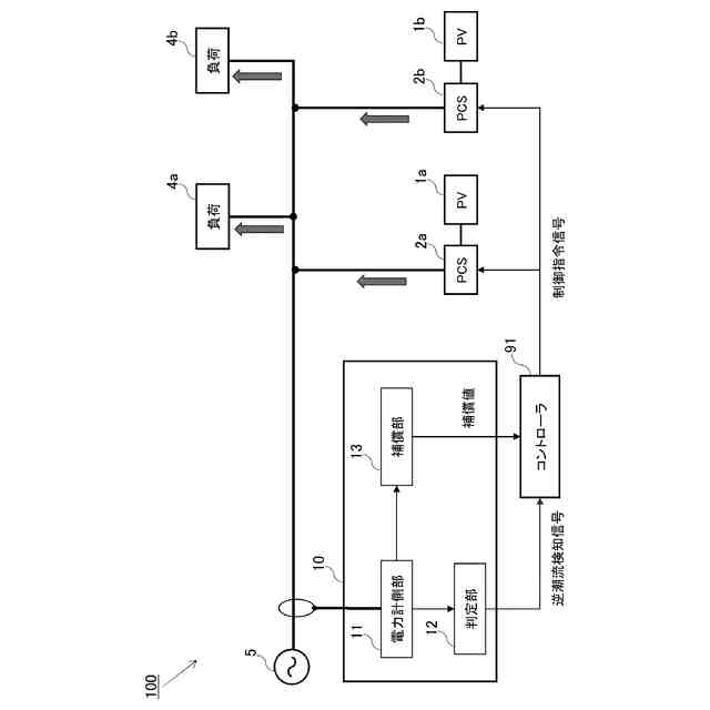
【解決手段】分散型電源と、電力の変換装置と、変換装置を制御して分散型電源による発電を制御する制御装置と、を備えており、商用電力系統と連系して分散型電源の運転を制御する電力システムにおいて用いられる保護継電器であって、商用電力系統からの受電点における電力を計測する電力計測部と、電力計測部が計測した電力値に基づいて商用電力系統への逆潮流を検出するとともに、逆潮流を検出した場合には発電を停止する指令信号を制御装置に送信する逆潮流判定部と、少なくとも逆潮流判定部の指令に基づく発電の停止の後から所定の時間が経過するまでの間において、電力計測部が計測した電力値に基づき、制御装置が分散型電源の発電量を抑制する制御を行うための情報を制御装置に送信する発電抑制部と、を有する保護継電器。
【選択図】図1
特許請求の範囲
【請求項1】
分散型電源と、前記分散型電源から出力される電力の変換装置と、前記変換装置を制御して前記分散型電源による発電を制御する制御装置と、を備えており、商用電力系統と連系して前記分散型電源の運転を制御する電力システムにおいて用いられる保護継電器であって、
前記商用電力系統からの受電点における電力を計測する電力計測部と、
前記電力計測部が計測した電力値に基づいて前記商用電力系統への逆潮流を検出するとともに、前記逆潮流を検出した場合には前記発電を停止する指令信号を前記制御装置に送信する逆潮流判定部と、
少なくとも前記逆潮流判定部の指令に基づく前記発電の停止の後から所定の時間が経過するまでの間において、前記電力計測部が計測した電力値に基づき、前記制御装置が前記分散型電源の発電量を抑制する制御を行うための情報を前記制御装置に送信する発電抑制部と、を有する、
保護継電器。
続きを表示(約 1,500 文字)
【請求項2】
前記電力計測部と、前記逆潮流判定部と、前記発電抑制部とが、一つの筐体内に収容されている、
ことを特徴とする、請求項1に記載の保護継電器。
【請求項3】
前記発電抑制部は、前記電力計測部が計測した電力値に対して補償を行った補償値を算出するとともに、当該補償値を前記受電点における電力値として前記制御装置に送信する、
ことを特徴とする、請求項1に記載の保護継電器。
【請求項4】
前記発電抑制部が前記制御装置に送信する前記補償値は、その補償される分の値が前記逆潮流判定部の指令に基づく前記発電の停止の後から前記所定の時間が経過するまでの間に0まで漸減するように設定される、
ことを特徴とする、請求項3に記載の保護継電器。
【請求項5】
前記発電抑制部は、前記所定の時間が経過するまでの間において、前記電力計測部が計測する電力値が所定の閾値を逸脱した場合に、前記補償値を前記制御装置に送信する、
ことを特徴とする、請求項3に記載の保護継電器。
【請求項6】
前記逆潮流判定部は、前記逆潮流の検出の前段階で逆潮流の予兆を検出するとともに、前記予兆を検出した場合には前記発電の停止を行う場合よりも前記発電が抑制される時間が短く設定される疑似発電停止の処理を実行する指令信号を前記制御装置に送信し、
前記発電抑制部は、前記疑似発電停止の後から所定の時間が経過するまでの間において、前記電力計測部が計測した電力値に基づき、前記制御装置が前記分散型電源の発電量を抑制する制御を行うための情報を前記制御装置に送信する、
ことを特徴とする、請求項1に記載の保護継電器。
【請求項7】
前記発電抑制部は、前記分散型電源の発電量の上限値を前記制御装置に送信し、前記上限値は前記逆潮流判定部の指令に基づく前記発電の停止の後から前記所定の時間が経過するまでの間漸増する、
ことを特徴とする、請求項1に記載の保護継電器。
【請求項8】
前記発電抑制部は前記逆潮流判定部の指令に基づく前記発電の停止の後から前記所定の時間が経過するまでの間、前記分散型電源の発電量の増加速度を緩やかにする指令信号を前記制御装置に送信する、
ことを特徴とする、請求項1に記載の保護継電器。
【請求項9】
分散型電源と、前記分散型電源から出力される電力の変換装置と、を備え、商用電力系統と連系する電力システムにおいて用いられ、前記変換装置を制御して前記分散型電源による発電を制御する電力制御装置であって、
前記変換装置の出力電力を制御するための指令信号を前記変換装置に送信する制御部と、
前記商用電力系統からの受電点における電力を計測する電力計測部と、
前記電力計測部が計測した電力値に基づいて前記商用電力系統への逆潮流を検出するとともに、前記逆潮流を検出した場合には前記発電を停止する停止指令信号を前記制御部に対して出力する逆潮流判定部と、
少なくとも前記逆潮流判定部の指令に基づく前記発電の停止の後から所定の時間が経過するまでの間において、前記電力計測部が計測した電力値に基づき、前記制御部が前記分散型電源の発電量を抑制する制御を行うための情報を前記制御部に対して出力する発電抑制部と、を有する、
電力制御装置。
【請求項10】
前記発電抑制部は、前記電力計測部が計測した電力値に対して補償を行った補償値を算出するとともに、当該補償値を前記受電点における電力値として出力する、
ことを特徴とする、請求項9に記載の電力制御装置。
(【請求項11】以降は省略されています)
発明の詳細な説明
【技術分野】
【0001】
本発明は、保護継電器及び電力制御装置に関する。
続きを表示(約 1,900 文字)
【背景技術】
【0002】
従来から、太陽光発電システムなどの、商用電力系統に連系して運転される自家消費型の分散型電源システムにおいて、分散型電源から系統への逆潮流を防止するための逆電力継電器(RPR)或いはこれを備える保護継電器を設置すべきことが知られている。しかしながら、逆電力継電器により逆潮流が検出されて発電の停止が行われると、発電再開までの発電量のロスが大きくなるため、パワーコンディショナ(Power Conditioning System:PCS)からの出力電力(発電量)を負荷に応じたものとなるように制御することが行われる(負荷追従制御)。
【0003】
具体的には、図7に示すような、電流計とRPRとが組み合わされた保護継電器とは別に、システム内のPCSの出力電力と負荷の消費電力とを計測して当該合算値をPCSの制御を行うコントローラに伝えるための電力計測部を備え、コントローラが当該合算値に基づいてPCSの出力制御を行う構成である。このような構成では、RPRを含む保護継電器と、コントローラに合算値を入力する電力計測部とが異なることから、特に複数台のPCSがシステムに含まれる場合、タイムラグを考慮するとRPRによる発電停止が発生しないようにするために多めのマージンを持たせてPCSの出力を制御する必要がある(発電量を抑制気味にする必要がある)。
【0004】
一方、図8に示すように、逆潮流検出用の電流計と、負荷追従制御用の合算値を算出するための電力計とを共通化する構成、即ち、保護継電器に合算値計測用の構成を一体化させた構成が提案されている(特許文献1など)。特許文献1に記載の技術によれば、逆潮流検知のための電力計測値と負荷追従制御に用いるそれとを一致させることができるため、RPRによる発電停止が起こる前に簡易的なPCSの停止を行う(或いは、出力を大幅に絞る)ことが可能になる。なお、以下ではこのようなPCSの制御を疑似停止ともいう。
【0005】
しかしながら、このような疑似停止の制御を行い、RPRによる停止(以下、本停止)を免れたとしても、疑似停止から通常の発電を再開しPCSからの出力が増加するとすぐに疑似停止(場合によってはRPRによる本停止)が行われ、停止―発電再開―停止・・・のような制御が繰り返されることになってしまう(以下、このような状態をハンチングともいう)。
【0006】
これに対しては、図10に示すように、電力計、RPR判定器、及びコントローラを一体の構成とすることで、発電再開時の負荷追従制御を高速・高精度に行い、ハンチングを防止することも考えられる。
【先行技術文献】
【特許文献】
【0007】
特開2021-193865号公報
【発明の概要】
【発明が解決しようとする課題】
【0008】
しかしながら、図10に示すような構成ではPCSのコントローラが電力計及びRPR判定器と一体となった専用の装置が必要になり、システムの導入が大掛かりなものとなっ
てしまう。このため、既存の分散型電源システムに追加的に導入することができず、システム全体を入れ変える必要が生じてしまう。
【0009】
本発明は、上記のような問題に鑑みてなされたものであり、既存の分散型電源システムを使用しながら、分散型電源の発電量を増加させることが可能な技術を提供することを目的とする。
【課題を解決するための手段】
【0010】
上記の課題を解決するため、本発明は一態様として次のような構成を採用する。即ち、
分散型電源と、前記分散型電源から出力される電力の変換装置と、前記変換装置を制御して前記分散型電源による発電を制御する制御装置と、を備えており、商用電力系統と連系して前記分散型電源の運転を制御する電力システムにおいて用いられる保護継電器であって、
前記商用電力系統からの受電点における電力を計測する電力計測部と、
前記電力計測部が計測した電力値に基づいて前記商用電力系統への逆潮流を検出するとともに、前記逆潮流を検出した場合には前記発電を停止する指令信号を前記制御装置に送信する逆潮流判定部と、
少なくとも前記逆潮流判定部の指令に基づく前記発電の停止の後から所定の時間が経過するまでの間において、前記電力計測部が計測した電力値に基づき、前記制御装置が前記分散型電源の発電量を抑制する制御を行うための情報を前記制御装置に送信する発電抑制部と、を有する、
保護継電器である。
(【0011】以降は省略されています)
この特許をJ-PlatPat(特許庁公式サイト)で参照する
関連特許
オムロン株式会社
電源回路
1か月前
オムロン株式会社
電源回路
1か月前
オムロン株式会社
電源回路
1か月前
オムロン株式会社
電磁継電器
16日前
オムロン株式会社
スレーブ装置
26日前
オムロン株式会社
情報提供装置
26日前
オムロン株式会社
トリガスイッチ
26日前
オムロン株式会社
発光エンブレム
8日前
オムロン株式会社
サーボドライバ
8日前
オムロン株式会社
IOターミナル
26日前
オムロン株式会社
端子折り曲げ治具
26日前
オムロン株式会社
モータの監視装置
26日前
オムロン株式会社
セーフティデバイス
26日前
オムロン株式会社
電力開閉モジュール
26日前
オムロン株式会社
システムおよび方法
26日前
オムロン株式会社
パワーコンディショナ
18日前
オムロン株式会社
リモート安全入出力装置
26日前
オムロン株式会社
電力システム及び制御装置
18日前
オムロン株式会社
支援システム及び支援方法
26日前
オムロン株式会社
保護継電器及び電力制御装置
26日前
オムロン株式会社
パワーコンディショナシステム
26日前
オムロン株式会社
情報処理装置及び情報処理方法
1か月前
オムロン株式会社
給電モジュール及び給電システム
26日前
オムロン株式会社
計測装置、計測方法及びプログラム
26日前
オムロン株式会社
監視装置、監視方法及びプログラム
1日前
オムロン株式会社
電力供給システム及び電力制御装置
26日前
オムロン株式会社
教育支援システム及び教育支援方法
26日前
オムロン株式会社
情報処理システムおよび情報処理方法
15日前
オムロン株式会社
検査装置、検査方法およびプログラム
1か月前
オムロン株式会社
生体情報処理装置及び動作情報処理装置
26日前
オムロン株式会社
交通管制システム、および動作切替方法
26日前
オムロン株式会社
生体情報処理装置及び動作情報処理装置
26日前
オムロン株式会社
安全IOターミナルおよび安全システム
26日前
オムロン株式会社
監視システム、警報方法、及びプログラム
26日前
オムロン株式会社
スレーブ装置およびネットワークシステム
26日前
オムロン株式会社
制御装置、制御方法、及び制御プログラム
15日前
続きを見る
他の特許を見る