TOP
|
特許
|
意匠
|
商標
特許ウォッチ
Twitter
他の特許を見る
公開番号
2025140738
公報種別
公開特許公報(A)
公開日
2025-09-29
出願番号
2024040300
出願日
2024-03-14
発明の名称
計測装置、計測方法及びプログラム
出願人
オムロン株式会社
代理人
弁理士法人秀和特許事務所
主分類
G01R
22/06 20060101AFI20250919BHJP(測定;試験)
要約
【課題】電力の供給が停止した場合であっても、積算電力量の計測を継続する。
【解決手段】計測装置は、所定電源から供給される電力量を計測する計測部と、揮発性の第1記憶部と、不揮発性の第2記憶部と、前記計測部によって計測された電力量を積算した積算電力量を前記第1記憶部に逐次記憶し、かつ、前記第1記憶部に記憶されている前記積算電力量を前記第2記憶部に所定間隔で記憶する制御部と、を備える。
【選択図】図1
特許請求の範囲
【請求項1】
所定電源から供給される電力量を計測する計測部と、
揮発性の第1記憶部と、
不揮発性の第2記憶部と、
前記計測部によって計測された電力量を積算した積算電力量を前記第1記憶部に逐次記憶し、かつ、前記第1記憶部に記憶されている前記積算電力量を前記第2記憶部に所定間隔で記憶する制御部と、
を備える計測装置。
続きを表示(約 970 文字)
【請求項2】
前記制御部は、前記所定電源からの電力の供給が停止した後、前記所定電源からの電力の供給が開始された場合、前記第2記憶部に記憶されている前記積算電力量を前記第1記憶部に記憶する、
請求項1に記載の計測装置。
【請求項3】
前記第2記憶部は、複数の前記積算電力量を記憶し、
前記制御部は、前記所定電源からの電力の供給が停止した場合、前記第2記憶部に記憶されている複数の前記積算電力量と、前記所定電源からの電力の供給が停止した停止時刻と、に基づいて、前記停止時刻における推定積算電力量を算出し、
前記制御部は、前記所定電源からの電力の供給が開始された場合、前記推定積算電力量を前記第1記憶部に記憶する、
請求項1に記載の計測装置。
【請求項4】
前記所定間隔は、前記第2記憶部の書き換えに関するパラメータに基づいて設定される、
請求項1に記載の計測装置。
【請求項5】
前記パラメータは、保証書き換え回数及び保証年数を含む、
請求項4に記載の計測装置。
【請求項6】
バッテリを備えない、
請求項1から5の何れか一項に記載の計測装置。
【請求項7】
揮発性の第1記憶部及び不揮発性の第2記憶部を備える計測装置の計測方法であって、
所定電源から供給される電力量を計測する計測ステップと、
前記計測ステップによって計測された電力量を積算した積算電力量を前記第1記憶部に逐次記憶する第1記憶ステップと、
前記第1記憶部に記憶されている前記積算電力量を前記第2記憶部に所定間隔で記憶する第2記憶ステップと、
を有する計測方法。
【請求項8】
揮発性の第1記憶部及び不揮発性の第2記憶部を備える計測装置のコンピュータに、
所定電源から供給される電力量を計測する計測ステップと、
前記計測ステップによって計測された電力量を積算した積算電力量を前記第1記憶部に逐次記憶する第1記憶ステップと、
前記第1記憶部に記憶されている前記積算電力量を前記第2記憶部に所定間隔で記憶する第2記憶ステップと、
を実行させるためのプログラム。
発明の詳細な説明
【技術分野】
【0001】
本発明は、計測装置、計測方法及びプログラムに関する。
続きを表示(約 1,900 文字)
【背景技術】
【0002】
従来、電源から負荷に供給される電力量を計測装置によって計測し、一定時間間隔で電力供給開始時からの積算電力量をサーバに送信することが行われている。サーバは、受信した積算電力量から電力の利用料金を算出している。特許文献1には、積算電力量を表示する電力監視装置が開示されている。
【先行技術文献】
【特許文献】
【0003】
特開2001-264369号公報
【発明の概要】
【発明が解決しようとする課題】
【0004】
計測中の積算電力量を揮発性のメモリに記憶することが行われている。揮発性のメモリに対する電力の供給が停止すると、記憶されている積算電力量が消失する。そのため、停電などにより電源から供給される電力が停止した場合であっても、電力量の計測が継続されるように、計測装置にバッテリを搭載することが行われている。しかし、バッテリを搭載しないことで、計測装置のコストを抑えることも行われている。このようなバッテリを搭載しない計測装置では、電源から供給される電力が停止した場合、計測中の積算電力量が消失し、積算電力量の計測を継続することが困難になる。消失した分の積算電力量に関する電力の利用料金は、設備設置者の負担になっている。
【0005】
本発明は上記課題に鑑みてなされたものであって、その目的とするところは、電力の供給が停止した場合であっても、積算電力量の計測を継続することが可能な技術を提供することである。
【課題を解決するための手段】
【0006】
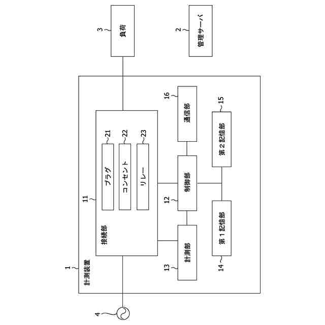
本発明の一観点に係る計測装置は、所定電源から供給される電力量を計測する計測部と、揮発性の第1記憶部と、不揮発性の第2記憶部と、前記計測部によって計測された電力量を積算した積算電力量を前記第1記憶部に逐次記憶し、かつ、前記第1記憶部に記憶されている前記積算電力量を前記第2記憶部に所定間隔で記憶する制御部と、を備える。所定電源からの電力の供給が停止した場合、揮発性の第1記憶部における積算電力量は消失するが、不揮発性の第2記憶部における積算電力量は消失しない。第1記憶部に記憶されている積算電力量を第2記憶部に所定間隔で記憶することにより、所定電源からの電力の供給が停止した場合であっても、積算電力量の計測を継続することが可能である。
【0007】
前記制御部は、前記所定電源からの電力の供給が停止した後、前記所定電源からの電力の供給が開始された場合、前記第2記憶部に記憶されている前記積算電力量を前記第1記憶部に記憶する。第2記憶部に記憶されている積算電力量を第1記憶部に書き込むことで、第1記憶部における積算電力量を復元することが可能となる。
【0008】
前記第2記憶部は、複数の前記積算電力量を記憶し、前記制御部は、前記所定電源からの電力の供給が停止した場合、前記第2記憶部に記憶されている複数の前記積算電力量と、前記所定電源からの電力の供給が停止した停止時刻と、に基づいて、前記停止時刻における推定積算電力量を算出し、前記制御部は、前記所定電源からの電力の供給が開始され
た場合、前記推定積算電力量を前記第1記憶部に記憶する。推定積算電力量を第1記憶部に書き込むことで、第1記憶部における積算電力量を復元することが可能となる。
【0009】
前記所定間隔は、前記第2記憶部の書き換えに関するパラメータに基づいて設定される。これにより、所定間隔を適切に設定することが可能となる。前記パラメータは、保証書き換え回数及び保証年数を含む。保証書き換え回数は、例えば、データを正常に書き替えることが可能な回数である。保証年数は、例えば、第2記憶部の性能が保証される年数である。上記計測装置は、バッテリを備えない。バッテリを備えていない計測装置における積算電力量の計測を継続することが可能である。
【0010】
本発明は、上記処理の少なくとも一部を含む計測方法や、上記処理の少なくとも一部をコンピュータに実行させるためのプログラム、または、そのようなプログラムを非一時的に記録したコンピュータ読取可能な記録媒体として捉えることもできる。また、上記処理の少なくとも一部を含む計測システムとして捉えることもできる。上記構成および処理の各々は技術的な矛盾が生じない限り互いに組み合わせて本発明を構成することができる。
【発明の効果】
(【0011】以降は省略されています)
この特許をJ-PlatPat(特許庁公式サイト)で参照する
関連特許
オムロン株式会社
電磁継電器
19日前
オムロン株式会社
発光エンブレム
11日前
オムロン株式会社
センサシステム
今日
オムロン株式会社
センサシステム
今日
オムロン株式会社
センサシステム
今日
オムロン株式会社
サーボドライバ
11日前
オムロン株式会社
システム及び方法
今日
オムロン株式会社
システム及び方法
今日
オムロン株式会社
監視装置、監視方法及びプログラム
4日前
オムロン株式会社
情報処理システムおよび情報処理方法
18日前
オムロン株式会社
制御装置、制御方法、及び制御プログラム
18日前
オムロン株式会社
処理装置、処理方法、および処理プログラム
14日前
オムロン株式会社
処理装置、処理方法、および処理プログラム
14日前
オムロン株式会社
管理システム、管理方法及び管理プログラム
4日前
オムロン株式会社
画像処理装置、画像処理方法及びプログラム
18日前
オムロン株式会社
モデル生成方法、推論プログラム及び推論装置
11日前
オムロン株式会社
制御装置、情報処理方法および情報処理プログラム
18日前
オムロン株式会社
感震センサおよび地震検知方法、地震検知プログラム
1日前
オムロン株式会社
感震センサおよび地震検知方法、地震検知プログラム
6日前
オムロン株式会社
感震センサおよび地震検知方法、地震検知プログラム
今日
オムロン株式会社
物体検出装置、物体検出方法、および制御プログラム
11日前
オムロン株式会社
情報処理装置、情報処理方法及び情報処理プログラム
今日
オムロン株式会社
感震センサおよび地震検知方法、地震検知プログラム
今日
オムロン株式会社
情報処理装置、情報処理方法及び情報処理プログラム
今日
オムロン株式会社
感震センサおよび地震検知方法、地震検知プログラム
今日
オムロン株式会社
表示制御装置、表示制御方法および表示制御プログラム
13日前
オムロン株式会社
オドメトリパラメータ較正装置、方法、及びプログラム
18日前
オムロン株式会社
混雑制御システム、混雑制御方法及び混雑制御プログラム
1日前
オムロン株式会社
設計支援方法、設計支援装置、プログラム、及び記録媒体
19日前
オムロン株式会社
入出場管理システム、入出場管理方法、及び入出場管理プログラム
19日前
オムロン株式会社
信頼度マップ作成方法、自己位置決定方法、装置、及びプログラム
18日前
オムロン株式会社
分析支援装置、分析支援方法、分析支援プログラムおよび分析支援端末
18日前
オムロン株式会社
旅客流動混雑予測装置、旅客流動混雑予測方法及び旅客流動混雑予測プログラム
4日前
オムロン株式会社
ロボット制御装置、代表物体情報生成装置、操作情報付与装置、方法、及びプログラム
18日前
オムロン株式会社
制御装置、リーダライタ、および制御方法
今日
個人
メジャー文具
21日前
続きを見る
他の特許を見る