TOP
|
特許
|
意匠
|
商標
特許ウォッチ
Twitter
他の特許を見る
10個以上の画像は省略されています。
公開番号
2025168619
公報種別
公開特許公報(A)
公開日
2025-11-11
出願番号
2024073291
出願日
2024-04-29
発明の名称
外形検査装置
出願人
シチズンファインデバイス株式会社
代理人
主分類
G01B
5/06 20060101AFI20251104BHJP(測定;試験)
要約
【課題】ワークの検査精度を向上させることが可能な外形検査装置を提供する。
【解決手段】互いに対向する第一定盤(上定盤3)と第二定盤(下定盤4)との間の隙間を検査対象物が通過できるかどうかに基づいて検査対象物の外形を検査する外形検査装置であって、第一定盤(上定盤3)を第二定盤(下定盤4)に倣わせる倣い機構5を備え、倣い機構5により第一定盤(上定盤3)が第二定盤(下定盤4)に倣わされた後、第一定盤(上定盤3)と第二定盤(下定盤4)を相対的に離反させることにより前記隙間が形成される、外形検査装置1である。
【選択図】図1
特許請求の範囲
【請求項1】
互いに対向する第一定盤と第二定盤との間の隙間を検査対象物が通過できるかどうかに基づいて前記検査対象物の外形を検査する外形検査装置であって、
前記第一定盤を前記第二定盤に倣わせる倣い機構を備え、
前記倣い機構により前記第一定盤が前記第二定盤に倣わされた後、前記第一定盤と前記第二定盤を相対的に離反させることにより前記隙間が形成される、
ことを特徴とする外形検査装置。
続きを表示(約 750 文字)
【請求項2】
前記倣い機構は、前記第一定盤を保持するプレートと、当該プレートの前記第一定盤が配置された側とは反対側の面に設けられた複数のジョイント部と、を備え、前記プレートは、複数の前記ジョイント部を介して、前記第一定盤が前記第二定盤に倣うように傾斜する、ことを特徴とする請求項1に記載の外形検査装置。
【請求項3】
前記ジョイント部は、前記プレートに向かって付勢された可動部の一端に接続されている、ことを特徴とする請求項2に記載の外形検査装置。
【請求項4】
前記ジョイント部と前記プレートとの間には、前記ジョイント部に対して前記プレートを横方向へ移動可能にする移動機構が設けられている、ことを特徴とする請求項2に記載の外形検査装置。
【請求項5】
前記ジョイント部は、ボールジョイントで構成されている、ことを特徴とする請求項2に記載の外形検査装置。
【請求項6】
前記倣い機構の全体を前記第二定盤に向かって移動させる第一駆動ユニットと、前記倣い機構の前記プレートを前記第二定盤から離反する方向へ移動させる第二駆動ユニットと、を備えている、ことを特徴とする請求項2に記載の外形検査装置。
【請求項7】
前記第一駆動ユニットと前記第二駆動ユニットは、前記倣い機構を挟んで互いに対向するように配置されている、ことを特徴とする請求項6に記載の外形検査装置。
【請求項8】
前記隙間の距離を測定する測定装置を備え、当該測定装置から出力された電気信号に基づいて、前記第一定盤と前記第二定盤の平行度が一定に保たれるように、前記第二駆動ユニットの動作を制御する、ことを特徴とする請求項6に記載の外形検査装置。
発明の詳細な説明
【技術分野】
【0001】
本発明は、外形検査装置に関する。
続きを表示(約 1,700 文字)
【背景技術】
【0002】
従来の外形検査装置として、互いに離間して配置された二つの定盤(平板)の間の隙間を検査対象物が通過できるかどうかに基づいて検査対象物(以下、「ワーク」と呼ぶ)の外形(厚み等)を検査する外形検査装置が知られている。(例えば、特許文献1参照)
【先行技術文献】
【特許文献】
【0003】
特開平10-185552号公報
【発明の概要】
【発明が解決しようとする課題】
【0004】
上述のような従来の外形検査装置において、二つの定盤は、所定の隙間を介して互いに平行となるように予め配置されているが、検査を行う直前の温度環境等により、二つの定盤の平行度が低下することがある。このように二つの定盤の平行度が低下すると、ワークの検査を正常に行うことができなくなる、言い換えると、ワークの検査精度が低下する、という問題が生じる。
【0005】
本発明は、このような問題に鑑みて成されたものであり、ワークの検査精度を向上させることが可能な外形検査装置を提供することを目的とする。
【課題を解決するための手段】
【0006】
互いに対向する第一定盤と第二定盤との間の隙間を検査対象物が通過できるかどうかに基づいて前記検査対象物の外形を検査する外形検査装置であって、前記第一定盤を前記第二定盤に倣わせる倣い機構を備え、前記倣い機構により前記第一定盤が前記第二定盤に倣わされた後、前記第一定盤と前記第二定盤を相対的に離反させることにより前記隙間が形成される、外形検査装置である。
【発明の効果】
【0007】
本発明によれば、ワークの検査精度を向上させることが可能な外形検査装置を提供することができる。
【図面の簡単な説明】
【0008】
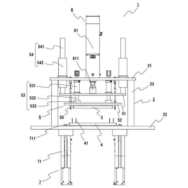
本発明の実施例における外形検査装置の正面図である。
本発明の実施例における外形検査装置の(a)正面図、(b)左側面図、(c)右側面図、(d)上面図、(e)下面図である。
本発明の実施例における外形検査装置を正面左側の斜め上方から見た斜視図である。
本発明の実施例における外形検査装置を正面右側の斜め上方から見た斜視図である。
本発明の実施例における外形検査装置を背面左側の斜め上方から見た斜視図である。
本発明の実施例における外形検査装置を背面右側の斜め上方から見た斜視図である。
本発明の実施例における外形検査装置を正面左側の斜め下方から見た斜視図である。
本発明の実施例における外形検査装置を正面右側の斜め下方から見た斜視図である。
本発明の実施例における外形検査装置を背面左側の斜め下方から見た斜視図である。
本発明の実施例における外形検査装置を背面右側の斜め下方から見た斜視図である。
本発明の実施例における外形検査装置の動作(S1)を示す簡略的な右側面図である。
本発明の実施例における外形検査装置の動作(S2)を示す簡略的な右側面図である。
本発明の実施例における外形検査装置の動作(S3)を示す簡略的な右側面図である。
【発明を実施するための形態】
【0009】
図1は、本発明の実施例における外形検査装置の正面図である。図2は、本発明の実施例における外形検査装置の(a)正面図、(b)左側面図、(c)右側面図、(d)上面図、(e)下面図である。なお、この実施例では、ワークが搬入される側が外形検査装置の正面である。
【0010】
図3Aは、本発明の実施例における外形検査装置を正面左側の斜め上方から見た斜視図である。図3Bは、本発明の実施例における外形検査装置を正面右側の斜め上方から見た斜視図である。図3Cは、本発明の実施例における外形検査装置を背面左側の斜め上方から見た斜視図である。図3Dは、本発明の実施例における外形検査装置を背面右側の斜め上方から見た斜視図である。
(【0011】以降は省略されています)
この特許をJ-PlatPat(特許庁公式サイト)で参照する
関連特許
個人
メジャー文具
1か月前
日本精機株式会社
検出装置
6日前
個人
採尿及び採便具
12日前
個人
アクセサリー型テスター
28日前
個人
計量機能付き容器
1日前
個人
高精度同時多点測定装置
27日前
ユニパルス株式会社
ロードセル
1か月前
甲神電機株式会社
電流検出装置
6日前
株式会社ミツトヨ
測定器
18日前
アズビル株式会社
電磁流量計
21日前
株式会社チノー
放射光測温装置
1か月前
株式会社ヨコオ
ソケット
1か月前
大成建設株式会社
風洞実験装置
1日前
株式会社ヨコオ
ソケット
1か月前
ダイキン工業株式会社
監視装置
1か月前
トヨタ自動車株式会社
監視装置
1か月前
TDK株式会社
ガスセンサ
1か月前
ローム株式会社
半導体装置
26日前
TDK株式会社
磁気センサ
1か月前
大和製衡株式会社
組合せ計量装置
15日前
大和製衡株式会社
組合せ計量装置
15日前
個人
非接触による電磁パルスの測定方法
4日前
愛知電機株式会社
軸部材の外観検査装置
15日前
愛知時計電機株式会社
ガスメータ
18日前
個人
計量具及び計量機能付き容器
1日前
ローム株式会社
半導体装置
26日前
個人
システム、装置及び実験方法
21日前
日本信号株式会社
距離画像センサ
4日前
双庸電子株式会社
誤配線検査装置
7日前
長崎県
形状計測方法
28日前
日本特殊陶業株式会社
センサ
1か月前
日本特殊陶業株式会社
センサ
1か月前
日東精工株式会社
振動波形検査装置
7日前
三菱マテリアル株式会社
温度センサ
1か月前
株式会社デンソー
電流センサ
26日前
多摩川精機株式会社
冗長エンコーダ
1か月前
続きを見る
他の特許を見る