TOP
|
特許
|
意匠
|
商標
特許ウォッチ
Twitter
他の特許を見る
10個以上の画像は省略されています。
公開番号
2025167270
公報種別
公開特許公報(A)
公開日
2025-11-07
出願番号
2024071735
出願日
2024-04-25
発明の名称
分光装置
出願人
浜松ホトニクス株式会社
代理人
個人
,
個人
,
個人
主分類
G01J
3/02 20060101AFI20251030BHJP(測定;試験)
要約
【課題】光検出器の耐衝撃性を向上可能な分光装置を提供する。
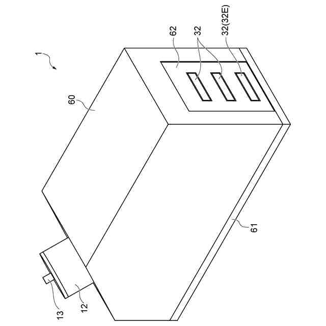
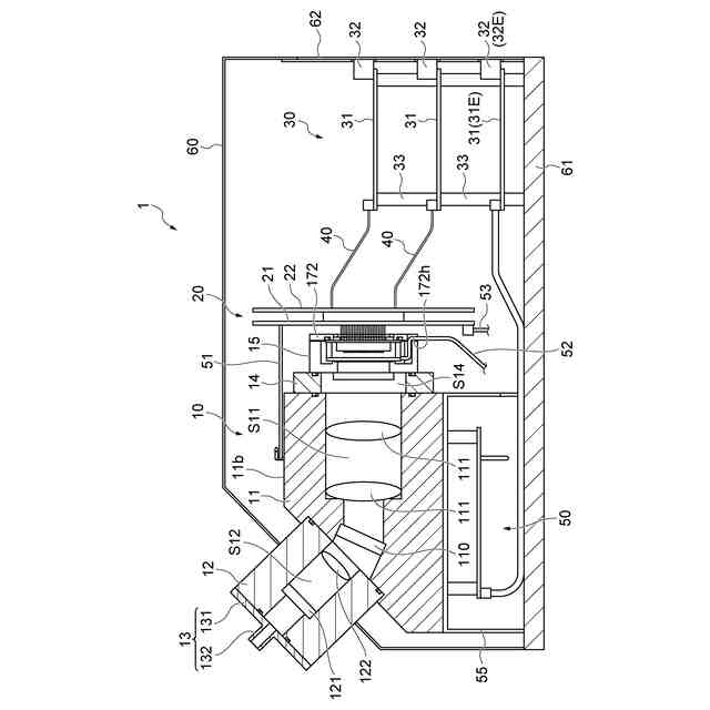
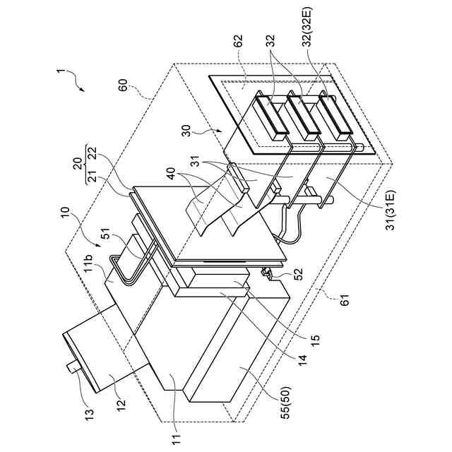
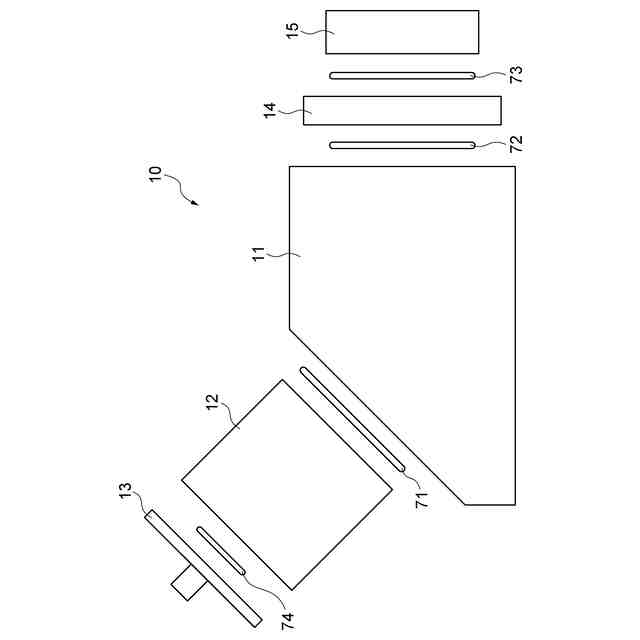
【解決手段】分光装置1は、マルチチャンネル光検出器15を含み、測定光を分光すると共に検出する分光部10と、マルチチャンネル光検出器15からの測定光の検出信号を電気信号として処理するための回路基板20と、回路基板20からの電気信号を出力するための信号出力部30と、筐体60と、を備える。回路基板20は、筐体60に接触しないようにマルチチャンネル光検出器15の端部に保持されている。信号出力部30は、筐体60に保持されている。回路基板20と信号出力部30とは、フレキシブルケーブル40により電気的に接続されている。
【選択図】図2
特許請求の範囲
【請求項1】
マルチチャンネル光検出器を含み、測定光を分光すると共に前記マルチチャンネル光検出器により検出する分光部と、
前記マルチチャンネル光検出器からの前記測定光の検出信号を電気信号として処理するための回路基板と、
前記回路基板からの前記電気信号を出力するための信号出力部と、
前記分光部、前記回路基板、前記信号出力部を収容する筐体と、
を備え、
前記回路基板は、前記筐体に接触しないように前記マルチチャンネル光検出器の端部に保持されており、
前記信号出力部は、前記筐体に保持されており、
前記回路基板と前記信号出力部とは、前記回路基板からの前記電気信号を前記信号出力部に入力するための可撓性ケーブルにより電気的に接続されている、
分光装置。
続きを表示(約 1,200 文字)
【請求項2】
前記検出信号は、電流信号であり、
前記回路基板は、前記電流信号を電圧信号に変換するための電流/電圧変換部を含み、
前記信号出力部は、前記回路基板からの前記電圧信号を出力する、
請求項1に記載の分光装置。
【請求項3】
前記回路基板は、前記電流/電圧変換部が設けられた第1基板と、前記可撓性ケーブルの接続部が設けられた第2基板と、を含む、
請求項2に記載の分光装置。
【請求項4】
前記筐体は、導電性材料により構成されている、
請求項1に記載の分光装置。
【請求項5】
前記筐体に収容され、前記マルチチャンネル光検出器に電圧を供給するための電源部と、
前記筐体内において前記電源部を囲う導電性シールドと、
を備える、
請求項1に記載の分光装置。
【請求項6】
前記マルチチャンネル光検出器と前記電源部とを接続する給電ケーブルを備え、
前記給電ケーブルは、前記分光部に固定されている、
請求項5に記載の分光装置。
【請求項7】
前記分光部は、
前記測定光を複数の被検出光に分光する分光素子と、
前記分光素子を保持する保持部と、
前記複数の被検出光のそれぞれが前記マルチチャンネル光検出器の対応するチャンネルに入射するように、前記被検出光の光軸に交差する面内において前記保持部に対する前記マルチチャンネル光検出の位置を調整しつつ、前記マルチチャンネル光検出器を前記保持部に固定するための調整部と、
を有し、
前記回路基板は、前記マルチチャンネル光検出器の前記調整部と反対側の端部に保持されている、
請求項1に記載の分光装置。
【請求項8】
前記分光部は、前記測定光の入力を受け、当該測定光を前記分光素子に入射させるように前記保持部に固定された鏡筒部をさらに有し、
前記鏡筒部と前記保持部とは、互いに接触しつつ固定されており、
前記鏡筒部と前記保持部との接触面には、前記測定光の光路を囲むように第1遮光部材が設けられている、
請求項7に記載の分光装置。
【請求項9】
前記調整部と前記保持部とは、互いに接触しつつ固定されており、
前記調整部と前記保持部との接触面には、前記複数の被検出光の光路を囲むように第2遮光部材が設けられている、
請求項7に記載の分光装置。
【請求項10】
前記調整部と前記マルチチャンネル光検出器とは、互いに接触しつつ固定されており、
前記調整部と前記マルチチャンネル光検出器との接触面には、前記複数の被検出光の光路を囲むように第3遮光部材が設けられている、
請求項7に記載の分光装置。
(【請求項11】以降は省略されています)
発明の詳細な説明
【技術分野】
【0001】
本発明は、分光装置に関する。
続きを表示(約 2,300 文字)
【背景技術】
【0002】
特許文献1には、光学測定装置が記載されている。この光学測定装置は、レーザ光が照射された試料から発せられた蛍光を検出する蛍光検出部が設けられている。蛍光検出部には、多チャンネルPMT(Photo-Multiplier Tube)と、透過型回折格子と、テレセントリック集光レンズと、が設けられている。多チャンネルPMTは、試料から発せられた蛍光を検出する検出器であり、複数の検出チャンネルを備えている。また、多チャンネルPMTでは、検出チャンネルの入射窓から入射した光子が光電面において光電子に変換され、増幅された後、電気信号として出力される。
【先行技術文献】
【特許文献】
【0003】
特許4711009号
【発明の概要】
【発明が解決しようとする課題】
【0004】
上記特許文献1に記載のような光学測定装置では、多チャンネルPMTといった光検出器から検出信号を出力するためには、検出信号を所望の出力形式に変換する信号処理部等を含む制御回路を搭載した回路基板を光検出器の後段に設置する場合がある。この場合、電気的ノイズの抑制のため、検出信号の伝達距離を短くすべく、光検出器の直近に当該回路基板を配置することが有効である。したがって、この場合には、上記回路基板を含むユニットを、光検出器に直接的に取り付けることが考えられる。しかし、この場合には、光検出器に対して重量物が保持させられ、光検出器に対する負荷が大きくなる。この結果、光学測定装置におけるマルチチャンネル光検出器での耐衝撃性が低下するおそれがある。
【0005】
そこで、本発明は、光検出器での耐衝撃性を向上可能な分光装置を提供することを目的とする。
【課題を解決するための手段】
【0006】
本発明に係る分光装置は、[1]「マルチチャンネル光検出器を含み、測定光を分光すると共に前記マルチチャンネル光検出器により検出する分光部と、前記マルチチャンネル光検出器からの前記測定光の検出信号を電気信号として処理するための回路基板と、前記回路基板からの前記電気信号を出力するための信号出力部と、前記分光部、前記回路基板、前記信号出力部を収容する筐体と、を備え、前記回路基板は、前記筐体に接触しないように前記マルチチャンネル光検出器の端部に保持されており、前記信号出力部は、前記筐体に保持されており、前記回路基板と前記信号出力部とは、前記回路基板からの前記電気信号を前記信号出力部に入力するための可撓性ケーブルにより電気的に接続されている、分光装置」である。
【0007】
この分光装置は、マルチチャンネル光検出器からの測定光の検出信号を電気信号として処理するための回路基板が、マルチチャンネル光検出器の端部に保持される一方で、回路基板からの電気信号を外部に出力するための信号出力部が、当該回路基板と別体に設けられて可撓性ケーブルにより接続されている。そして、信号出力部は、筐体に保持されている。よって、回路基板と信号出力部とを含む構造物をマルチチャンネル光検出器に保持させる場合と比較して、マルチチャンネル光検出器での負荷が低減される。この結果、マルチチャンネル光検出器での耐衝撃性が向上される。さらに、マルチチャンネル光検出器に保持される回路基板は、筐体に接触しないようにされている。よって、筐体外部からの衝撃が回路基板を介してマルチチャンネル光検出器に伝達されることが抑制され、耐衝撃性がより向上される。なお、マルチチャンネル光検出器に保持された回路基板と筐体に保持された信号出力部とが可撓性ケーブルにより接続されることにより、マルチチャンネル光検出器の設置位置の自由度が確保される。
【0008】
本発明に係る分光装置は、[2]「前記検出信号は、電流信号であり、前記回路基板は、前記電流信号を電圧信号に変換するための電流/電圧変換部を含み、前記信号出力部は、前記回路基板からの前記電圧信号を出力する、上記[1]に記載の分光装置」であってもよい。この場合、マルチチャンネル光検出器からの電流信号である検出信号が、マルチチャンネル光検出器に保持された回路基板の電流/電圧変換部において電圧信号に変換され、可撓性ケーブルを介して信号出力部に入力されることとなる。このため、電流信号の伝達距離が短くなることから、電気的ノイズが抑制される。
【0009】
本発明に係る分光装置は、[3]「前記回路基板は、前記電流/電圧変換部が設けられた第1基板と、前記可撓性ケーブルの接続部が設けられた第2基板と、を含む、上記[2]に記載の分光装置」であってもよい。このように、マルチチャンネル光検出器に保持される回路基板は、電流/電圧変換部が設けられた基板と可撓性ケーブルの接続部が設けられた基板とに分割されていてもよい。この場合、可撓性ケーブルから多少の応力があってもマルチチャンネル光検出器への影響は抑制することができ、マルチチャンネル光検出器での耐衝撃性が向上される。
【0010】
本発明に係る分光装置は、[4]「前記筐体は、導電性材料により構成されている、上記[1]~[3]のいずれかに記載の分光装置」であってもよい。この場合、導電性材料からなるの筐体により外来ノイズの影響が低減される。
(【0011】以降は省略されています)
この特許をJ-PlatPat(特許庁公式サイト)で参照する
関連特許
浜松ホトニクス株式会社
検査装置及び検査方法
3日前
浜松ホトニクス株式会社
波長可変光源及び波長制御方法
10日前
浜松ホトニクス株式会社
光情報取得装置及び光情報取得方法
3日前
浜松ホトニクス株式会社
荷電粒子検出器及び走査型電子顕微鏡
3日前
浜松ホトニクス株式会社
線維状タンパク質又は線維状ペプチドの構造多形を識別する方法及び装置
3日前
浜松ホトニクス株式会社
全焦点画像生成方法、全焦点画像生成装置、及び全焦点画像生成プログラム
4日前
浜松ホトニクス株式会社
学習方法、推論モデル、ノイズ低減方法、ノイズ低減システム及びノイズ低減プログラム
3日前
個人
視触覚センサ
3日前
個人
採尿及び採便具
1か月前
日本精機株式会社
検出装置
1か月前
個人
アクセサリー型テスター
1か月前
個人
高精度同時多点測定装置
1か月前
個人
計量機能付き容器
28日前
株式会社ミツトヨ
測定器
1か月前
日本精機株式会社
発光表示装置
11日前
甲神電機株式会社
電流検出装置
1か月前
株式会社カクマル
境界杭
18日前
ユニパルス株式会社
トルク変換器
3日前
ユニパルス株式会社
トルク変換器
3日前
ユニパルス株式会社
トルク変換器
3日前
株式会社トプコン
測量装置
10日前
アズビル株式会社
電磁流量計
1か月前
大成建設株式会社
風洞実験装置
28日前
日本信号株式会社
距離画像センサ
1か月前
個人
計量具及び計量機能付き容器
28日前
日本特殊陶業株式会社
ガスセンサ
4日前
ローム株式会社
半導体装置
1か月前
日本特殊陶業株式会社
ガスセンサ
26日前
ローム株式会社
半導体装置
1か月前
日本特殊陶業株式会社
ガスセンサ
10日前
大和製衡株式会社
組合せ計量装置
1か月前
双庸電子株式会社
誤配線検査装置
1か月前
大和製衡株式会社
組合せ計量装置
1か月前
愛知電機株式会社
軸部材の外観検査装置
1か月前
個人
非接触による電磁パルスの測定方法
1か月前
日本特殊陶業株式会社
ガスセンサ
3日前
続きを見る
他の特許を見る