TOP
|
特許
|
意匠
|
商標
特許ウォッチ
Twitter
他の特許を見る
公開番号
2025177242
公報種別
公開特許公報(A)
公開日
2025-12-05
出願番号
2024083885
出願日
2024-05-23
発明の名称
荷電粒子検出器及び走査型電子顕微鏡
出願人
浜松ホトニクス株式会社
代理人
個人
,
個人
,
個人
,
個人
主分類
H01J
37/244 20060101AFI20251128BHJP(基本的電気素子)
要約
【課題】薄型化及び組み付け精度の向上を図ることができる荷電粒子検出器を提供する。
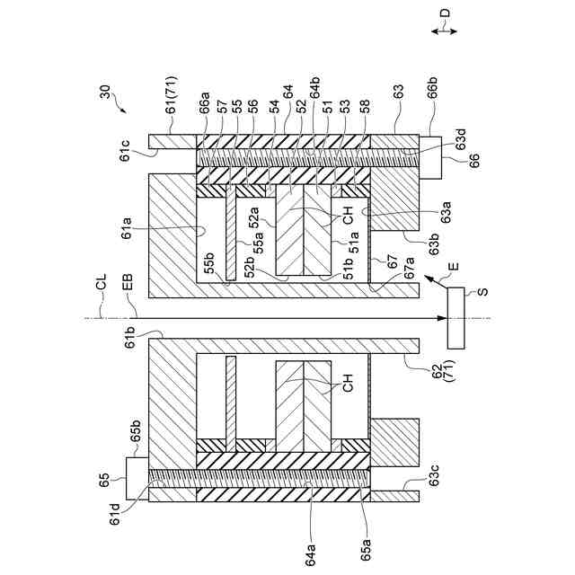
【解決手段】荷電粒子検出器30は、MCP51,52と、MCP51,52から出力された電子を収集するアノード電極55と、方向Dにおいて互いの間にMCP51,52及びアノード電極55を挟み込む第1板部61及び第2板部63と、方向Dに垂直な方向から見た場合にMCP51,52と重なるように第1板部61と第2板部63との間に配置されたスペーサ64と、を備え、スペーサ64には、第1ネジ穴64a及び第2ネジ穴64bが形成されており、第1板部61を貫通した第1ネジ65が第1ネジ穴64aに螺合することにより第1板部61がスペーサ64に固定されていると共に、第2板部63を貫通した第2ネジ66が第2ネジ穴64bに螺合することにより第2板部63がスペーサ64に固定されている。
【選択図】図4
特許請求の範囲
【請求項1】
荷電粒子の入射に応じて電子を発生させ、発生した電子を増倍して出力するマイクロチャネルプレートと、
前記マイクロチャネルプレートから出力された電子を収集する電子収集部と、
所定方向において互いの間に前記マイクロチャネルプレート及び前記電子収集部を挟み込む第1板部及び第2板部と、
前記所定方向に垂直な方向から見た場合に前記マイクロチャネルプレートと重なるように前記第1板部と前記第2板部との間に配置されたスペーサと、を備え、
前記スペーサには、第1ネジ穴及び第2ネジ穴が形成されており、
前記第1板部を貫通した第1ネジが前記第1ネジ穴に螺合することにより前記第1板部が前記スペーサに固定されていると共に、前記第2板部を貫通した第2ネジが前記第2ネジ穴に螺合することにより前記第2板部が前記スペーサに固定されている、荷電粒子検出器。
続きを表示(約 1,200 文字)
【請求項2】
前記第1ネジ穴は、前記所定方向から見た場合に前記第2ネジ穴と重ならない位置に配置されている、請求項1に記載の荷電粒子検出器。
【請求項3】
前記第1ネジ穴及び前記第2ネジ穴の各々は、前記所定方向に沿って前記スペーサを貫通している、請求項1又は2に記載の荷電粒子検出器。
【請求項4】
前記第1板部における前記スペーサ側の表面には第1凹部が形成されており、
前記第2板部における前記スペーサ側の表面には第2凹部が形成されており、
前記第1凹部は、前記所定方向から見た場合に前記第2ネジ穴と重なる位置に配置されており、前記所定方向から見た場合に前記第2ネジよりも大きな形状を有し、
前記第2凹部は、前記所定方向から見た場合に前記第1ネジ穴と重なる位置に配置されており、前記所定方向から見た場合に前記第1ネジよりも大きな形状を有する、請求項3に記載の荷電粒子検出器。
【請求項5】
前記第1ネジ及び前記第2ネジは、前記所定方向に垂直な方向から見た場合に互いに重なるように延在している、請求項1又は2に記載の荷電粒子検出器。
【請求項6】
前記第1ネジは、前記所定方向に垂直な方向から見た場合に前記マイクロチャネルプレートと重なるように延在しており、
前記第2ネジは、前記所定方向に垂直な方向から見た場合に前記マイクロチャネルプレートと重なるように延在している、請求項1又は2に記載の荷電粒子検出器。
【請求項7】
前記第1ネジは、前記所定方向に垂直な方向から見た場合に前記スペーサの略全体と重なるように延在しており、
前記第2ネジは、前記所定方向に垂直な方向から見た場合に前記スペーサの略全体と重なるように延在している、請求項1又は2に記載の荷電粒子検出器。
【請求項8】
前記第1板部及び前記第2板部が導電性材料により形成されると共に前記スペーサが絶縁性材料により形成されており、前記第1板部及び前記第2板部が互いに電気的に絶縁されている、請求項1又は2に記載の荷電粒子検出器。
【請求項9】
導電性のメッシュ部材を更に備え、
前記第2板部には、前記荷電粒子が通過する荷電粒子通過開口が形成されており、
前記メッシュ部材は、前記荷電粒子通過開口を覆うように前記第2板部に固定され、前記第2板部に電気的に接続されている、請求項8に記載の荷電粒子検出器。
【請求項10】
電子線を出力する電子線源と、
前記電子線を試料に向けて集束させる対物レンズと、
前記電子線の照射により前記試料において発生した電子を検出する、請求項1又は2に記載の荷電粒子検出器と、を備える走査型電子顕微鏡。
発明の詳細な説明
【技術分野】
【0001】
本発明は、荷電粒子検出器及び走査型電子顕微鏡に関する。
続きを表示(約 2,300 文字)
【背景技術】
【0002】
荷電粒子検出器として、マイクロチャネルプレートにおいて増倍された電子をアノード電極により検出するものがある(例えば特許文献1参照)。
【先行技術文献】
【特許文献】
【0003】
特許第3561018号公報
【発明の概要】
【発明が解決しようとする課題】
【0004】
上述したような荷電粒子検出器は、例えば走査型電子顕微鏡において電子の検出に用いられる場合があり、その場合、走査型電子顕微鏡の高分解能化のために荷電粒子検出器を薄型化することが求められる。また、荷電粒子検出器には、組み付け精度の向上が求められる場合がある。
【0005】
本発明は、薄型化及び組み付け精度の向上を図ることができる荷電粒子検出器、及びそのような荷電粒子検出器を備える走査型電子顕微鏡を提供することを目的とする。
【課題を解決するための手段】
【0006】
本発明の荷電粒子検出器は、[1]「荷電粒子の入射に応じて電子を発生させ、発生した電子を増倍して出力するマイクロチャネルプレートと、前記マイクロチャネルプレートから出力された電子を収集する電子収集部と、所定方向において互いの間に前記マイクロチャネルプレート及び前記電子収集部を挟み込む第1板部及び第2板部と、前記所定方向に垂直な方向から見た場合に前記マイクロチャネルプレートと重なるように前記第1板部と前記第2板部との間に配置されたスペーサと、を備え、前記スペーサには、第1ネジ穴及び第2ネジ穴が形成されており、前記第1板部を貫通した第1ネジが前記第1ネジ穴に螺合することにより前記第1板部が前記スペーサに固定されていると共に、前記第2板部を貫通した第2ネジが前記第2ネジ穴に螺合することにより前記第2板部が前記スペーサに固定されている、荷電粒子検出器」である。
【0007】
この荷電粒子検出器では、所定方向に垂直な方向から見た場合にマイクロチャネルプレートと重なるように第1板部と第2板部との間に配置されたスペーサに第1ネジ穴及び第2ネジ穴が形成されており、第1板部を貫通した第1ネジが第1ネジ穴に螺合することにより第1板部がスペーサに固定されていると共に、第2板部を貫通した第2ネジが第2ネジ穴に螺合することにより第2板部がスペーサに固定されている。これにより、例えば、第1板部にネジ穴を形成し、第2板部及びスペーサを貫通したネジを第1板部のネジ穴に螺合することで第1板部及び第2板部をスペーサに固定する構成と比べて、第1板部、第2板部及びスペーサの全体の厚さを薄くすることができる。また、当該構成ではスペーサとネジとの間の隙間に起因して組み付け誤差が生じるおそれがあるのに対し、この荷電粒子検出器では第1ネジが第1ネジ穴に螺合すると共に第2ネジが第2ネジ穴に螺合しているため、そのような組み付け誤差の発生を抑制することができる。よって、この荷電粒子検出器によれば、薄型化及び組み付け精度の向上を図ることができる。
【0008】
本発明の荷電粒子検出器は、[2]「前記第1ネジ穴は、前記所定方向から見た場合に前記第2ネジ穴と重ならない位置に配置されている、[1]に記載の荷電粒子検出器」であってもよい。この場合、第1ネジ及び第2ネジを互いに干渉しないように配置することができ、第1ネジ及び第2ネジ(第1ネジ穴及び第2ネジ穴)の長さを十分に確保することが可能となる。これにより、第1ネジと第1ネジ穴との間の螺合量及び第2ネジと第2ネジ穴との間の螺合量を増加させることが可能となり、その結果、第1板部及び第2板部のスペーサに対する固定強度を十分に確保することが可能となる。
【0009】
本発明の荷電粒子検出器は、[3]「前記第1ネジ穴及び前記第2ネジ穴の各々は、前記所定方向に沿って前記スペーサを貫通している、[1]又は[2]に記載の荷電粒子検出器」であってもよい。この場合、第1ネジ及び第2ネジ(第1ネジ穴及び第2ネジ穴)の長さを十分に確保することが可能となる。これにより、第1ネジと第1ネジ穴との間の螺合量及び第2ネジと第2ネジ穴との間の螺合量を増加させることが可能となり、その結果、第1板部及び第2板部のスペーサに対する固定強度を十分に確保することが可能となる。
【0010】
本発明の荷電粒子検出器は、[4]「前記第1板部における前記スペーサ側の表面には第1凹部が形成されており、前記第2板部における前記スペーサ側の表面には第2凹部が形成されており、前記第1凹部は、前記所定方向から見た場合に前記第2ネジ穴と重なる位置に配置されており、前記所定方向から見た場合に前記第2ネジよりも大きな形状を有し、前記第2凹部は、前記所定方向から見た場合に前記第1ネジ穴と重なる位置に配置されており、前記所定方向から見た場合に前記第1ネジよりも大きな形状を有する、[3]に記載の荷電粒子検出器」であってもよい。この場合、第1ネジがスペーサから第2板部の側に露出する程度にまで第1ネジの長さを長くしたとしても、第1ネジが第2板部に干渉することを第2凹部によって抑制することができる。また、第2ネジがスペーサから第1板部の側に露出する程度にまで第2ネジの長さを長くしたとしても、第2ネジが第1板部に干渉することを第1凹部によって抑制することができる。
(【0011】以降は省略されています)
この特許をJ-PlatPat(特許庁公式サイト)で参照する
関連特許
浜松ホトニクス株式会社
光集積回路
19日前
浜松ホトニクス株式会社
検査装置及び検査方法
4日前
浜松ホトニクス株式会社
波長可変光源及び波長制御方法
11日前
浜松ホトニクス株式会社
光学素子、及び光学素子の製造方法
今日
浜松ホトニクス株式会社
光情報取得装置及び光情報取得方法
4日前
浜松ホトニクス株式会社
血糖値測定装置及び血糖値測定方法
12日前
浜松ホトニクス株式会社
荷電粒子検出器及び走査型電子顕微鏡
4日前
浜松ホトニクス株式会社
線維状タンパク質又は線維状ペプチドの構造多形を識別する方法及び装置
4日前
浜松ホトニクス株式会社
全焦点画像生成方法、全焦点画像生成装置、及び全焦点画像生成プログラム
5日前
浜松ホトニクス株式会社
学習方法、推論モデル、ノイズ低減方法、ノイズ低減システム及びノイズ低減プログラム
4日前
APB株式会社
蓄電セル
1か月前
東ソー株式会社
絶縁電線
1か月前
日機装株式会社
加圧装置
4日前
マクセル株式会社
電源装置
1か月前
ローム株式会社
半導体装置
1か月前
株式会社東芝
端子台
1か月前
日新イオン機器株式会社
イオン源
4日前
三菱電機株式会社
回路遮断器
27日前
株式会社GSユアサ
蓄電装置
1か月前
株式会社GSユアサ
蓄電装置
1か月前
株式会社GSユアサ
蓄電装置
1か月前
株式会社GSユアサ
蓄電装置
19日前
富士電機株式会社
電磁接触器
19日前
株式会社ホロン
冷陰極電子源
1か月前
日新イオン機器株式会社
基板処理装置
1か月前
日本特殊陶業株式会社
保持装置
1か月前
株式会社東芝
電子源
4日前
大電株式会社
電線又はケーブル
11日前
北道電設株式会社
配電具カバー
1か月前
ホシデン株式会社
複合コネクタ
13日前
トヨタ自動車株式会社
蓄電装置
1か月前
トヨタ自動車株式会社
バッテリ
1か月前
トヨタ自動車株式会社
蓄電装置
11日前
トヨタ自動車株式会社
冷却構造
1か月前
個人
電源ボックス及び電子機器
4日前
日本特殊陶業株式会社
保持装置
1か月前
続きを見る
他の特許を見る