TOP
|
特許
|
意匠
|
商標
特許ウォッチ
Twitter
他の特許を見る
公開番号
2025177906
公報種別
公開特許公報(A)
公開日
2025-12-05
出願番号
2024085060
出願日
2024-05-24
発明の名称
検査装置及び検査方法
出願人
浜松ホトニクス株式会社
代理人
個人
,
個人
,
個人
,
個人
主分類
G01N
21/89 20060101AFI20251128BHJP(測定;試験)
要約
【課題】対象物における異物の材質を精度良く識別できる検査装置及び検査方法を提供する。
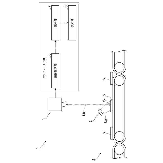
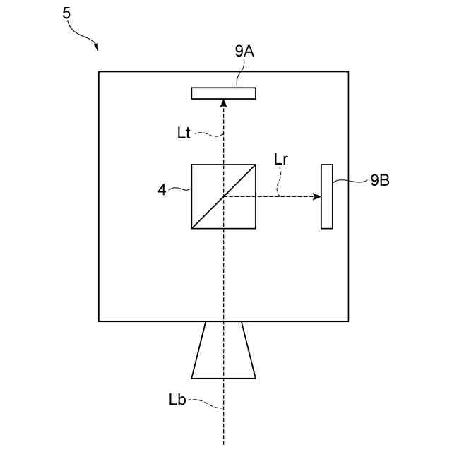
【解決手段】検査装置1は、所定の波長領域において透過率及び反射率が単調に変化する特性を有する光学素子4と、対象物Sからの光Lbのうち、光学素子4を透過した透過光Lt及び光学素子4で反射した反射光Lrを受光し、透過光Ltの輝度データ及び反射光Lrの輝度データを出力する受光部5と、透過光Ltの輝度データ及び反射光Lrの輝度データに基づいて、対象物Sからの光Lbに対する対象物Sの重心波長画像データGCを生成する画像生成部6と、重心波長画像データGCに基づいて、対象物Sにおける異物Wの材質を識別する識別部7と、を備える。
【選択図】図1
特許請求の範囲
【請求項1】
対象物における異物の材質を識別する検査装置であって、
所定の波長領域において透過率及び反射率が単調に変化する特性を有する光学素子と、
前記対象物からの光のうち、前記光学素子を透過した透過光及び前記光学素子で反射した反射光を受光し、前記透過光の輝度データ及び前記反射光の輝度データを出力する受光部と、
前記透過光の輝度データ及び前記反射光の輝度データに基づいて、前記対象物からの光に対する前記対象物の重心波長画像データを生成する画像生成部と、
前記重心波長画像データに基づいて、前記対象物における異物の材質を識別する識別部と、を備える、検査装置。
続きを表示(約 1,000 文字)
【請求項2】
前記光学素子は、互いに異なる複数の波長領域のそれぞれにおいて透過率及び反射率が単調に変化する特性を有する、請求項1記載の検査装置。
【請求項3】
前記画像生成部は、前記透過光の輝度データ及び前記反射光の輝度データに基づいて、前記対象物からの光に対する前記対象物の輝度画像データを生成し、
前記識別部は、前記重心波長画像データ及び前記輝度画像データに基づいて、前記対象物における異物の材質を識別する、請求項2記載の検査装置。
【請求項4】
前記識別部は、前記重心波長画像データと前記輝度画像データとの相関に基づいて、前記対象物における異物の材質を識別する、請求項3記載の検査装置。
【請求項5】
前記画像生成部は、互いに異なる2つの波長領域の前記輝度画像データ同士の比に基づく比画像データを生成し、
前記識別部は、前記比画像データと、前記比画像データの生成に用いた前記波長領域のそれぞれにおける前記重心波長画像データとに基づいて、前記対象物における異物の材質を識別する、請求項3記載の検査装置。
【請求項6】
前記識別部は、前記重心波長画像データと予め設定された閾値との比較に基づいて、前記対象物における異物の材質が透明体であるか否かを識別する、請求項1記載の検査装置。
【請求項7】
前記対象物に向けて時間的に波長を切り替えて検査光を出力する光源部を備える、請求項1記載の検査装置。
【請求項8】
前記受光部は、前記光学素子を透過した前記透過光を受光する第1のセンサと、前記光学素子で反射した前記反射光を受光する第2のセンサと、を有する、請求項1~7のいずれか一項記載の検査装置。
【請求項9】
前記受光部は、前記光学素子を透過した前記透過光及び前記光学素子を反射した前記反射光の一方を受光する第1のセンサと、前記対象物からの光を前記光学素子を介さずに受光する第2のセンサと、を有する、請求項1~7のいずれか一項記載の検査装置。
【請求項10】
前記受光部は、一方向に配列された複数の画素によって前記光学素子を透過した前記透過光を受光する第1の受光領域と、前記一方向に配列された複数の画素によって前記対象物からの光を前記光学素子を介さずに受光する第2の受光領域と、を含む単一のラインセンサによって構成されている、請求項1~7のいずれか一項記載の検査装置。
(【請求項11】以降は省略されています)
発明の詳細な説明
【技術分野】
【0001】
本開示は、検査装置及び検査方法に関する。
続きを表示(約 1,700 文字)
【背景技術】
【0002】
従来、対象物に光を照射することで対象物の検査を行う検査装置が知られている。このような検査装置としては、例えば特許文献1に記載の判定装置がある。この従来の判定装置は、対象物に赤外光を照射した際の反射光を受光する。そして、反射光における反射スペクトル又は吸収スペクトルのうち、4.18μm以上4.42μm以下の波長帯域を除いたスペクトル強度と、予め取得した1種類以上の樹脂種のスペクトルデータとの相関情報を求め、予め設定した閾値以上でかつ最も高い相関情報を対象物の樹脂種として判定する。
【先行技術文献】
【特許文献】
【0003】
特開2018-100903号公報
【発明の概要】
【発明が解決しようとする課題】
【0004】
上述のような検査装置は、例えば対象物における異物の検査に適用され得る。対象物における異物の材質は様々であり、中には透明体のようなものも含まれ得る。異物の検査を行うにあたっては、検出された異物の材質を識別ことも有用であるが、対象物を透過した透過光や対象物を反射した反射光を単に観察するだけでは、異物の材質を精度良く識別することが難しい場合が考えられる。
【0005】
本開示は、上記課題の解決のためになされたものであり、対象物における異物の材質を精度良く識別できる検査装置及び検査方法を提供することを目的とする。
【課題を解決するための手段】
【0006】
本開示の要旨は、以下に示すとおりである。
【0007】
[1]対象物における異物の材質を識別する検査装置であって、所定の波長領域において透過率及び反射率が単調に変化する特性を有する光学素子と、前記対象物からの光のうち、前記光学素子を透過した透過光及び前記光学素子で反射した反射光を受光し、前記透過光の輝度データ及び前記反射光の輝度データを出力する受光部と、前記透過光の輝度データ及び前記反射光の輝度データに基づいて、前記対象物からの光に対する前記対象物の重心波長画像データを生成する画像生成部と、前記重心波長画像データに基づいて、前記対象物における異物の材質を識別する識別部と、を備える、検査装置。
【0008】
この検査装置では、所定の波長領域において透過率及び反射率が単調に変化する特性を有する光学素子を用い、光学素子を透過した透過光及び光学素子で反射した反射光のそれぞれの輝度データに基づいて、対象物からの光に対する対象物の重心波長画像データを生成する。光学素子の透過率及び反射率は、波長によって単調増加或いは単調減少するため、透過光の輝度データ及び反射光の輝度データから生成される重心波長画像データには、異物の材質に応じて、対象物に照射された光の重心波長からの波長シフト量に関する情報が反映される。したがって、重心波長画像データを用いることで、対象物における異物の材質を精度良く識別できる。
【0009】
[2]前記光学素子は、互いに異なる複数の波長領域のそれぞれにおいて透過率及び反射率が単調に変化する特性を有する、[1]記載の検査装置。この場合、光学素子において、波長領域毎の透過率及び反射率の変化の傾きを大きくすることが可能となる。これにより、重心波長の波長分解能が向上し、異物の材質に応じた波長シフトに対する重心波長画像データの変動量が大きくなる。したがって、対象物における異物の材質を一層精度良く識別できる。
【0010】
[3]前記画像生成部は、前記透過光の輝度データ及び前記反射光の輝度データに基づいて、前記対象物からの光に対する前記対象物の輝度画像データを生成し、前記識別部は、前記重心波長画像データ及び前記輝度画像データに基づいて、前記対象物における異物の材質を識別する、[1]又は[2]記載の検査装置。この場合、重心波長画像データと輝度画像データとを組み合わせることで、対象物における異物の材質を一層精度良く識別できる。
(【0011】以降は省略されています)
この特許をJ-PlatPat(特許庁公式サイト)で参照する
関連特許
個人
視触覚センサ
4日前
個人
採尿及び採便具
1か月前
日本精機株式会社
検出装置
1か月前
個人
アクセサリー型テスター
1か月前
個人
計量機能付き容器
29日前
個人
高精度同時多点測定装置
1か月前
日本精機株式会社
発光表示装置
12日前
株式会社ミツトヨ
測定器
1か月前
株式会社カクマル
境界杭
19日前
愛知電機株式会社
外観検査装置
今日
愛知電機株式会社
外観検査方法
今日
甲神電機株式会社
電流検出装置
1か月前
ユニパルス株式会社
トルク変換器
4日前
ユニパルス株式会社
トルク変換器
4日前
ユニパルス株式会社
トルク変換器
4日前
株式会社トプコン
測量装置
11日前
アズビル株式会社
電磁流量計
1か月前
大成建設株式会社
風洞実験装置
29日前
日本特殊陶業株式会社
ガスセンサ
5日前
ローム株式会社
半導体装置
1か月前
愛知電機株式会社
軸部材の外観検査装置
1か月前
双庸電子株式会社
誤配線検査装置
1か月前
大和製衡株式会社
組合せ計量装置
1か月前
日本特殊陶業株式会社
ガスセンサ
4日前
日本信号株式会社
距離画像センサ
1か月前
ローム株式会社
半導体装置
1か月前
愛知時計電機株式会社
ガスメータ
1か月前
大和製衡株式会社
組合せ計量装置
1か月前
個人
計量具及び計量機能付き容器
29日前
長崎県
形状計測方法
1か月前
個人
システム、装置及び実験方法
1か月前
個人
非接触による電磁パルスの測定方法
1か月前
日本特殊陶業株式会社
ガスセンサ
11日前
日本特殊陶業株式会社
ガスセンサ
27日前
株式会社不二越
X線測定装置
1か月前
本陣水越株式会社
車載式計測標的物
6日前
続きを見る
他の特許を見る