TOP
|
特許
|
意匠
|
商標
特許ウォッチ
Twitter
他の特許を見る
公開番号
2025177678
公報種別
公開特許公報(A)
公開日
2025-12-05
出願番号
2024084723
出願日
2024-05-24
発明の名称
学習方法、推論モデル、ノイズ低減方法、ノイズ低減システム及びノイズ低減プログラム
出願人
浜松ホトニクス株式会社
代理人
個人
,
個人
,
個人
,
個人
主分類
G06N
20/00 20190101AFI20251128BHJP(計算;計数)
要約
【課題】 半導体デバイスの故障解析に用いられる解析画像からランダムノイズによるちらつきを適切に低減する。
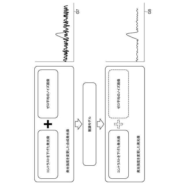
【解決手段】 学習方法は、半導体デバイスの故障解析に用いられる解析画像からランダムノイズによるちらつきを低減するために用いられる推論モデルを生成する方法であって、半導体デバイスに係る対象信号を含むと共にランダムノイズを含む学習用の解析画像、及び対象信号を含まないと共にランダムノイズを含む学習用のノイズ画像を取得する学習用取得ステップ(S01)と、学習用の解析画像のコントラストを低減して、コントラストを低減させた学習用の解析画像に対して、学習用のノイズ画像のランダムノイズを付加して、学習用のノイズ付加画像を生成するノイズ付加ステップ(S02、S03)と、学習用のノイズ付加画像を用いて、推論モデルの機械学習の訓練を行う訓練ステップ(S04)とを含む。
【選択図】 図6
特許請求の範囲
【請求項1】
半導体デバイスの故障解析に用いられる解析画像からランダムノイズによるちらつきを低減するために用いられる推論モデルを生成する学習方法であって、
半導体デバイスに係る対象信号を含むと共にランダムノイズを含む学習用の解析画像、及び当該対象信号を含まないと共にランダムノイズを含む学習用のノイズ画像を取得する学習用取得ステップと、
前記学習用取得ステップにおいて取得された学習用の解析画像のコントラストを低減して、コントラストを低減させた学習用の解析画像に対して、学習用のノイズ画像のランダムノイズを付加して、学習用のノイズ付加画像を生成するノイズ付加ステップと、
前記ノイズ付加ステップにおいて生成された学習用のノイズ付加画像を用いて、推論モデルの機械学習の訓練を行う訓練ステップと、
を含む学習方法。
続きを表示(約 1,300 文字)
【請求項2】
前記訓練ステップにおいて、コントラストを低減させた学習用の解析画像を、ランダムノイズを含まない画像として、かつ、学習用のノイズ付加画像を、ランダムノイズを含む画像として、推論モデルの機械学習の訓練を行う請求項1に記載の学習方法。
【請求項3】
前記ノイズ付加ステップにおいて、前記学習用の解析画像の各画素の画素値から、前記学習用のノイズ画像に応じた画素値を減じて、減じた後の各画素の画素値に予め設定した1未満の係数を乗じて、乗じた後の各画素の画素値に減じた画素値を加えて、コントラストを低減させた学習用の解析画像を生成する請求項1又は2に記載の学習方法。
【請求項4】
前記ノイズ付加ステップにおいて、互いに異なる複数の前記係数を用いて、コントラストを低減させた複数の学習用の解析画像を生成して、複数の学習用のノイズ付加画像を生成する請求項3に記載の学習方法。
【請求項5】
前記学習用取得ステップにおいて、前記学習用の解析画像となり得る部分を含む、当該学習用の解析画像よりもサイズが大きい元画像を取得して、取得した元画像の一部を切り出して、切り出した画像の画素値に基づく値と、前記学習用のノイズ画像の画素値に応じた値とを比較して、比較結果に応じて切り出した画像を当該学習用の解析画像とする請求項1又は2に記載の学習方法。
【請求項6】
前記学習用取得ステップにおいて、切り出した画像の画素値に基づく値と、前記学習用のノイズ画像の画素値の平均又はばらつきの値とを比較して、比較結果に応じて切り出した画像を当該学習用の解析画像とする請求項5に記載の学習方法。
【請求項7】
半導体デバイスの故障解析に用いられる解析画像に基づく情報を入力して、入力に応じた演算を行って情報を出力するようコンピュータを機能させるための推論モデルであって、
請求項1又は2に記載の学習方法によって生成される推論モデル。
【請求項8】
半導体デバイスの故障解析に用いられる解析画像からランダムノイズによるちらつきを低減するノイズ低減方法であって、
半導体デバイスに係る対象信号を含むと共にランダムノイズを含む低減用の解析画像を取得する低減用取得ステップと、
機械学習の訓練によって予め生成される推論モデルを用いて、前記低減用取得ステップにおいて取得された低減用の解析画像から、ランダムノイズによるちらつきが低減された推論画像を生成する画像生成ステップと、
を含むノイズ低減方法。
【請求項9】
前記推論モデルは、請求項1に記載の学習方法によって生成される推論モデルである請求項8に記載のノイズ低減方法。
【請求項10】
前記低減用取得ステップにおいて、低減用の解析画像に対応する前記半導体デバイスのパターン画像も取得し、
前記画像生成ステップにおいて、生成した推論画像と、前記低減用取得ステップにおいて取得されたパターン画像とを重畳した合成画像を生成する請求項8に記載のノイズ低減方法。
(【請求項11】以降は省略されています)
発明の詳細な説明
【技術分野】
【0001】
本発明は、画像からノイズによるちらつきを低減するために用いられる推論モデルを生成する学習方法、生成される推論モデル、並びに生成される推論モデルを用いて、画像からノイズによるちらつきを低減するノイズ低減方法、ノイズ低減システム及びノイズ低減プログラムに関する。
続きを表示(約 1,700 文字)
【背景技術】
【0002】
特許文献1には、機械学習によって生成された推論モデルによって、画像からノイズを低減することが示されている。
【先行技術文献】
【特許文献】
【0003】
特開2023-139782号公報
【発明の概要】
【発明が解決しようとする課題】
【0004】
発光像等の半導体デバイスの故障解析に用いられる解析画像にはランダムノイズが含まれる。半導体デバイスの故障解析では、半導体デバイスのパターン像と解析画像とを重畳して表示することがある。しかし、半導体デバイスのパターン像と解析画像とを重畳表示する際、ランダムノイズによるちらつきにより半導体デバイスのパターン像を視認しにくい場合があった。そのため、解析画像を用いた故障解析を行う際には、ランダムノイズのちらつきを低減することが求められる。
【0005】
上記の特許文献1に示されるものをはじめとした従来の推論モデルは、解析画像からランダムノイズによるちらつきを低減するために特化したものではなく、必ずしも適切にランダムノイズによるちらつきを低減できないおそれがあった。
【0006】
本発明は、上記に鑑みてなされたものであり、半導体デバイスの故障解析に用いられる解析画像からランダムノイズによるちらつきを適切に低減することができる学習方法、推論モデル、ノイズ低減方法、ノイズ低減システム及びノイズ低減プログラムを提供することを目的とする。
【課題を解決するための手段】
【0007】
上記の目的を達成するために、本発明に係る学習方法は、半導体デバイスの故障解析に用いられる解析画像からランダムノイズによるちらつきを低減するために用いられる推論モデルを生成する学習方法であって、半導体デバイスに係る対象信号を含むと共にランダムノイズを含む学習用の解析画像、及び当該対象信号を含まないと共にランダムノイズを含む学習用のノイズ画像を取得する学習用取得ステップと、学習用取得ステップにおいて取得された学習用の解析画像のコントラストを低減して、コントラストを低減させた学習用の解析画像に対して、学習用のノイズ画像のランダムノイズを付加して、学習用のノイズ付加画像を生成するノイズ付加ステップと、ノイズ付加ステップにおいて生成された学習用のノイズ付加画像を用いて、推論モデルの機械学習の訓練を行う訓練ステップと、を含む。
【0008】
本発明に係る学習方法では、コントラストを低減させた学習用の解析画像に対して、学習用のノイズ画像のランダムノイズが付加されて、学習用のノイズ付加画像が生成される。このような学習用のノイズ付加画像を用いて生成される推論モデルは、解析画像からランダムノイズによるちらつきを適切に低減することができるものとなる。従って、本発明に係る学習方法によれば、解析画像からランダムノイズによるちらつきを適切に低減することができる。
【0009】
訓練ステップにおいて、コントラストを低減させた学習用の解析画像を、ランダムノイズを含まない画像として、かつ、学習用のノイズ付加画像を、ランダムノイズを含む画像として、推論モデルの機械学習の訓練を行うこととしてもよい。この構成によれば、より適切に推論モデルの機械学習の訓練を行って、より適切な推論モデルを生成することができる。その結果、解析画像からランダムノイズによるちらつきをより適切に低減することができる。
【0010】
ノイズ付加ステップにおいて、学習用の解析画像の各画素の画素値から、学習用のノイズ画像に応じた画素値を減じて、減じた後の各画素の画素値に予め設定した1未満の係数を乗じて、乗じた後の各画素の画素値に減じた画素値を加えて、コントラストを低減させた学習用の解析画像を生成することとしてもよい。この構成によれば、より適切な、コントラストを低減させた学習用の解析画像を生成することができる。その結果、解析画像からランダムノイズによるちらつきをより適切に低減することができる。
(【0011】以降は省略されています)
この特許をJ-PlatPat(特許庁公式サイト)で参照する
関連特許
浜松ホトニクス株式会社
検査装置及び検査方法
4日前
浜松ホトニクス株式会社
波長可変光源及び波長制御方法
11日前
浜松ホトニクス株式会社
光学素子、及び光学素子の製造方法
今日
浜松ホトニクス株式会社
光情報取得装置及び光情報取得方法
4日前
浜松ホトニクス株式会社
荷電粒子検出器及び走査型電子顕微鏡
4日前
浜松ホトニクス株式会社
線維状タンパク質又は線維状ペプチドの構造多形を識別する方法及び装置
4日前
浜松ホトニクス株式会社
全焦点画像生成方法、全焦点画像生成装置、及び全焦点画像生成プログラム
5日前
浜松ホトニクス株式会社
学習方法、推論モデル、ノイズ低減方法、ノイズ低減システム及びノイズ低減プログラム
4日前
個人
RFタグシート
1か月前
個人
5掛けポイント
1か月前
個人
職業自動販売機
25日前
個人
ペルソナ認証方式
1か月前
個人
自動調理装置
1か月前
個人
情報処理装置
1か月前
個人
立体グラフの利用方法
4日前
NISSHA株式会社
入力装置
5日前
個人
インターネットの利用構造
1か月前
個人
サービス情報提供システム
27日前
個人
スケジュール調整プログラム
1か月前
個人
学習用データ生成装置
6日前
個人
エリアガイドナビAIシステム
1か月前
トヨタ自動車株式会社
通知装置
1か月前
キヤノン株式会社
情報処理装置
19日前
キヤノン株式会社
画像認識装置
19日前
キヤノン株式会社
情報処理装置
1か月前
株式会社ワコム
電子ペン
1か月前
株式会社ケアコム
項目選択装置
1か月前
株式会社ケアコム
項目選択装置
1か月前
株式会社ワコム
電子ペン
1か月前
キヤノン株式会社
情報処理装置
19日前
キラル株式会社
顧客体験提供システム
7日前
株式会社アジラ
行動推定システム
19日前
株式会社ITP
仮想展示システム
13日前
太陽誘電株式会社
表示装置
1か月前
大同大學
スーパーアプリ構築方法
19日前
個人
請求金額算出システム
11日前
続きを見る
他の特許を見る