TOP
|
特許
|
意匠
|
商標
特許ウォッチ
Twitter
他の特許を見る
10個以上の画像は省略されています。
公開番号
2025171902
公報種別
公開特許公報(A)
公開日
2025-11-20
出願番号
2024138392
出願日
2024-08-20
発明の名称
スーパーアプリ構築方法
出願人
大同大學
代理人
個人
主分類
G06F
8/30 20180101AFI20251113BHJP(計算;計数)
要約
【課題】本発明は、スーパーアプリ構築方法を提供する。
【解決手段】アプリ開発ツールを通じてマスタアプリ及び1以上のスレーブアプリを選択肢、マスタアプリにより情報伝送マネージャー及びバックグラウンドアプリケーションプログラミングインターフェイスエクゼキュータを確立する。情報伝送マネージャーによりスーパーアプリ中の各アプリが伝送するデータコンテンツを保存し、情報伝送マネージャーを通じて各アプリにデータコンテンツを読み取らせる。バックグラウンドアプリケーションプログラミングインターフェイスエクゼキュータはその他のアプリのバックグラウンドアプリケーションプログラミングインターフェイス実行マスタファイルの内容を呼び出してマスタアプリのバックグラウンドで実行させる。よって複数のアプリケーションを統合して一つのスーパーアプリとすることができる。
【選択図】図3
特許請求の範囲
【請求項1】
プロセッサを使用して実行するのに適し、
アプリ開発ツールを通じて第1スーパーアプリを確立するステップを含み、そのうち前記第1スーパーアプリは複数の第1アプリを含み、前記複数の第1アプリは一つのマスタアプリと少なくとも1つのスレーブアプリを含み、
前記第1スーパーアプリを確立するステップは、
前記アプリ開発ツールを通じて前記マスタアプリを選択すること、
前記マスタアプリが選択されたことに応じて、前記マスタアプリ中に情報伝送マネージャーとバックグラウンドアプリケーションプログラミングインターフェイスエクゼキュータを確立すること、
前記アプリ開発ツールが前記マスタアプリを選択した状況で、前記アプリ開発ツールを通じて前記少なくとも1つのスレーブアプリを選択すること、
前記情報伝送マネージャーを通じて、前記マスタアプリと各前記スレーブアプリとの間の伝送経路を確立すること、
前記バックグラウンドアプリケーションプログラミングインターフェイスエクゼキュータを通じて、前記マスタアプリと各前記スレーブアプリのバックグラウンドアプリケーションプログラミングインターフェイス実行マスタファイルとの間の呼び出し関連付けを確立することとを含む、スーパーアプリ構築方法。
続きを表示(約 1,500 文字)
【請求項2】
前記情報伝送マネージャーを通じて前記マスタアプリと各前記スレーブアプリとの間の伝送経路を確立するステップが、
前記情報伝送マネージャーを通じて前記マスタアプリ中に各前記スレーブアプリに対応するディレクトリパスを確立すること、
各前記スレーブアプリを対応する前記ディレクトリパスに格納することで、前記情報伝送マネージャーに前記ディレクトリパスを介して前記マスタアプリと各前記スレーブアプリからそれぞれ送信されたデータコンテンツを保存させ、前記マスタアプリと各前記スレーブアプリが前記ディレクトリパスによって保存されたデータコンテンツを読み取れるようにすることとを含む、請求項1に記載の方法。
【請求項3】
前記アプリ開発ツールが前記マスタアプリを起動している状況で、前記アプリ開発ツールを通じて前記少なくとも一つのスレーブアプリを選択した後、各前記スレーブアプリに対応するオブジェクトを前記第1スーパーアプリの指定されたページに追加し、前記オブジェクトを対応する各前記スレーブアプリの前記ディレクトリパスに関連付けることをさらに含む、請求項2に記載の方法。
【請求項4】
前記アプリ開発ツールが前記マスタアプリを選択している状況で、
前記アプリ開発ツールを通じて第2スーパーアプリを選択し、そのうち前記第2スーパーアプリが複数の第2アプリを含み、前記複数の第2アプリの1つが前記第2スーパーアプリのマスタアプリであること、及び、
前記第2スーパーアプリを前記第1スーパーアプリにインポートし、前記第2スーパーアプリに含まれる前記複数の第2アプリを前記第1スーパーアプリのスレーブアプリとするステップをさらに含み、
前記第2スーパーアプリを前記第1スーパーアプリにインポートし、前記第2スーパーアプリに含まれる前記複数の第2アプリを前記第1スーパーアプリのスレーブアプリとするステップには、
前記第1スーパーアプリの前記情報伝送マネージャーを通じて前記第1スーパーアプリの前記マスタアプリと前記第2スーパーアプリの各前記第2アプリとの間の伝送経路を確立すること、及び、
前記第1スーパーアプリの前記バックグラウンドアプリケーションプログラミングインターフェイスエクゼキュータを通じて前記第1スーパーアプリの前記マスタアプリと前記第2スーパーアプリの各前記複数の第2アプリのバックグラウンドアプリケーションプログラミングインターフェイス実行マスタファイルと間の呼び出し関連付けを確立することとを含む、請求項1に記載の方法。
【請求項5】
前記第1スーパーアプリの前記情報伝送マネージャーを通じて前記第1スーパーアプリの前記マスタアプリと前記第2スーパーアプリの各前記複数の第2アプリとの間の伝送経路を確立するステップが、
前記情報伝送マネージャーを通じて前記第1スーパーアプリの前記マスタアプリ中に各前記複数の第2アプリに対応するディレクトリパスを確立すること、
各前記複数の第2アプリを対応する前記ディレクトリパスに格納することとを含む、請求項4に記載の方法。
【請求項6】
前記バックグラウンドアプリケーションプログラミングインターフェイスエクゼキュータは、各前記スレーブアプリの前記バックグラウンドアプリケーションプログラミングインターフェイス実行マスタファイルを呼び出すために使用される、請求項1に記載の方法。
【請求項7】
前記アプリ開発ツールを通じて前記第1スーパーアプリにバックエンド管理機能を追加することをさらに含む、請求項1に記載の方法。
発明の詳細な説明
【技術分野】
【0001】
本発明は、アプリケーション(application,APP)の構築方法に関し、特に、スーパーアプリ(Super APP)の構築方法に関する。
続きを表示(約 2,400 文字)
【背景技術】
【0002】
スーパーアプリ(Super APP)とは、1つのアプリケーション(APP)で複数のサービスを提供し、ユーザの複数のニーズに応え、ワンストップ(one stop)で解決策を実現することを指す。スーパーアプリ、すなわちスーパーAPPは、さまざまな機能を同一のAPPに集積して確立される。ただし、現時点では、既存のAPPの組み合わせを簡単にインポートしてスーパーAPPを形成することはできない。現在のAPP開発方法では、APPを直接モジュール化して他のAPPプロジェクトに統合して使用することは容易ではなく、通常は独自にモジュールを確立するか、JavaScriptツールライブラリ(Libなど)が提供する機能を利用して開発する必要がある。さらに、サードパーティサービスを統合する場合、信頼性とセキュリティの問題に直面する可能性があり、同時にサードパーティアプリケーションプログラミングインターフェイス(Application Programming Interface,API)が変更される可能性もある。
【発明の概要】
【発明が解決しようとする課題】
【0003】
本発明は、開発者がアプリの高い相互運用性を確保しながら、単一のプラットフォーム上で複数のアプリを容易に構築および管理できるようにするスーパーアプリ(Super APP)構築方法を提供する。
【課題を解決するための手段】
【0004】
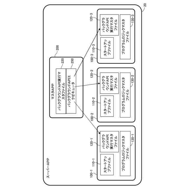
本発明のスーパーAPPを構築する方法は、プロセッサを使用して方法を実行するのに適し、該方法は、APP開発ツールを通じて第1スーパーAPPを確立するステップを含み、第1スーパーAPPは複数の第1APPを含み、これらの第1APPは一つのマスタAPPと少なくとも1つのスレーブAPPを含む。第1スーパーAPP確立ステップは、APP開発ツールを通じてマスタAPPを選択すること、マスタAPPが選択されたことに応じて、マスタAPP中に情報伝送マネージャーとバックグラウンドアプリケーションプログラミングインターフェイス(Application Programming Interface,API)エクゼキュータを確立すること、APP開発ツールがマスタAPPを選択した状況で、APP開発ツールを通じて少なくとも1つのスレーブAPPを選択すること、情報伝送マネージャーを通じて、マスタAPPと各スレーブAPPとの間の伝送経路を確立すること、及びバックグラウンドAPIエクゼキュータを通じて、マスタAPPと各スレーブAPPのバックグラウンドAPI実行マスタファイルとの間の呼び出し関連付けを確立することを含む。
【0005】
本発明の一実施形態において、情報伝送マネージャーを通じてマスタAPPと各スレーブAPPとの間の伝送経路を確立するステップは、情報伝送マネージャーを通じてマスタAPP中に各スレーブAPPに対応するディレクトリパスを確立すること、及び、各スレーブAPPを対応するディレクトリパスに格納することで、情報伝送マネージャーにディレクトリパスを介してマスタAPPと各スレーブAPPからそれぞれ送信されたデータコンテンツを保存させ、マスタAPPと各スレーブAPPがディレクトリパスによって保存されたデータコンテンツを読み取れるようにすることを含む。
【0006】
本発明の一実施形態では、APP開発ツールがマスタAPPを起動している状況で、APP開発ツールを通じてスレーブAPPを選択した後、各スレーブAPPに対応するオブジェクトを第1スーパーAPPの指定されたページに追加し、このオブジェクトを対応するスレーブAPPのディレクトリパスに関連付けることができる。
【0007】
本発明の一実施形態では、APP開発ツールがマスタAPPを選択している状況でさらに、APP開発ツールを通じて第2スーパーAPPを選択し、そのうち第2スーパーAPPが複数の第2APPを含み、これらの第2APPの1つが第2スーパーAPPのマスタAPPであること、及び第2スーパーAPPを第1スーパーAPPにインポートし、第2スーパーAPPに含まれる第2APPを第1スーパーAPPのスレーブAPPとするステップを含み、またこのステップには、第1スーパーAPPの情報伝送マネージャーを通じて第1スーパーAPPのマスタAPPと第2スーパーAPPの各第2APPとの間の伝送経路を確立すること、及び第1スーパーAPPのバックグラウンドAPIエクゼキュータを通じて第1スーパーAPPのマスタAPPと第2スーパーAPPの各第2APPのバックグラウンドAPI実行マスタファイルと間の呼び出し関連付けを確立することを含む。
【0008】
本発明の一実施形態では、バックグラウンドAPIエクゼキュータは、各スレーブAPPのバックグラウンドAPI実行マスタファイルを呼び出すために使用される。
【0009】
本発明の一実施形態では、第1スーパーAPPの情報伝送マネージャーを通じて第1スーパーAPPのマスタAPPと第2スーパーAPPの各第2APPとの間の伝送経路を確立するステップは、情報伝送マネージャーを通じて第1スーパーAPPのマスタAPP中に各第2APPに対応するディレクトリパスを確立すること、及び各第2APPを対応するディレクトリパスに格納することを含む。
【0010】
本発明の一実施形態では、バックグラウンドAPIエクゼキュータは、各スレーブAPPのバックグラウンドAPI実行マスタファイルを呼び出すために使用される。
(【0011】以降は省略されています)
この特許をJ-PlatPat(特許庁公式サイト)で参照する
関連特許
大同大學
スーパーアプリ構築方法
22日前
大同大學
構造化クエリ言語コードを生成するための電子装置及び方法
1か月前
個人
5掛けポイント
1か月前
個人
職業自動販売機
28日前
個人
ペルソナ認証方式
1か月前
個人
情報処理装置
1か月前
個人
立体グラフの利用方法
7日前
個人
生体情報の登録システム
1日前
個人
QRコードによる勤怠管理
今日
個人
サービス情報提供システム
1か月前
NISSHA株式会社
入力装置
8日前
個人
データ復元システム
2日前
個人
インターネットの利用構造
1か月前
個人
学習用データ生成装置
9日前
個人
ナショナルブランド共同ストア
1日前
個人
エリアガイドナビAIシステム
1か月前
株式会社ワコム
電子ペン
1か月前
キヤノン株式会社
画像認識装置
22日前
キヤノン株式会社
情報処理装置
22日前
キヤノン株式会社
情報処理装置
22日前
株式会社ワコム
電子ペン
1か月前
株式会社ケアコム
項目選択装置
1か月前
株式会社ケアコム
項目選択装置
1か月前
キヤノン株式会社
情報処理装置
1か月前
キラル株式会社
顧客体験提供システム
10日前
日本信号株式会社
情報読取装置
1日前
大同大學
スーパーアプリ構築方法
22日前
株式会社ITP
仮想展示システム
16日前
キヤノン電子株式会社
情報処理システム
7日前
個人
請求金額算出システム
14日前
株式会社アジラ
行動推定システム
22日前
株式会社ゼロワン
ケア支援システム
1か月前
PRONI株式会社
受発注支援装置
28日前
アクア株式会社
冷蔵庫
1日前
PRONI株式会社
受発注支援装置
28日前
トヨタ自動車株式会社
作業計画装置
23日前
続きを見る
他の特許を見る