TOP
|
特許
|
意匠
|
商標
特許ウォッチ
Twitter
他の特許を見る
公開番号
2025169528
公報種別
公開特許公報(A)
公開日
2025-11-14
出願番号
2024074277
出願日
2024-05-01
発明の名称
受発注支援装置
出願人
PRONI株式会社
代理人
個人
主分類
G06Q
30/0601 20230101AFI20251107BHJP(計算;計数)
要約
【課題】受発注プロセス全体における十分な支援により受発注活動を容易に行うことを可能にする。
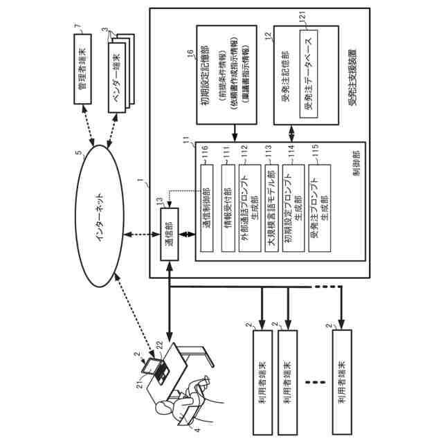
【解決手段】本発明の受発注支援装置1は、受発注データベース121の受発注関連情報に基づいて、プロンプトで与えられた単語や文章が自然言語としてどのように起こりやすいかを確率的に予測し、受発注支援情報を生成するように学習及び調整が行われることで、受発注支援情報の作成に特化された大規模言語モデルを有した大規模言語モデル部113と、利用者4との会話における利用者4の回答情報を受け付ける情報受付部111と、大規模言語モデルにおける受発注支援情報の生成の前提条件として指示する初期設定プロンプト生成部114と、前提条件に基づいて受発注ステージに適合した受発注支援情報を大規模言語モデルに生成させる受発注プロンプト生成部115とを有している。
【選択図】図1
特許請求の範囲
【請求項1】
利用者の課題の受付けからベンダーへの発注に至るまでの受発注プロセスの受発注に関連する受発注関連情報が記憶された受発注データベースと、
前記受発注プロセスの各段階を示す受発注ステージに従って前記利用者との会話を行うように指示する前提条件情報が記憶された初期設定記憶部と、
前記利用者との会話における前記利用者の回答情報を受け付ける情報受付部と、
前記受発注データベースの前記受発注関連情報に基づいて、自然言語処理の1種以上を組み合わせることにより、プロンプトで与えられた単語や文章が自然言語としてどのように起こりやすいかを確率的に予測し、前記受発注プロセスにおいて前記利用者に提示する受発注支援情報を文章生成、質問応答により生成するように学習及び調整が行われることで、前記受発注支援情報の作成に特化された大規模言語モデルを有した大規模言語モデル部と、
前記受発注プロセスの開始時に、前記初期設定記憶部の前記前提条件情報を、前記大規模言語モデルの前記プロンプトに含めることで、前記受発注ステージに従った会話を前記利用者との間で行うことを、前記大規模言語モデルにおける前記受発注支援情報の生成の前提条件として指示する初期設定プロンプト生成部と、
前記受発注プロセスの開始後における前記情報受付部で受け付けられた前記回答情報を、前記大規模言語モデル部の前記プロンプトに含めることで、前記前提条件に基づいて前記受発注ステージに適合した前記受発注支援情報を前記大規模言語モデルに生成させる受発注プロンプト生成部と
を有する、受発注支援装置。
続きを表示(約 1,100 文字)
【請求項2】
前記初期設定記憶部は、
前記受発注ステージにおける前記利用者との会話内容に基づいて、業務内容、要件、発注条件を含む要件整理情報を前記ベンダーに正式に伝えるための提案依頼書を作成するように指示する依頼書作成指示情報が記憶されており、
前記初期設定プロンプト生成部は、
前記初期設定記憶部の前記依頼書作成指示情報を、前記大規模言語モデルの前記プロンプトに含めることで、前記提案依頼書を前記受発注支援情報として前記大規模言語モデルに生成させる
請求項1に記載の受発注支援装置。
【請求項3】
前記受発注データベースは、
前記利用者に関連する利用者情報と、前記ベンダーに関するベンダー情報とを前記受発注関連情報として記憶しており、
前記初期設定記憶部は、
前記受発注ステージが候補ベンダー調査ステージである場合において、前記利用者情報と前記ベンダー情報と、インターネット経由で検索された検索ベンダー情報とに基づいて、前記利用者にとって有力なパートナー候補となる推奨ベンダーを提案するように指示する推奨ベンダー提案情報が記憶されており、
前記初期設定プロンプト生成部は、
前記初期設定記憶部の前記推奨ベンダー提案情報を、前記大規模言語モデルの前記プロンプトに含めることで、前記候補ベンダー調査ステージで提案される前記推奨ベンダーを前記受発注支援情報として前記大規模言語モデルに生成させる
請求項1に記載の受発注支援装置。
【請求項4】
前記初期設定記憶部は、
前記受発注ステージが発注ステージである場合において、契約予定の前記ベンダーの社内決裁のための稟議書を作成するように指示する稟議書指示情報が記憶されており、
前記初期設定プロンプト生成部は、
前記初期設定記憶部の前記稟議書指示情報を、前記大規模言語モデルの前記プロンプトに含めることで、前記発注ステージで作成される前記稟議書を前記受発注支援情報として前記大規模言語モデルに生成させる
請求項1に記載の受発注支援装置。
【請求項5】
外部端末と通信可能な通信部と、
前記受発注支援情報に基づいて前記通信部を制御する通信制御部(通常の機械学習)と、
前記外部端末との通信が確立された場合において、前記外部端末との通話内容を示す通話情報を、前記大規模言語モデル部の前記プロンプトに含めることで、前記外部端末との通話に適合した前記受発注支援情報を前記大規模言語モデルに生成させる外部通話プロンプト生成部と
を有する、請求項1に記載の受発注支援装置。
発明の詳細な説明
【技術分野】
【0001】
本発明は、受発注支援装置に関する。
続きを表示(約 1,900 文字)
【背景技術】
【0002】
受発注を支援する分野において、発注者に最適な発注先を提供可能にする試みが活発に行われている。
【0003】
例えば、特許文献1には、発注者である利用者の操作に基づいて建物の工事内容と必要な製品を決定し、その工事を請け負える業者候補を選定する技術が開示されている。具体的には、利用者の操作により施工内容決定手段と製品決定手段で工事内容と製品を決め、その内容に基づいて業者候補決定手段が工事を請け負える業者を選抜し、利用者の操作で最終的な発注先となる業者候補を決定する技術が開示されている。
【0004】
これにより、特許文献1の技術によれば、施工内容決定手段などの各手段が発注先の業者候補を決めて利用者による選択を可能にすることで、利用者による発注者の選択を容易に行うことが可能になっている。
【先行技術文献】
【特許文献】
【0005】
特開2024-31943号公報
【発明の概要】
【発明が解決しようとする課題】
【0006】
ところで、特許文献1の技術は、施工内容決定手段などの各手段が発注先の業者候補を決めて利用者による選択を可能にしているが、利用者の課題の受付けから業者への発注に至るまでの受発注プロセス全体の受発注活動における支援が不十分である点においてさらなる改良の余地がある。
【0007】
本発明はかかる事情に鑑みてなされたものであり、その目的は、受発注プロセス全体における十分な支援により受発注活動を容易に行うことを可能にする受発注支援装置を提供することである。
【課題を解決するための手段】
【0008】
本発明者らは、上記課題を解決するために鋭意検討した結果、受発注支援情報の作成に特化された大規模言語モデルを利用し、利用者の課題の受付けからベンダーへの発注に至るまでの受発注ステージに従った会話を利用者との間で行うことによって、上記の目的を達成できることを見いだした。そして、本発明者らは、本発明を完成させるに至った。具体的に、本発明は以下のものを提供する。
【0009】
本発明は、利用者の課題の受付けからベンダーへの発注に至るまでの受発注プロセスの受発注に関連する受発注関連情報が記憶された受発注データベースと、
前記受発注プロセスの各段階を示す受発注ステージに従って前記利用者との会話を行うように指示する前提条件情報が記憶された初期設定記憶部と、
前記利用者との会話における前記利用者の回答情報を受け付ける情報受付部と、
前記受発注データベースの前記受発注関連情報に基づいて、自然言語処理の1種以上を組み合わせることにより、プロンプトで与えられた単語や文章が自然言語としてどのように起こりやすいかを確率的に予測し、前記受発注プロセスにおいて前記利用者に提示する受発注支援情報を文章生成、質問応答により生成するように学習及び調整が行われることで、前記受発注支援情報の作成に特化された大規模言語モデルを有した大規模言語モデル部と、
前記受発注プロセスの開始時に、前記初期設定記憶部の前記前提条件情報を、前記大規模言語モデルの前記プロンプトに含めることで、前記受発注ステージに従った会話を前記利用者との間で行うことを、前記大規模言語モデルにおける前記受発注支援情報の生成の前提条件として指示する初期設定プロンプト生成部と、
前記受発注プロセスの開始後における前記情報受付部で受け付けられた前記回答情報を、前記大規模言語モデル部の前記プロンプトに含めることで、前記前提条件に基づいて前記受発注ステージに適合した前記受発注支援情報を前記大規模言語モデルに生成させる受発注プロンプト生成部と
を有する、受発注支援装置である。
【0010】
本発明によれば、受発注プロセスの開始時に、受発注支援情報の作成に特化された大規模言語モデルに対して受発注ステージに従った会話を行うように初期設定し、受発注プロセスの開始後における利用者との会話の回答情報をプロンプトに含めることで、人間のコンシェルジュと会話するように、即ち、利用者が大規模言語モデルに入力するためのプロンプトを記述することなく簡単な問診や自然言語のやり取りだけで発注先を探すなどの受発注活動を十分に支援することが可能になる。これにより、受発注支援情報の作成に特化された大規模言語モデルによる受発注プロセス全体における十分な支援により受発注活動を容易に行うことが可能になる。
【発明の効果】
(【0011】以降は省略されています)
この特許をJ-PlatPat(特許庁公式サイト)で参照する
関連特許
個人
立体グラフの利用方法
3日前
NISSHA株式会社
入力装置
4日前
個人
学習用データ生成装置
5日前
キラル株式会社
顧客体験提供システム
6日前
キヤノン株式会社
情報処理装置
18日前
キヤノン株式会社
情報処理装置
18日前
キヤノン株式会社
画像認識装置
18日前
個人
請求金額算出システム
10日前
大同大學
スーパーアプリ構築方法
18日前
株式会社ITP
仮想展示システム
12日前
キヤノン電子株式会社
情報処理システム
3日前
村田機械株式会社
ストレージシステム
11日前
個人
新規提案・特典情報提供システム
13日前
株式会社結設計
建築物再利用システム
3日前
村田機械株式会社
タスク管理システム
18日前
株式会社神路社
おみくじシステム
18日前
株式会社大林組
進捗管理システム
18日前
株式会社大林組
運搬管理システム
11日前
株式会社野村総合研究所
電子契約システム
10日前
株式会社ネオマルス
ポイント付与システム
3日前
株式会社ホリケン
施工協力会データ集計システム
3日前
長瀬印刷株式会社
撮影場所特定装置
3日前
個人
電子文書データ、電子文書の閲覧用電子機器
10日前
株式会社デンソー
電子制御装置
3日前
愛知製鋼株式会社
検査システム及び検査方法
5日前
個人
視線滞留と高速閉瞼を用いた情報処理システム
18日前
シーアンドアールエム株式会社
情報処理装置
12日前
アルプスアルパイン株式会社
入力装置
10日前
株式会社博報堂テクノロジーズ
創出支援装置
12日前
株式会社MotorAI
システム、及びプログラム
11日前
Arithmer株式会社
支援装置、および支援方法
3日前
日立建機株式会社
電力管理システム
3日前
トヨタ自動車株式会社
方法
3日前
住友重機械工業株式会社
建設機械及び管理装置
18日前
キヤノン株式会社
表示装置および表示制御方法
18日前
個人
プログラム、文書処理装置、および、文書処理方法
10日前
続きを見る
他の特許を見る