TOP
|
特許
|
意匠
|
商標
特許ウォッチ
Twitter
他の特許を見る
公開番号
2025171716
公報種別
公開特許公報(A)
公開日
2025-11-20
出願番号
2024077338
出願日
2024-05-10
発明の名称
建設機械及び管理装置
出願人
住友重機械工業株式会社
代理人
個人
主分類
G06Q
10/20 20230101AFI20251113BHJP(計算;計数)
要約
【課題】簡易に、建設機械のメンテナンス作業を行うことが可能な建設機械を提供する。
【解決手段】建設機械が、情報の入出力が行われる入出力装置と、制御部とを備えている。制御部は、入出力装置を介して、操作時における違和感の有無を操作者に問いかける機能と、操作者が入出力装置を介して違和感を表す違和感情報を入力すると、入力された違和感情報を管理装置に送信する機能と、管理装置から、違和感情報に基づいて導き出されたメンテナンス内容を示すメンテナンス情報を受信すると、受信したメンテナンス情報を入出力装置に出力する機能とを有する。
【選択図】図1
特許請求の範囲
【請求項1】
情報の入出力が行われる入出力装置と、
制御部と
を備え、
前記制御部は、
前記入出力装置を介して、操作時における違和感の有無を操作者に問いかける機能と、
前記操作者が前記入出力装置を介して違和感を表す違和感情報を入力すると、入力された前記違和感情報を管理装置に送信する機能と、
前記管理装置から、前記違和感情報に基づいて導き出されたメンテナンス内容を示すメンテナンス情報を受信すると、受信したメンテナンス情報を前記入出力装置に出力する機能と
を有する建設機械。
続きを表示(約 870 文字)
【請求項2】
前記制御部は、始動スイッチがオフにされたことを検出すると、違和感の有無の問いかけを行う請求項1に記載の建設機械。
【請求項3】
前記入出力装置はマイクを含み、
前記違和感情報は、前記マイクを通して音声で入力される請求項1または2に記載の建設機械。
【請求項4】
前記入出力装置は、テキスト入力部を有しており、
前記違和感情報は、前記テキスト入力部を介してテキストとして入力される請求項1または2に記載の建設機械。
【請求項5】
さらに、稼働状態にかかわる物理量を測定するセンサを備えており、
前記制御部は、操作時に覚えた違和感の有無の問いかけに対して前記違和感情報の入力が無い場合、前記センサの測定値に基づいて、推薦するメンテナンス内容を表すメンテナンス情報を前記入出力装置に出力する機能を有する請求項1または2に記載の建設機械。
【請求項6】
請求項1または2に記載の建設機械を管理する管理装置であって、
前記建設機械と通信を行う通信部と、
前記建設機械から前記違和感情報を受信すると、受信した前記違和感情報に応じて推奨されるメンテナンス内容を導き出し、推奨されるメンテナンス内容を示すメンテナンス情報を前記建設機械に送信する処理部と
を備えた管理装置。
【請求項7】
さらに、不具合事例情報と、不具合が生じたときに行うメンテナンス内容を示すメンテナンス情報とが関連付けて蓄積された不具合データベースを備えており、
前記処理部は、
前記不具合データベースから前記違和感情報に類似する前記不具合事例情報を検索することにより、メンテナンス情報を導き出す請求項6に記載の管理装置。
【請求項8】
前記処理部は、前記違和感情報を入力とし、メンテナンス情報を出力とする機械学習モデルにより、前記違和感情報に応じたメンテナンス情報を導き出す請求項6に記載の建設機械。
発明の詳細な説明
【技術分野】
【0001】
本発明は、建設機械及び建設機械を管理する管理装置に関する。
続きを表示(約 1,600 文字)
【背景技術】
【0002】
1台当たりの稼働率が向上するカーシェリングに用いられる車両の保守作業に掛かる運用コストの増加を抑制する管理装置が公知である(特許文献1)。この管理装置においては、車両に係る車両情報に基づいて、車両に対する整備に係る作業を検知し、車両の整備士でない者でも実施することができる所定の作業が規定されている作業情報に基づいて、検知された作業の中から所定の作業を特定する。このようにすることにより、整備士が行う作業が軽減される。
【先行技術文献】
【特許文献】
【0003】
特開2020-64552号公報
【発明の概要】
【発明が解決しようとする課題】
【0004】
油圧ショベル等の建設機械に重大な不具合が発生すると、稼働不可となるダウンタイムが長期化する。建設機械全体のメンテナンスを日常的に行えば、重大な不具合の発生頻度が低下し、ダウンタイムの長期化が抑制される。ところが、建設機械全体のメンテナンスを日常的に行うことは、時間がかかり現実的ではない。
【0005】
本発明の目的は、簡易に、建設機械のメンテナンス作業を行うことが可能な建設機械、及び管理装置を提供することである。
【課題を解決するための手段】
【0006】
本発明の一観点によると、
情報の入出力が行われる入出力装置と、
制御部と
を備え、
前記制御部は、
前記入出力装置を介して、操作時における違和感の有無を操作者に問いかける機能と、
前記操作者が前記入出力装置を介して違和感を表す違和感情報を入力すると、入力された前記違和感情報を管理装置に送信する機能と、
前記管理装置から、前記違和感情報に基づいて導き出されたメンテナンス内容を示すメンテナンス情報を受信すると、受信したメンテナンス情報を前記入出力装置に出力する機能と
を有する建設機械が提供される。
【0007】
本発明の他の観点によると、
前記建設機械を管理する管理装置であって、
前記建設機械と通信を行う通信部と、
前記建設機械から前記違和感情報を受信すると、受信した前記違和感情報に応じて推奨されるメンテナンス内容を導き出し、推奨されるメンテナンス内容を示すメンテナンス情報を前記建設機械に送信する処理部と
を備えた管理装置が提供される。
【発明の効果】
【0008】
操作者が入力した違和感情報に応じて出力されるメンテナンス情報を見て、操作者は、適切なメンテナンス作業を行うことができる。これにより、軽微な不具合が蓄積されて重大な故障に至ることが抑制される。
【図面の簡単な説明】
【0009】
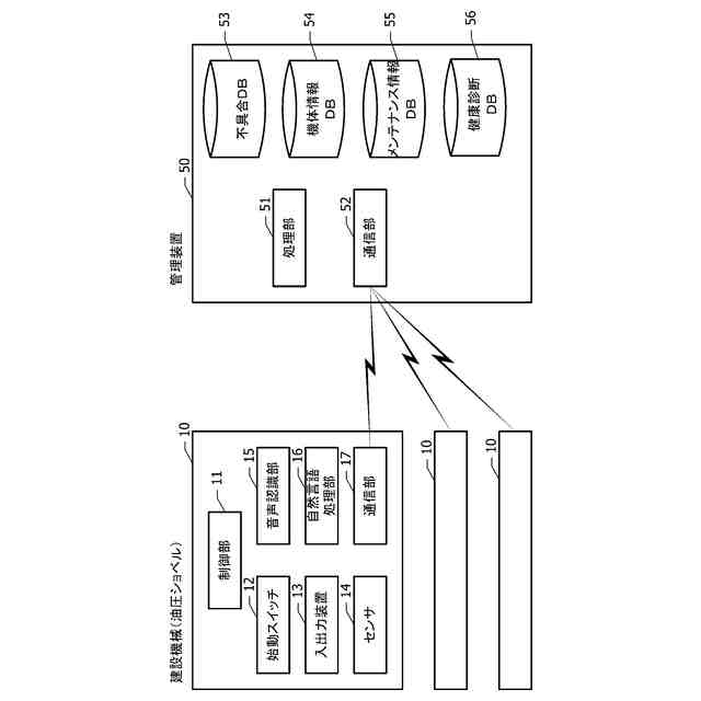
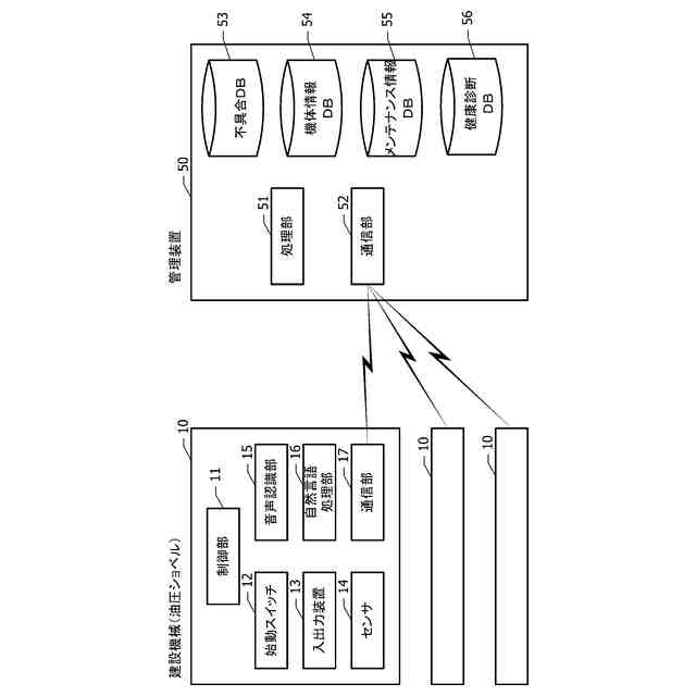
図1は、本実施例による建設機械10、及び建設機械10を管理する管理装置50のブロック図である。
図2は、不具合データベース53に蓄積されている情報の一例を示す図表である。
図3は、建設機械10の制御部11が実行する処理の手順を示すフローチャートである。
図4A~図4Cは、入出力装置13の表示手段に表示された画像の一例を示す図である。
図5は、管理装置50が行う処理を説明するための模式図である。
【発明を実施するための形態】
【0010】
図1~図5を参照して、一実施例による建設機械及び管理装置について説明する。
図1は、本実施例による建設機械10、及び建設機械10を管理する管理装置50のブロック図である。建設機械10の例として、油圧ショベル、クレーン、ホイールローダ、ブルドーザ等が挙げられる。管理装置50は、複数の建設機械10を管理する。
(【0011】以降は省略されています)
この特許をJ-PlatPat(特許庁公式サイト)で参照する
関連特許
個人
詐欺保険
1か月前
個人
縁伊達ポイン
1か月前
個人
RFタグシート
27日前
個人
職業自動販売機
9日前
個人
5掛けポイント
16日前
個人
地球保全システム
1か月前
個人
QRコードの彩色
1か月前
個人
ペルソナ認証方式
24日前
個人
自動調理装置
26日前
個人
情報処理装置
19日前
個人
残土処理システム
1か月前
個人
農作物用途分配システム
1か月前
個人
知的財産出願支援システム
1か月前
個人
サービス情報提供システム
11日前
個人
インターネットの利用構造
23日前
個人
タッチパネル操作指代替具
1か月前
個人
スケジュール調整プログラム
1か月前
個人
携帯端末障害問合せシステム
1か月前
個人
エリアガイドナビAIシステム
24日前
株式会社キーエンス
受発注システム
1か月前
株式会社キーエンス
受発注システム
1か月前
株式会社キーエンス
受発注システム
1か月前
個人
食品レシピ生成システム
1か月前
エッグス株式会社
情報処理装置
1か月前
キヤノン株式会社
表示システム
1か月前
キヤノン株式会社
情報処理装置
17日前
株式会社ワコム
電子ペン
18日前
キヤノン株式会社
印刷システム
1か月前
個人
帳票自動生成型SaaSシステム
1か月前
キヤノン株式会社
画像認識装置
3日前
大同特殊鋼株式会社
疵判定方法
1か月前
キヤノン株式会社
情報処理装置
3日前
株式会社ワコム
電子ペン
18日前
トヨタ自動車株式会社
通知装置
1か月前
株式会社ケアコム
項目選択装置
19日前
キヤノン株式会社
情報処理装置
3日前
続きを見る
他の特許を見る