TOP
|
特許
|
意匠
|
商標
特許ウォッチ
Twitter
他の特許を見る
10個以上の画像は省略されています。
公開番号
2025177792
公報種別
公開特許公報(A)
公開日
2025-12-05
出願番号
2024084895
出願日
2024-05-24
発明の名称
撮影場所特定装置
出願人
長瀬印刷株式会社
代理人
個人
,
個人
主分類
G06Q
50/10 20120101AFI20251128BHJP(計算;計数)
要約
【課題】必要な場所で撮影された撮影物を容易に発見することのできる撮影場所特定装置を提供する。
【解決手段】撮影場所特定装置100は、著作物または著作物の複製物が展示される場所に関連付けられた付加情報を作成する付加情報作成部120と、公開された撮影物に付加情報が映っている否かを判別する判別部124と、撮影物に付加情報が映っていると判別部124にて判別した場合に、撮影物に映った付加情報に基づいて、撮影物の撮影場所を特定する特定部125とを備える。
【選択図】図3
特許請求の範囲
【請求項1】
著作物または前記著作物の複製物が展示される場所である展示場所に関連付けられた付加情報を作成する付加情報作成手段と、
公開された撮影物に前記付加情報が映っている否かを判別する判別手段と、
前記撮影物に前記付加情報が映っていると前記判別手段にて判別した場合、前記撮影物に映った前記付加情報に基づいて、前記撮影物の撮影場所を特定する特定手段とを備えた、撮影場所特定装置。
続きを表示(約 560 文字)
【請求項2】
前記著作物または前記著作物の複製物が展示される期間である展示期間に前記付加情報はさらに関連付けられており、
前記特定手段は、前記撮影物に映った前記付加情報に基づいて、前記撮影物の撮影時期をさらに特定する、請求項1に記載の撮影場所特定装置。
【請求項3】
前記付加情報は、前記著作物を特定する情報をコーディングしたものであり、
前記著作物を特定する情報と前記展示場所との対応関係を記憶する記憶手段をさらに備え、
前記特定手段は、前記記憶手段にて記憶した前記対応関係にさらに基づいて、前記撮影物の撮影場所を特定する、請求項1に記載の撮影場所特定装置。
【請求項4】
前記付加情報は、前記展示場所の情報をコーディングしたものである、請求項1に記載の撮影場所特定装置。
【請求項5】
前記著作物または前記著作物の複製物の展示の要請を受け付ける要請受付手段と、
前記要請を前記要請受付手段にて受け付けた場合に、前記展示場所に関する入力を受け付ける場所受付手段とをさらに備え、
前記付加情報作成手段は、前記場所受付手段にて受け付けた前記展示場所に関連付けられた前記付加情報を作成する、請求項1に記載の撮影場所特定装置。
発明の詳細な説明
【技術分野】
【0001】
本発明は、撮影場所特定装置に関する。より特定的には、本発明は、公開された撮影物の中から、必要な場所で撮影された撮影物を容易に発見することができる撮影場所特定装置に関する。
続きを表示(約 1,400 文字)
【背景技術】
【0002】
近年、飲食店などの店舗や美術館などの場所を訪問した者がその場所を撮影し、撮影物をウェブサイトに公開するケースが増えている。その場所の関係者の中には、広告宣伝効果を考慮してこのような行為を歓迎する者が存在する。一方、その場所の関係者の中には、このような行為を、プライバシー保護や模倣防止などの観点から忌避する者も存在する。
【0003】
近年、SNS(Social Networking Service)やインターネット上での情報共有が急速に広がる中、プライバシー保護や模倣防止はますます重要な問題となっている。特に会員制の高級な飲食店などでは、少数の客のためだけの心地よい閉鎖的な空間を提供するために、その店舗独自の工夫により内装や雰囲気が整えられている。そのような店舗の内部が不要にインターネット上で公開されると、客の写りこみという安全上の懸念やプライバシーの侵害、または店舗独自の工夫点の他人による模倣などの問題が生じ得る。
【0004】
上記の問題を防ぐために、従来、店舗や美術館などの場所の関係者は、その場所が撮影禁止である旨を訪問者に告知するという対策や、撮影禁止の場所を無断で撮影した撮影物をウェブサイト上で検索し、発見した撮影物の公開の停止を要求するという対策などを講じている。
【0005】
なお、下記特許文献1には、貸し出したカメラで撮影した画像を取得する画像取得手段と、カメラでの撮影可能条件を取得する条件取得手段と、画像取得手段により取得した画像から条件取得手段により取得した撮影可能条件を満たす画像を抽出する画像抽出手段と、画像抽出手段により抽出した画像を出力する出力手段とを備えた撮影制御システムが開示されている。
【先行技術文献】
【特許文献】
【0006】
特開2020-197786号公報
【発明の概要】
【発明が解決しようとする課題】
【0007】
しかし、必要な場所(撮影禁止の場所を含む)を撮影した撮影物がウェブサイトに公開されたとしても、公開された多数の撮影物の中から、そのような撮影物を発見することは容易ではなかった。撮影物から撮影場所を正確に特定することは難しいためである。その結果、関係者が必要な場所を撮影した撮影物を発見するには、相当な時間と労力を要していた。必要な場所が撮影禁止の場所である場合には、そのような場所での無断撮影を効果的に抑制することはできなかった。
【0008】
また、貸し出したカメラとは別のカメラで悪意を持った者が撮影を行った場合、特許文献1の技術ではその撮影物を発見することはできなかった。
【0009】
本発明は、上記課題を解決するためのものであり、その目的は、必要な場所で撮影された撮影物を容易に発見することのできる撮影場所特定装置を提供することである。
【課題を解決するための手段】
【0010】
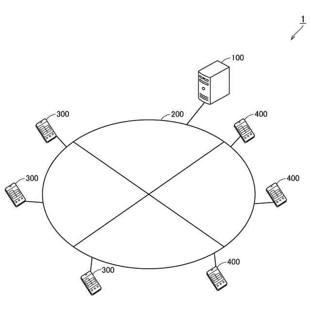
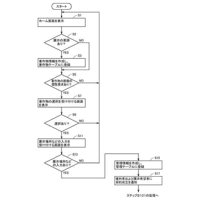
本発明の一の局面に従う撮影場所特定装置は、著作物または著作物の複製物が展示される場所である展示場所に関連付けられた付加情報を作成する付加情報作成手段と、公開された撮影物に付加情報が映っている否かを判別する判別手段と、撮影物に付加情報が映っていると判別手段にて判別した場合、撮影物に映った付加情報に基づいて、撮影物の撮影場所を特定する特定手段とを備える。
(【0011】以降は省略されています)
この特許をJ-PlatPat(特許庁公式サイト)で参照する
関連特許
長瀬印刷株式会社
撮影場所特定装置
3日前
個人
詐欺保険
1か月前
個人
縁伊達ポイン
1か月前
個人
職業自動販売機
24日前
個人
RFタグシート
1か月前
個人
5掛けポイント
1か月前
個人
地球保全システム
2か月前
個人
ペルソナ認証方式
1か月前
個人
QRコードの彩色
1か月前
個人
自動調理装置
1か月前
個人
情報処理装置
1か月前
個人
立体グラフの利用方法
3日前
個人
農作物用途分配システム
1か月前
個人
残土処理システム
2か月前
個人
知的財産出願支援システム
2か月前
個人
インターネットの利用構造
1か月前
NISSHA株式会社
入力装置
4日前
個人
サービス情報提供システム
26日前
個人
タッチパネル操作指代替具
1か月前
個人
学習用データ生成装置
5日前
個人
携帯端末障害問合せシステム
1か月前
個人
スケジュール調整プログラム
1か月前
株式会社キーエンス
受発注システム
2か月前
株式会社キーエンス
受発注システム
2か月前
株式会社キーエンス
受発注システム
2か月前
個人
食品レシピ生成システム
2か月前
個人
エリアガイドナビAIシステム
1か月前
個人
帳票自動生成型SaaSシステム
2か月前
キヤノン株式会社
情報処理装置
18日前
キヤノン株式会社
画像認識装置
18日前
キラル株式会社
顧客体験提供システム
6日前
エッグス株式会社
情報処理装置
1か月前
個人
音声・通知・再配達UX制御構造
2か月前
株式会社ケアコム
項目選択装置
1か月前
株式会社ケアコム
項目選択装置
1か月前
株式会社ワコム
電子ペン
1か月前
続きを見る
他の特許を見る