TOP
|
特許
|
意匠
|
商標
特許ウォッチ
Twitter
他の特許を見る
公開番号
2025177350
公報種別
公開特許公報(A)
公開日
2025-12-05
出願番号
2024084100
出願日
2024-05-23
発明の名称
電子制御装置
出願人
株式会社デンソー
代理人
弁理士法人サトー
主分類
G06F
13/32 20060101AFI20251128BHJP(計算;計数)
要約
【課題】送信側のマイコンで緊急に送信すべき重要データが発生した際に、送信コアが行なう通信処理を妨げることなく早期に送信できる電子制御装置を提供する。
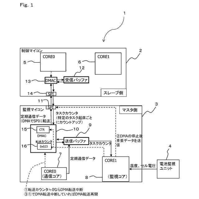
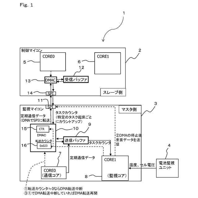
【解決手段】制御マイコン2と監視マイコン3との間で通信を行なう際に、送信側となる監視マイコン3は、SPI11、送信バッファ9からSPI11へのDMA転送を行うDMAC10を備える。監視マイコン3で送信処理を行なう送信コア7は、送信バッファ9に送信データを書き込むと共にDMAC10にDMA転送を開始させる。監視コア8は、DMAC10がDMA転送を行っている期間中に監視の結果により制御マイコン2に緊急に送信すべき重要データが発生すると、DMA転送を一旦中断させて重要データをSPI11に転送し、その後にDMA転送を再開させる。
【選択図】図1
特許請求の範囲
【請求項1】
それぞれがマルチコアで構成される複数のマイクロコンピュータ(以下、マイコンと称す)を備え、
何れか2つのマイコン間で通信を行なう際に、送信側となるマイコン(3)は、通信インターフェース部(11)と、送信バッファ(9)と、前記送信バッファから前記通信インターフェース部へのDMA(Direct Memory Access)転送を行うDMAコントローラ(10)と、を有しており、
前記送信側のマイコンで送信処理を行なう送信コア(7)は、前記送信バッファに送信データを書き込むと共に、前記DMAコントローラに前記DMA転送を開始させ、
その他のコアの1つは、他のマイコンを含む周辺機器の動作を監視する機能を有する監視コア(8)であり、
前記監視コアは、前記DMAコントローラが前記DMA転送を行っている期間中に、前記監視の結果により他のマイコンに緊急に送信すべき重要データが発生すると、前記DMA転送を一旦中断させて前記重要データを通信インターフェース部に転送し、その後に前記DMA転送を再開させる電子制御装置。
続きを表示(約 470 文字)
【請求項2】
前記監視コアは、前記重要データに、当該重要データであることを受信側のマイコンに識別させるためのデータパターンを付して転送する請求項1記載の電子制御装置。
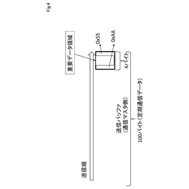
【請求項3】
前記送信コアは、前記他のマイコンに緊急に送信する必要がない重要データが発生すると、前記データパターンを付した重要データを、前記送信バッファのデータ領域の最後尾に書き込んでから前記DMA転送を開始させる請求項2記載の電子制御装置。
【請求項4】
前記送信コアは、他のマイコンに緊急に送信する必要がない重要データが発生すると、データパターンを付した重要データを送信バッファのデータ領域の最後尾に書き込んでからDMA転送を開始させる請求項3記載の電子制御装置。
【請求項5】
前記通信における受信側のマイコン(2)は、周辺機器を制御する制御マイコンであり、
前記送信側のマイコンは、前記監視コアが前記制御マイコンの動作を監視する監視マイコンである請求項1から4の何れか一項に記載の電子制御装置。
発明の詳細な説明
【技術分野】
【0001】
本発明は、マルチコア構成のマイクロコンピュータを複数備える電子制御装置に関する。
続きを表示(約 1,700 文字)
【背景技術】
【0002】
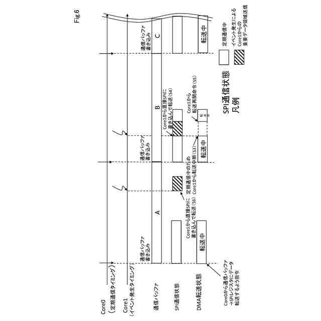
マルチコア構成のマイクロコンピュータを複数備える電子制御装置では、例えば1つをメインマイコンとし、他の1つをサブマイコンとして、サブマイコンによってメインマイコンの動作を監視する構成がある(特許文献1,2参照)。この場合に、サブマイコン側についても、処理負荷がある程度重い場合に制御の同期を考慮すると、メインマイコンと通信を行なう機能と監視する機能とでコアを分ける必要がある。以下では、各機能に対応するコアを、それぞれ送信コア、監視コアと称する。
【先行技術文献】
【特許文献】
【0003】
特開2011-20544号公報
特開2022-96920号公報
【発明の概要】
【発明が解決しようとする課題】
【0004】
以上のような構成において、サブマイコンの送信コアは、メインマイコンとの通信を定期的に行うものとする。これを定期通信と称する。しかし、監視コアが監視している対象について何らかの異常を検知した際には、その異常発生を通知するデータをメインマイコンに極力早く送信する必要がある。
【0005】
また、マイコンリソースの制約により、通信線を増して対応する選択肢はとれず、且つ送信コアによる定期通信の間隔も維持することを考える。監視コアが異常発生の通知データを送信するため、送信コアとスピンロック方式等によってコア間同期をとった上で、送信コアに通知データを送信させるとする。この場合、コア間同期を開始した時点で送信コアが定期通信を行なっていると、通知データを次の周期の定期通信で送信せざるを得ず、異常発生の通知が大きく遅延することになる。
【0006】
本発明は上記事情に鑑みてなされたものであり、その目的は、送信側のマイコンで緊急に送信すべき重要データが発生した際に、送信コアが行なう通信処理を妨げることなく早期に送信できる電子制御装置を提供することにある。
【課題を解決するための手段】
【0007】
請求項1記載の電子制御装置によれば、複数のうち何れか2つのマイコン間で通信を行なう際に、送信側となるマイコン(3)は、通信インターフェース部(11)、送信バッファ(9)、送信バッファから通信インターフェース部へのDMA転送を行うDMAコントローラ(10)を備える。送信側のマイコンで送信処理を行なう送信コア(7)は、送信バッファに送信データを書き込むと共にDMAコントローラにDMA転送を開始させる。監視コア(8)は、DMAコントローラがDMA転送を行っている期間中に、監視の結果により他のマイコンに緊急に送信すべき重要データが発生すると、DMA転送を一旦中断させて重要データを通信インターフェース部に転送し、その後にDMA転送を再開させる。
【0008】
このように構成すれば、監視コアから通信インターフェース部に転送された重要データは、早期に他のマイコンに送信されることになり、その後にDMA転送が再開される。したがって、送信コアがマイコン間通信を行なうためのDMA転送を実行させる周期を維持しながら、他のマイコンに緊急に送信すべき重要データを早期に送信できる。
【0009】
請求項2記載の電子制御装置によれば、監視コアは、重要データに、当該重要データであることを受信側のマイコンに識別させるためのデータパターンを付して転送する。これにより、受信側のマイコンは、受信した重要データを簡単に識別することができる。
【0010】
請求項3記載の電子制御装置によれば、送信コアは、他のマイコンに緊急に送信する必要がない重要データが発生すると、識別用のデータパターンを付した重要データを送信バッファのデータ領域の最後尾に書き込んでからDMA転送を開始させる。これにより、比較的緊急性が低い重要データをDMA転送の最後で通信インターフェース部に転送して、他のマイコンに送信できる。
(【0011】以降は省略されています)
この特許をJ-PlatPat(特許庁公式サイト)で参照する
関連特許
株式会社デンソーウェーブ
筐体
1か月前
株式会社デンソー
端子台
9日前
株式会社デンソー
分離体
15日前
株式会社デンソー
電動機
7日前
株式会社デンソー
電動弁
29日前
株式会社デンソー
ロータ
2日前
株式会社デンソー
ロータ
2日前
株式会社デンソー
回転機
1か月前
株式会社デンソー
検出装置
1か月前
株式会社デンソー
光学部材
15日前
株式会社デンソー
光学部材
15日前
株式会社デンソー
電子装置
1か月前
株式会社デンソー
トランス
7日前
株式会社デンソー
反力装置
1か月前
株式会社デンソー
光学部材
7日前
株式会社デンソー
撮像装置
28日前
株式会社デンソー
撮像装置
28日前
株式会社デンソー
摺動機構
28日前
株式会社デンソー
電子装置
7日前
株式会社デンソー
摺動機構
28日前
株式会社デンソー
熱交換器
28日前
株式会社デンソー
電子装置
29日前
株式会社デンソー
電子装置
1か月前
株式会社デンソー
整流回路
今日
株式会社デンソー
ステータ
2か月前
株式会社デンソー
回転電機
今日
株式会社デンソー
電子装置
1か月前
株式会社デンソー
ステータ
2か月前
株式会社デンソー
電気回路
23日前
株式会社デンソー
制御装置
1か月前
株式会社デンソー
電解装置
1か月前
株式会社デンソー
センサ装置
1か月前
株式会社デンソー
熱交換装置
1か月前
株式会社デンソー
電流センサ
1か月前
株式会社デンソー
ヒータ装置
1か月前
株式会社デンソー
半導体装置
1か月前
続きを見る
他の特許を見る