TOP
|
特許
|
意匠
|
商標
特許ウォッチ
Twitter
他の特許を見る
10個以上の画像は省略されています。
公開番号
2025171710
公報種別
公開特許公報(A)
公開日
2025-11-20
出願番号
2024077330
出願日
2024-05-10
発明の名称
表示装置および表示制御方法
出願人
キヤノン株式会社
代理人
個人
主分類
G06T
19/00 20110101AFI20251113BHJP(計算;計数)
要約
【課題】 仮想空間上の仮想カメラでアバターを撮影する時、ユーザが意図した写真が撮れるようアシストする情報処理装置を提供する。
【解決手段】 少なくとも1つのヘッドマウントディスプレイを含む仮想空間を提供するシステムにおけるアバターの目の動作の制御を行う情報処理装置であって、各ヘッドマウントディスプレイにおいて、各ヘッドマウントディスプレイ装着者のアイトラッキング情報を取得する手段と、アイトラッキング情報に基づき、各ヘッドマウントディスプレイに対応した仮想空間上の各アバターの目の動作を決定する手段と、決定に基づき、仮想空間上の各アバターの目の動作に、決定した動作を反映する手段と、仮想空間上での静止画撮影要求を受け付けるステップと、静止画撮影要求を受け、前記仮想空間上で静止画撮影を実施する手段とを備え、静止画撮影要求を受け付けた場合は、前記各アバターの目の動作を所定の状態で維持する制御を行う。
【選択図】 図1
特許請求の範囲
【請求項1】
少なくとも1つ以上のヘッドマウントディスプレイを含む仮想空間を提供するシステムにおける、アバターの目の動作の制御を行う情報処理装置であって、
前記各ヘッドマウントディスプレイにおいて、各ヘッドマウントディスプレイ装着者のアイトラッキング情報を取得する手段と、
前記アイトラッキング情報に基づき、各ヘッドマウントディスプレイに対応した仮想空間上の各アバターの目の動作を決定する手段と、
前記決定に基づき、仮想空間上の各アバターの目の動作に、決定した動作を反映する手段と、
前記仮想空間上での静止画撮影要求を受け付けるステップと、
前記静止画撮影要求を受け、前記仮想空間上で静止画撮影を実施する手段と、
を備え、
前記静止画撮影要求を受け付けた場合は、前記各アバターの目の動作を所定の状態で維持する制御を行う、ことを特徴とする情報処理装置。
続きを表示(約 1,400 文字)
【請求項2】
請求項1に記載の情報処理装置であって、前記所定の状態とは、前記各アバターの目の動作を決定する手段で決定される、少なくとも1つ以上の状態のいずれかであり、前記状態を、状態選択手段により選択された状態、であることを特徴とする、前記請求項1に記載の情報処理装置。
【請求項3】
請求項1に記載の情報処理装置であって、前記静止画撮影要求を受け付けた時点から静止画撮影が終了するまでの期間において、前記所定の状態を維持する、ことを特徴とする、前記請求項1に記載の情報処理装置。
【請求項4】
請求項1に記載の情報処理装置であって、前記静止画撮影の、画角情報と撮影可能距離情報から、撮影範囲を決定する手段と、前記決定した撮影範囲内に存在する前記各アバターを特定する手段と、を有し、前記特定した各アバターの目の動作を所定の状態で維持する、ことを特徴とする、請求項1に記載の情報処理装置。
【請求項5】
請求項1に記載の情報処理装置であって、前記各アバターに対して前記所定の状態を維持する制御の有効・無効を選択する手段、を備えることを特徴とする請求項1に記載の情報処理装置。
【請求項6】
請求項1に記載の情報処理装置であって、前記1つの静止画撮影要求に対し、前記各アバターの目の動作を所定の状態に維持して静止画を記録すると共に、前記各アバターの目の動作を決定する手段で決定した目の動作を反映した静止画を記録する手段、を備えることを特徴とする、請求項1に記載の情報処理装置。
【請求項7】
少なくとも1つ以上のヘッドマウントディスプレイを含む仮想空間を提供するシステムにおける、アバターの目の動作の制御を行う方法であって、
前記各ヘッドマウントディスプレイにおいて、各ヘッドマウントディスプレイ装着者のアイトラッキング情報を取得する手段と、
前記アイトラッキング情報に基づき、各ヘッドマウントディスプレイに対応した仮想空間上の各アバターの目の動作を決定する手段と、
前記決定に基づき、仮想空間上の各アバターの目の動作に、決定した動作を反映する手段と、
前記仮想空間上での静止画撮影要求を受け付けるステップと、
前記静止画撮影要求を受け、前記仮想空間上で静止画撮影を実施する手段と、
を備え、
前記静止画撮影要求を受け付けた場合は、前記各アバターの目の動作を所定の状態で維持する制御を行う、ことを特徴とする方法。
【請求項8】
三次元仮想空間を表示可能な表示装置であって、
ユーザの状態をトラッキングするトラッキング手段と、
前記トラッキング手段によって検出したトラッキング結果に基づいてユーザのアバターの情報を生成するアバター情報生成手段を持ち、
三次元仮想空間上の仮想カメラを用いてアバターの写真撮影を行う場合に、前記トラッキング結果によって、ユーザが特定の動作をしたと判断した場合に、アバターの表示が所定の状態になるように、アバターの情報を生成することを特徴とする表示装置。
【請求項9】
前記トラッキング手段は、ユーザの表情をトラッキングすることを特徴とする、請求項8に記載の表示装置。
【請求項10】
前記トラッキング手段は、ユーザの動作をトラッキングすることを特徴とする、請求項8に記載の表示装置。
(【請求項11】以降は省略されています)
発明の詳細な説明
【技術分野】
【0001】
本発明は、表示装置および表示制御方法に関する。
続きを表示(約 1,600 文字)
【背景技術】
【0002】
近年、ヘッドマウントディスプレイ(HMD:Head Mounted Display)などの表示装置を用いて三次元の仮想空間を提供する技術が知られている。また、ユーザの動作や表情、仕草などをトラッキングし、仮想空間上のアバターにリアルタイムに反映させることにより、複数のユーザが仮想空間上で交流する機会が増えている。
【0003】
仮想空間上での交流においては、仮想空間上に配置された仮想カメラを用いてアバターの写真を撮影することも可能となっている。例えば特許文献1では、撮影した画像を容易な方法で確認できる技術などが提案されている。
【先行技術文献】
【特許文献】
【0004】
特開2019-21324号公報
特開2021-5319号公報
特開2013-141104号公報
特開2019-215782号公報
【発明の概要】
【発明が解決しようとする課題】
【0005】
しかしながら、特許文献1の技術によれば、撮影後の画像の確認は容易になる一方で、ユーザが意図した写真が撮れるように、撮影時にアシストすることはできないという課題がある。
【0006】
本発明は、仮想空間上に配置された仮想カメラを用いてアバターの写真を撮影する際に、ユーザの意図通りの写真となるようにアシストすることが可能となる情報処理装置を提供することを目的とする。
【課題を解決するための手段】
【0007】
上記目的を達成するために、本発明の情報処理装置は、少なくとも1つ以上のヘッドマウントディスプレイを含む仮想空間を提供するシステムにおける、アバターの目の動作の制御を行う情報処理装置であって、前記各ヘッドマウントディスプレイにおいて、各ヘッドマウントディスプレイ装着者のアイトラッキング情報を取得する手段と、前記アイトラッキング情報に基づき、各ヘッドマウントディスプレイに対応した仮想空間上の各アバターの目の動作を決定する手段と、前記決定に基づき、仮想空間上の各アバターの目の動作に、決定した動作を反映する手段と、前記仮想空間上での静止画撮影要求を受け付けるステップと、前記静止画撮影要求を受け、前記仮想空間上で静止画撮影を実施する手段と、を備え、前記静止画撮影要求を受け付けた場合は、前記各アバターの目の動作を所定の状態で維持する制御を行う、ことを特徴とする。
【発明の効果】
【0008】
本発明により、仮想空間上に配置された仮想カメラを用いてアバターの写真を撮影する際に、ユーザの意図通りの写真となるようにアシストすることが可能となる。
【図面の簡単な説明】
【0009】
第1~第3の実施形態における構成図である。
第1の実施形態におけるシステム構成図である。
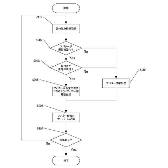
第1の実施形態における動作フローチャートである。
撮影範囲の決定および撮影範囲ないに存在するアバターの特定の説明図である。
目の動作の所定の状態の一覧例を示す図である。
撮影者の仮想空間と撮影結果および被写体の仮想空間と撮影結果の説明図である。
第2の実施形態における動作フローチャートである。
第2の実施形態におけるセンサから取得する幾何学的形状情報の例を示す図である。
第2の実施形態における動作フローチャートである。
ROM Aにあらかじめ記憶されている顔特徴点情報と表情のデータの一例を表す図である。
表情データのIDとアバターの表情の関係を示す図である。
撮影したいユーザの表情の一例を示す図である。
【発明を実施するための形態】
【0010】
以下に、本発明の好ましい実施の形態を、添付の図面に基づいて詳細に説明する。
(【0011】以降は省略されています)
この特許をJ-PlatPat(特許庁公式サイト)で参照する
関連特許
キヤノン株式会社
容器
28日前
キヤノン株式会社
容器
22日前
キヤノン株式会社
トナー
1か月前
キヤノン株式会社
トナー
14日前
キヤノン株式会社
トナー
1か月前
キヤノン株式会社
トナー
1か月前
キヤノン株式会社
トナー
1か月前
キヤノン株式会社
定着装置
7日前
キヤノン株式会社
記録装置
7日前
キヤノン株式会社
撮像装置
15日前
キヤノン株式会社
電子機器
9日前
キヤノン株式会社
電子機器
14日前
キヤノン株式会社
現像容器
1か月前
キヤノン株式会社
撮影装置
1か月前
キヤノン株式会社
雲台装置
14日前
キヤノン株式会社
現像容器
1か月前
キヤノン株式会社
測距装置
16日前
キヤノン株式会社
記録装置
1か月前
キヤノン株式会社
現像装置
1か月前
キヤノン株式会社
現像装置
1か月前
キヤノン株式会社
記録装置
14日前
キヤノン株式会社
測距装置
1か月前
キヤノン株式会社
撮像装置
1日前
キヤノン株式会社
撮像装置
14日前
キヤノン株式会社
記録装置
28日前
キヤノン株式会社
撮像装置
28日前
キヤノン株式会社
現像装置
1か月前
キヤノン株式会社
撮像装置
28日前
キヤノン株式会社
定着装置
1日前
キヤノン株式会社
定着装置
7日前
キヤノン株式会社
撮像装置
28日前
キヤノン株式会社
撮像装置
9日前
キヤノン株式会社
電子機器
14日前
キヤノン株式会社
定着装置
1日前
キヤノン株式会社
記録装置
14日前
キヤノン株式会社
表示装置
22日前
続きを見る
他の特許を見る