TOP
|
特許
|
意匠
|
商標
特許ウォッチ
Twitter
他の特許を見る
10個以上の画像は省略されています。
公開番号
2025176827
公報種別
公開特許公報(A)
公開日
2025-12-05
出願番号
2024083175
出願日
2024-05-22
発明の名称
電力管理システム
出願人
日立建機株式会社
代理人
弁理士法人開知
主分類
G06Q
50/06 20240101AFI20251128BHJP(計算;計数)
要約
【課題】時間帯で異なる電力料金を考慮して受電を計画化することにより電動建設機械が稼働する建設現場における電力コストを低下させる。
【解決手段】第1の時間帯の電力料金が次の第2の時間帯の電力料金よりも低い場合、前記第1の時間帯の終期における管理対象バッテリーの総蓄電量が、前記第1の時間帯の始期における前記管理対象バッテリーの総蓄電量以上になるように、管理対象電気機器の合計消費電力に基づき、前記第1の時間帯における建設現場の受電電力を設定し、前記第1の時間帯の電力料金が前記第2の時間帯の電力料金よりも高い場合、前記第1の時間帯の終期における前記管理対象バッテリーの総蓄電量が、前記第1の時間帯の始期における前記管理対象バッテリーの総蓄電量以下になるように、前記管理対象電気機器の合計消費電力に基づき、前記第1の時間帯における前記建設現場の受電電力を設定する。
【選択図】図3
特許請求の範囲
【請求項1】
電動建設機械を含む少なくとも1つの管理対象電気機器と、前記管理対象電気機器によって蓄電電力が消費される少なくとも1つの管理対象バッテリーと、系統電源から受電した電力を前記管理対象バッテリーに供給する受電設備とが配備された建設現場であって、第1の時間帯とこの後に連続する第2の時間帯とで電力料金が異なる前記建設現場の電力を管理する制御装置を備えた電力管理システムにおいて、
前記制御装置は、
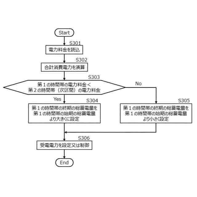
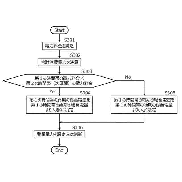
前記第1の時間帯の電力料金が前記第2の時間帯の電力料金よりも低い場合、前記第1の時間帯の終期における前記管理対象バッテリーの総蓄電量が、前記第1の時間帯の始期における前記管理対象バッテリーの総蓄電量以上になるように、前記管理対象電気機器の合計消費電力に基づき、前記第1の時間帯における前記建設現場の受電電力を設定し、
前記第1の時間帯の電力料金が前記第2の時間帯の電力料金よりも高い場合、前記第1の時間帯の終期における前記管理対象バッテリーの総蓄電量が、前記第1の時間帯の始期における前記管理対象バッテリーの総蓄電量以下になるように、前記管理対象電気機器の合計消費電力に基づき、前記第1の時間帯における前記建設現場の受電電力を設定する
ことを特徴とする電力管理システム。
続きを表示(約 1,900 文字)
【請求項2】
請求項1に記載の電力管理システムにおいて、
前記管理対象バッテリーは、前記建設現場に設置されたバッテリー設備、及び前記電動建設機械の内蔵バッテリーの少なくとも一方を含むことを特徴とする電力管理システム。
【請求項3】
請求項1に記載の電力管理システムにおいて、
前記合計消費電力は、前記管理対象電気機器の定格出力に基づく演算値若しくは測定値、又は稼働履歴に基づく実績値であることを特徴とする電力管理システム。
【請求項4】
請求項1に記載の電力管理システムにおいて、
前記制御装置は、前記総蓄電量として、前記少なくとも1つの管理対象電気機器から送信される蓄電残量の合計値を演算することを特徴とする電力管理システム。
【請求項5】
請求項1に記載の電力管理システムにおいて、
前記制御装置は、前記受電設備又は前記管理対象バッテリーを制御し、前記建設現場における受電電力を調整することを特徴とする電力管理システム。
【請求項6】
請求項1に記載の電力管理システムにおいて、
前記管理対象バッテリーは、充電しながら放電可能であることを特徴とする電力管理システム。
【請求項7】
請求項1に記載の電力管理システムにおいて、
前記制御装置は、
前記第1の時間帯の総消費電力量を予想し、
前記第1の時間帯の電力料金が前記第2の時間帯の電力料金よりも低い場合は前記第1の時間帯の始期の前記総蓄電量に対して前記第1の時間帯の終期の総蓄電量の目標値を大きく設定し、
前記第1の時間帯の電力料金が前記第2の時間帯の電力料金よりも高い場合は前記第1の時間帯の始期の前記総蓄電量に対して前記第1の時間帯の終期の総蓄電量の目標値を小さく設定し、
予想した前記総消費電力量と前記総蓄電量の目標値とに基づき、前記第1の時間帯における前記建設現場の受電電力を設定する
ことを特徴とする電力管理システム。
【請求項8】
請求項1に記載の電力管理システムにおいて、
前記制御装置は、
前記管理対象電気機器及び前記管理対象バッテリーから送信される消費電力及び蓄電残量を受信し、
現在の総蓄電量と、設定した受電電力に基づく計画値との差分を減少させるように受電電力の設定を補正する
ことを特徴とする電力管理システム。
【請求項9】
請求項1に記載の電力管理システムにおいて、
前記制御装置は、
前記管理対象バッテリーの総蓄電量に係る所定の上限目標値及び下限目標値を記憶しており、
前記第1の時間帯の電力料金が前記第2の時間帯の電力料金よりも低く、前記第1の時間帯の終期まで最大限受電したときの前記第1の時間帯の終期における総蓄電量の予想値が前記上限目標値より大きい場合、前記第1の時間帯の終期の総蓄電量の目標値を前記上限目標値に設定し、
前記第1の時間帯の電力料金が前記第2の時間帯の電力料金よりも低く、前記第1の時間帯の終期まで最大限受電したときの前記第1の時間帯の終期における総蓄電量の予想値が前記上限目標値以下である場合、前記第1の時間帯の終期の総蓄電量の目標値を前記予想値に設定し、
前記第1の時間帯の電力料金が前記第2の時間帯の電力料金よりも高く、前記第1の時間帯の終期まで蓄電しないときの前記第1の時間帯の終期の総蓄電量の予想値が前記下限目標値以上である場合、前記第1の時間帯の終期の総蓄電量の目標値を前記予想値に設定し、
前記第1の時間帯の電力料金が前記第2の時間帯の電力料金よりも高く、前記第1の時間帯の終期まで蓄電しないときの前記第1の時間帯の終期の総蓄電量の予想値が前記下限目標値未満である場合、前記第1の時間帯の終期の総蓄電量の目標値を前記下限目標値に設定し、
予想した総消費電力量と前記総蓄電量の目標値とに基づき、前記第1の時間帯における前記建設現場の受電電力を設定する
ことを特徴とする電力管理システム。
【請求項10】
請求項9に記載の電力管理システムにおいて、
前記制御装置は、電気料金が最も高い時間帯の始期の前記総蓄電量の目標値を前記上限目標値に設定する、又は電気料金が最も低い時間帯の始期の前記総蓄電量の目標値を前記下限目標値に設定することを特徴とする電力管理システム。
(【請求項11】以降は省略されています)
発明の詳細な説明
【技術分野】
【0001】
本発明は、電動建設機械が稼働する建設現場における電力コストを管理する電力管理システムに関する。
続きを表示(約 2,300 文字)
【背景技術】
【0002】
特開2009-97270号公報(特許文献1)には、系統電源に接続された大容量のバッテリー設備に電動建設機械を接続し、電動建設機械の内蔵バッテリーをバッテリー設備に蓄えた電力で急速充電する例が開示されている。
【先行技術文献】
【特許文献】
【0003】
特開2009-97270号公報
【発明の概要】
【発明が解決しようとする課題】
【0004】
建設現場においては、電動建設機械が系統電源に接続された状態で稼働する場合がある。内蔵バッテリーを備えた電動建設機械であれば、内蔵バッテリーを系統電源で充電しながら稼働する場合もある。また、特許文献1のように大容量のバッテリー設備(パワーバンク)が設置された建設現場では、系統電源で充電されたバッテリー設備が電動建設機械の電源として用いられる場合もある。
【0005】
建設現場における給電対象は電動建設機械であったりバッテリー設備であったりと様々であるが、いずれの機器に給電するにしても系統電源から受電することで電力料金が発生する。単位電力(例えば1kWh)あたりの電力料金は時間帯によって異なる場合があるが、特許文献1の技術では、電動建設機械の内蔵バッテリーの急速充電に備え、バッテリー設備を系統電源に接続した状態で待機させている。特許文献1の技術においては、時間帯毎の電力料金の違いに関係なくバッテリー設備が系統電源から逐次受電するため、例えば電力料金の高い時間帯の受電電力量が増加すると、建設現場の電力コストが予想以上に高くなる可能性がある。
【0006】
本発明の目的は、時間帯で異なる電力料金を考慮して受電を計画化することにより電動建設機械が稼働する建設現場における電力コストを低下させることができる電力管理システムを提供することにある。
【課題を解決するための手段】
【0007】
上記目的を達成するために、本発明は、電動建設機械を含む少なくとも1つの管理対象電気機器と、前記管理対象電気機器によって蓄電電力が消費される少なくとも1つの管理対象バッテリーと、系統電源から受電した電力を前記管理対象バッテリーに供給する受電設備とが配備された建設現場であって、第1の時間帯とここの後に連続する第2の時間帯とで電力料金が異なる前記建設現場の電力を管理する制御装置を備えた電力管理システムにおいて、前記制御装置は、前記第1の時間帯の電力料金が前記第2の時間帯の電力料金よりも低い場合、前記第1の時間帯の終期における前記管理対象バッテリーの総蓄電量が、前記第1の時間帯の始期における前記管理対象バッテリーの総蓄電量以上になるように、前記管理対象電気機器の合計消費電力に基づき、前記第1の時間帯における前記建設現場の受電電力を設定し、前記第1の時間帯の電力料金が前記第2の時間帯の電力料金よりも高い場合、前記第1の時間帯の終期における前記管理対象バッテリーの総蓄電量が、前記第1の時間帯の始期における前記管理対象バッテリーの総蓄電量以下になるように、前記管理対象電気機器の合計消費電力に基づき、前記第1の時間帯における前記建設現場の受電電力を設定する電力管理システムを提供する。
【発明の効果】
【0008】
本発明によれば、時間帯で異なる電力料金を考慮して受電を計画化することにより電動建設機械が稼働する建設現場における電力コストを低下させることができる。
【図面の簡単な説明】
【0009】
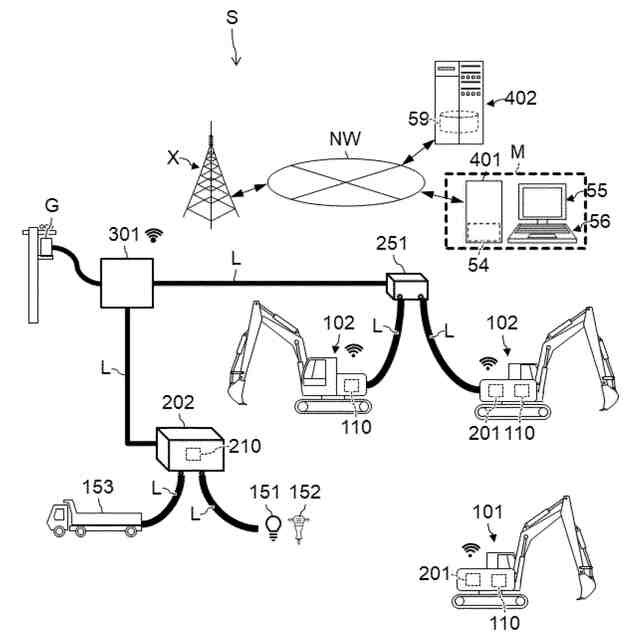
本発明の電力管理システムによる受電電力の管理対象となる建設現場の一例を表す模式図である。
本発明の第1実施形態に係る電力管理システムを構成する制御装置の建設現場の電力管理に関する機能の要部を表すブロック図である。
本発明の第1実施形態に係る電力管理システムを構成する制御装置による建設現場の受電電力の設定手順の一例を表すフローチャートである。
本発明の第2実施形態に係る電力管理システムを構成する制御装置による建設現場の受電電力の設定手順の一例を表すフローチャートである。
本発明の第2実施形態に係る電力管理システムを構成する制御装置による建設現場の受電電力の設定手順の一例を表すフローチャートである。
本発明の第2実施形態に係る電力管理システムで設定した受電電力と従来例との比較を表すモデル図である。
本発明の第2実施形態に係る電力管理システムで設定した受電電力と従来例との電力料金の比較を表すモデル図である。
本発明の第3実施形態に係る電力管理システムを構成する制御装置の建設現場の電力管理に関する機能の要部を表すブロック図である。
本発明の第3実施形態に係る電力管理システムを構成する制御装置による建設現場の受電電力の補正手順の一例を表すフローチャートである。
本発明の第3実施形態に係る電力管理システムで設定した受電電力と第2実施形態で設定した受電電力との比較を表すモデル図である。
本発明の第2実施形態に係る電力管理システムで設定した受電電力と第2実施形態で設定した受電電力との電力料金の比較を表すモデル図である。
変形例に係る電力管理システムで設定した受電電力と第2実施形態で設定した受電電力との電力料金の比較を表すモデル図である。
【発明を実施するための形態】
【0010】
以下に図面を用いて本発明の実施の形態を説明する。
(【0011】以降は省略されています)
この特許をJ-PlatPat(特許庁公式サイト)で参照する
関連特許
日立建機株式会社
作業機械
1か月前
日立建機株式会社
作業機械
1か月前
日立建機株式会社
建設機械
2か月前
日立建機株式会社
変速装置
1か月前
日立建機株式会社
作業機械
2か月前
日立建機株式会社
油圧機器
2か月前
日立建機株式会社
作業機械
2か月前
日立建機株式会社
建設機械
2か月前
日立建機株式会社
作業機械
1か月前
日立建機株式会社
作業車両
2か月前
日立建機株式会社
建設機械
1か月前
日立建機株式会社
建設機械
1か月前
日立建機株式会社
作業機械
1か月前
日立建機株式会社
転圧機械
1か月前
日立建機株式会社
建設機械
2か月前
日立建機株式会社
作業車両
1か月前
日立建機株式会社
作業機械
1か月前
日立建機株式会社
作業車両
2か月前
日立建機株式会社
建設機械
3日前
日立建機株式会社
建設機械
2か月前
日立建機株式会社
作業機械
29日前
日立建機株式会社
油圧機器
1か月前
日立建機株式会社
作業機械
1か月前
日立建機株式会社
建設機械
1か月前
日立建機株式会社
作業機械
2か月前
日立建機株式会社
作業機械
1か月前
日立建機株式会社
作業車両
1か月前
日立建機株式会社
作業車両
2か月前
日立建機株式会社
作業機械
2か月前
日立建機株式会社
作業機械
1か月前
日立建機株式会社
作業機械
2か月前
日立建機株式会社
作業車両
1か月前
日立建機株式会社
作業機械
1か月前
日立建機株式会社
作業機械
1か月前
日立建機株式会社
ポンプ装置
1か月前
日立建機株式会社
電動建設機械
2か月前
続きを見る
他の特許を見る