TOP
|
特許
|
意匠
|
商標
特許ウォッチ
Twitter
他の特許を見る
公開番号
2025172658
公報種別
公開特許公報(A)
公開日
2025-11-26
出願番号
2024109834
出願日
2024-07-08
発明の名称
創出支援装置
出願人
株式会社博報堂テクノロジーズ
代理人
個人
主分類
G06Q
10/101 20230101AFI20251118BHJP(計算;計数)
要約
【課題】従来、生成AIと人とが一緒に一のテーマについてアイデアを創出することが困難であった。
【解決手段】テーマに関してアイデアを出す人を募集するための募集処理を行い、テーマに対するアイデアを出す提案者を決定する募集処理部431と、人物を設定する1以上の各設定プロンプトを生成AIに与える人物設定部131と、アイデア出しを行うためのプロンプトを生成AIの1以上の各エージェントに与え、アイデアを取得するアイデア取得部135と、募集処理部431が決定した提案者からのアイデアを受け付けるアイデア受付部122と、アイデア取得部135が取得したアイデアおよびアイデア受付部122が取得したアイデアを出力するアイデア出力部142とを具備する創出支援装置4により、生成AIと人とが一緒に一のテーマについてアイデアを創出することを支援できる。
【選択図】図20
特許請求の範囲
【請求項1】
1または2以上の各エージェントの人物設定のためのプロンプトを構成するための設定プロンプト雛形と、アイデア出しフェーズを含む1または2以上の各フェーズにおいて、生成AIに与えるプロンプトを構成するためのフェーズプロンプト雛形とが格納されるプロンプト管理部と、
創出するアイデアに関する属性値であり、アイデアを出す対象のテーマを含む1以上のアイデア属性値が格納される属性値格納部と、
前記テーマに関してアイデアを出す人を募集するための募集処理を行い、前記テーマに対するアイデアを出す人である提案者を決定する募集処理部と、
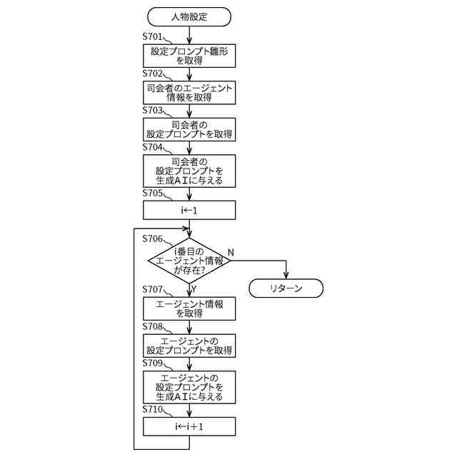
前記設定プロンプト雛形を用いて1以上の設定プロンプトを取得し、当該1以上の各設定プロンプトを前記生成AIに与える人物設定部と、
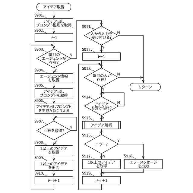
前記アイデア出しフェーズに対応する前記フェーズプロンプト雛形と前記1以上のアイデア属性値とを用いてプロンプトを取得し、当該プロンプトを前記生成AIの前記1以上の各エージェントに与え、アイデアを取得するアイデア取得部と、
前記募集処理部が決定した前記提案者からのアイデアを受け付けるアイデア受付部と、
前記アイデア取得部が取得した前記アイデアおよび前記アイデア受付部が取得した前記アイデアを出力するアイデア出力部とを具備する創出支援装置。
続きを表示(約 2,400 文字)
【請求項2】
前記プロンプト管理部には、
前記設定プロンプト雛形と、前記アイデア出しフェーズとアイデア選択フェーズとを含む2以上の各フェーズにおいて、前記生成AIに与えるプロンプトを構成するためのフェーズプロンプト雛形とが格納され、
前記アイデア選択フェーズに対応する前記フェーズプロンプト雛形と前記アイデア取得部が取得した前記アイデアと前記アイデア受付部が受け付けた前記アイデアとを用いてプロンプトを取得し、当該プロンプトを前記生成AIに与え、前記アイデア取得部が取得した前記アイデアと前記アイデア受付部が受け付けた前記アイデアとに基づいて選択された1以上のアイデアを取得するアイデア選択部をさらに具備し、
前記アイデア出力部は、
前記アイデア取得部が取得した前記アイデアおよび前記アイデア受付部が取得した前記アイデアに加えて、または前記アイデア取得部が取得した前記アイデアおよび前記アイデア受付部が取得した前記アイデアに代えて、前記アイデア選択部が取得した前記1以上のアイデアを出力する請求項1記載の創出支援装置。
【請求項3】
前記提案者に対して報酬を与えるための報酬処理を行う報酬処理部をさらに具備する請求項1または請求項2記載の創出支援装置。
【請求項4】
テーマを受け付ける属性値受付部をさらに具備し、
前記募集処理部は、
テーマに関するテーマ情報と人を特定する人識別子とを有する2以上の人材情報が格納されている人材管理部を参照し、前記テーマに対応する人である候補者を特定する1以上の人識別子を取得する候補者決定手段と、
前記候補者決定手段が取得した前記1以上の各候補者に前記テーマに関するアイデアを出すオファーを出すオファー手段と、
前記1以上の候補者のうちの1以上の候補者からの許諾情報を受信し、当該許諾情報に対応する候補者であり、アイデアを出す候補者である提案者を決定する提案者決定手段とを具備する請求項1から請求項3いずれか一項に記載の創出支援装置。
【請求項5】
前記アイデア受付部が受け付けた前記アイデアの評価を示す評価情報を取得する評価部と、
前記評価情報を出力する評価出力部とをさらに請求項1から請求項4いずれか一項に記載の創出支援装置。
【請求項6】
前記評価部が取得した前記評価情報を用いて、前記アイデアを出した前記提案者のランクを取得するランキング部と、
前記ランクを出力するランク出力部とをさらに具備する請求項5記載の創出支援装置。
【請求項7】
1または2以上の各エージェントの人物設定のためのプロンプトを構成するための設定プロンプト雛形と、アイデア出しフェーズを含む1または2以上の各フェーズにおいて、生成AIに与えるプロンプトを構成するためのフェーズプロンプト雛形とが格納されるプロンプト管理部と、創出するアイデアに関する属性値であり、アイデアを出す対象のテーマを含む1以上のアイデア属性値が格納される属性値格納部と、募集処理部と、人物設定部と、アイデア取得部と、アイデア受付部と、アイデア出力部とにより実現される創出支援方法であって、
前記募集処理部が、前記テーマに関してアイデアを出す人を募集するための募集処理を行い、前記テーマに対するアイデアを出す人である提案者を決定する募集処理ステップと、
前記人物設定部が、前記設定プロンプト雛形を用いて1以上の設定プロンプトを取得し、当該1以上の各設定プロンプトを前記生成AIに与える人物設定ステップと、
前記アイデア取得部が、前記アイデア出しフェーズに対応する前記フェーズプロンプト雛形と前記1以上のアイデア属性値とを用いてプロンプトを取得し、当該プロンプトを前記生成AIの前記1以上の各エージェントに与え、アイデアを取得するアイデア取得ステップと、
前記アイデア受付部が、前記募集処理部が決定した前記提案者からのアイデアを受け付けるアイデア受付ステップと
前記アイデア出力部が、前記アイデア取得部が取得した前記アイデアおよび前記アイデア受付部が取得した前記アイデアを出力するアイデア出力ステップとを具備する創出支援方法。
【請求項8】
1または2以上の各エージェントの人物設定のためのプロンプトを構成するための設定プロンプト雛形と、アイデア出しフェーズを含む1または2以上の各フェーズにおいて、生成AIに与えるプロンプトを構成するためのフェーズプロンプト雛形とが格納されるプロンプト管理部と、創出するアイデアに関する属性値であり、アイデアを出す対象のテーマを含む1以上のアイデア属性値が格納される属性値格納部とにアクセス可能なコンピュータを、
前記テーマに関してアイデアを出す人を募集するための募集処理を行い、前記テーマに対するアイデアを出す人である提案者を決定する募集処理部と、
前記設定プロンプト雛形を用いて1以上の設定プロンプトを取得し、当該1以上の各設定プロンプトを前記生成AIに与える人物設定部と、
前記アイデア出しフェーズに対応する前記フェーズプロンプト雛形と前記1以上のアイデア属性値とを用いてプロンプトを取得し、当該プロンプトを前記生成AIの前記1以上の各エージェントに与え、アイデアを取得するアイデア取得部と、
前記募集処理部が決定した前記提案者からのアイデアを受け付けるアイデア受付部と、
前記アイデア取得部が取得した前記アイデアおよび前記アイデア受付部が取得した前記アイデアを出力するアイデア出力部として機能させるためのプログラム。
発明の詳細な説明
【技術分野】
【0001】
本発明は、生成AIを用いてアイデアを創出することを支援する創出支援装置等に関するものである。
続きを表示(約 1,500 文字)
【背景技術】
【0002】
従来、参加者によるアイデアが創出され易い環境としてのプラットフォームとなるとされているアイデア創出支援システムがあった(特許文献1参照)。
【先行技術文献】
【特許文献】
【0003】
特開2023-35936号公報
【発明の概要】
【発明が解決しようとする課題】
【0004】
しかしながら、従来技術においては、生成AIと人とが一緒に一のテーマについてアイデアを創出することが困難であった。
【課題を解決するための手段】
【0005】
本第一の発明の創出支援装置は、1または2以上の各エージェントの人物設定のためのプロンプトを構成するための設定プロンプト雛形と、アイデア出しフェーズを含む1または2以上の各フェーズにおいて、生成AIに与えるプロンプトを構成するためのフェーズプロンプト雛形とが格納されるプロンプト管理部と、創出するアイデアに関する属性値であり、アイデアを出す対象のテーマを含む1以上のアイデア属性値が格納される属性値格納部と、テーマに関してアイデアを出す人を募集するための募集処理を行い、テーマに対するアイデアを出す人である提案者を決定する募集処理部と、設定プロンプト雛形を用いて1以上の設定プロンプトを取得し、1以上の各設定プロンプトを生成AIに与える人物設定部と、アイデア出しフェーズに対応するフェーズプロンプト雛形と1以上のアイデア属性値とを用いてプロンプトを取得し、プロンプトを生成AIの1以上の各エージェントに与え、アイデアを取得するアイデア取得部と、募集処理部が決定した提案者からのアイデアを受け付けるアイデア受付部とアイデア取得部が取得したアイデアおよびアイデア受付部が取得したアイデアを出力するアイデア出力部とを具備する創出支援装置である。
【0006】
かかる構成により、生成AIと人とが一緒に一のテーマについてアイデアを創出することを支援できる。
【0007】
また、本第二の発明の創出支援装置は、第一の発明に対して、プロンプト管理部には、設定プロンプト雛形と、アイデア出しフェーズとアイデア選択フェーズとを含む2以上の各フェーズにおいて、生成AIに与えるプロンプトを構成するためのフェーズプロンプト雛形とが格納され、アイデア選択フェーズに対応するフェーズプロンプト雛形とアイデア取得部が取得したアイデアとアイデア受付部が受け付けたアイデアとを用いてプロンプトを取得し、プロンプトを生成AIに与え、アイデア取得部が取得したアイデアとアイデア受付部が受け付けたアイデアとに基づいて選択された1以上のアイデアを取得するアイデア選択部をさらに具備し、アイデア出力部は、アイデア取得部が取得したアイデアおよびアイデア受付部が取得したアイデアに加えて、またはアイデア取得部が取得したアイデアおよびアイデア受付部が取得したアイデアに代えて、アイデア選択部が取得した1以上のアイデアを出力する創出支援装置である。
【0008】
かかる構成により、生成AIと人とが一緒に一のテーマについて出したアイデアの中から適切なアイデアを選択できる。
【0009】
また、本第三の発明の創出支援装置は、第一または第二の発明に対して、提案者に対して報酬を与えるための報酬処理を行う報酬処理部をさらに具備する創出支援装置である。
【0010】
かかる構成により、アイデアを出した提案者に報酬を与えることができる。
(【0011】以降は省略されています)
この特許をJ-PlatPat(特許庁公式サイト)で参照する
関連特許
個人
詐欺保険
1か月前
個人
縁伊達ポイン
1か月前
個人
職業自動販売機
12日前
個人
RFタグシート
1か月前
個人
5掛けポイント
19日前
個人
QRコードの彩色
1か月前
個人
地球保全システム
1か月前
個人
ペルソナ認証方式
27日前
個人
自動調理装置
29日前
個人
情報処理装置
22日前
個人
残土処理システム
1か月前
個人
表変換編集支援システム
2か月前
個人
農作物用途分配システム
1か月前
個人
タッチパネル操作指代替具
1か月前
個人
知的財産出願支援システム
1か月前
個人
インターネットの利用構造
26日前
個人
サービス情報提供システム
14日前
個人
携帯端末障害問合せシステム
1か月前
個人
スケジュール調整プログラム
1か月前
個人
パスワード管理支援システム
2か月前
個人
海外支援型農作物活用システム
2か月前
株式会社キーエンス
受発注システム
1か月前
個人
食品レシピ生成システム
1か月前
株式会社キーエンス
受発注システム
1か月前
個人
AIキャラクター制御システム
2か月前
個人
システム及びプログラム
2か月前
株式会社キーエンス
受発注システム
1か月前
個人
エリアガイドナビAIシステム
27日前
個人
人格進化型対話応答制御システム
2か月前
個人
社会還元・施設向け供給支援構造
2か月前
キヤノン株式会社
表示システム
1か月前
大同特殊鋼株式会社
疵判定方法
2か月前
キヤノン株式会社
情報処理装置
20日前
株式会社ワコム
電子ペン
21日前
キヤノン株式会社
画像認識装置
6日前
キヤノン株式会社
情報処理装置
6日前
続きを見る
他の特許を見る