TOP
|
特許
|
意匠
|
商標
特許ウォッチ
Twitter
他の特許を見る
10個以上の画像は省略されています。
公開番号
2025178796
公報種別
公開特許公報(A)
公開日
2025-12-09
出願番号
2024085610
出願日
2024-05-27
発明の名称
光学素子、及び光学素子の製造方法
出願人
浜松ホトニクス株式会社
代理人
個人
,
個人
,
個人
,
個人
主分類
H10H
20/855 20250101AFI20251202BHJP()
要約
【課題】光学的特性を向上させることができるとともに、信頼性を確保することができる光学素子、及びそのような光学素子の製造方法を提供する。
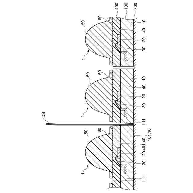
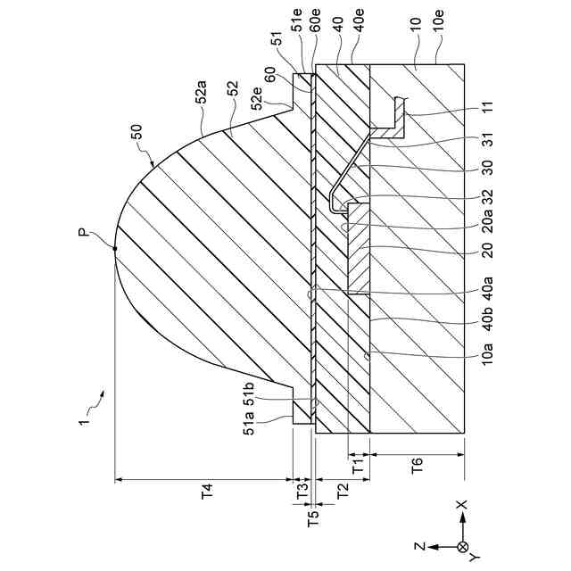
【解決手段】光学素子1は、配線層10と、配線層10上に配置された光半導体素子20と、配線層10と光半導体素子20とを接続するワイヤ30と、配線層10上に配置された封止層40と、封止層40の表面40a上に配置された光学部材50と、封止層40と光学部材50との間に配置された接着層60とを備える。光学部材50は、接着層60上に配置されたシート部51と、シート部51上に形成されたレンズ部52とを有する。配線層10の厚さ方向におけるレンズ部52の厚さT4は、シート部51の厚さT3及び接着層60の厚さT5の合計よりも大きい。配線層10の厚さ方向から見た場合に、ワイヤ30のうち配線層10に接続された端部31は、レンズ部52の外縁52eの内側に位置している。
【選択図】図2
特許請求の範囲
【請求項1】
配線層と、
前記配線層上に配置された光半導体素子と、
前記配線層と前記光半導体素子とを電気的に接続するワイヤと、
前記光半導体素子を封止するように前記配線層上に配置された封止層と、
前記封止層における前記配線層とは反対側の表面上に配置された光学部材と、
前記封止層と前記光学部材との間に配置された接着層と、を備え、
前記光学部材は、前記接着層上に配置されたシート部と、前記シート部上に形成されたレンズ部とを有し、
前記配線層の厚さ方向における前記レンズ部の厚さは、前記シート部の厚さ及び前記接着層の厚さの合計よりも大きく、
前記配線層の厚さ方向から見た場合に、前記ワイヤのうち前記配線層に接続された端部は、前記レンズ部の外縁の内側に位置している、
光学素子。
続きを表示(約 1,000 文字)
【請求項2】
前記シート部の厚さは、前記封止層の厚さよりも小さい、
請求項1に記載の光学素子。
【請求項3】
前記シート部の厚さは、前記光半導体素子の厚さよりも小さい、
請求項1又は2に記載の光学素子。
【請求項4】
前記配線層の厚さ方向から見た場合に、前記シート部の外縁は、前記封止層の外縁の内側に位置している、
請求項1又は2に記載の光学素子。
【請求項5】
前記配線層の厚さ方向から見た場合に、前記シート部の外縁は、前記接着層の外縁と一致している、
請求項1又は2に記載の光学素子。
【請求項6】
前記配線層の厚さ方向から見た場合に、前記シート部の外縁は矩形状を有している、
請求項1又は2に記載の光学素子。
【請求項7】
前記配線層の厚さ方向から見た場合の前記レンズ部の幅は、前記配線層の厚さ方向における前記レンズ部の厚さよりも大きい、
請求項1又は2に記載の光学素子。
【請求項8】
前記配線層の厚さ方向から見た場合に、前記シート部の外縁における一点から前記レンズ部の中心を通り前記シート部の外縁における他の点に至る線分であって、前記一点から前記他の点までの距離が最小となる第1線分上において、前記シート部は、前記レンズ部を挟むように位置する第1部分及び第2部分を有し、
前記第1線分上における前記レンズ部の幅は、前記第1線分上における前記第1部分の幅及び前記第2部分の幅の合計よりも大きい、
請求項1又は2に記載の光学素子。
【請求項9】
前記配線層の厚さ方向から見た場合に、前記シート部の外縁における一点から前記レンズ部の中心を通り前記シート部の外縁における他の点に至る線分であって、前記一点から前記他の点までの距離が最大となる第2線分上において、前記シート部は、前記レンズ部を挟むように位置する第3部分及び第4部分を有し、
前記第2線分上における前記レンズ部の幅は、前記第2線分上における前記第3部分の幅及び前記第4部分の幅の合計よりも大きい、
請求項1又は2に記載の光学素子。
【請求項10】
前記配線層の厚さ方向における前記レンズ部の厚さは、前記シート部の厚さ及び前記接着層の厚さの合計の2倍以上である、
請求項1又は2に記載の光学素子。
(【請求項11】以降は省略されています)
発明の詳細な説明
【技術分野】
【0001】
本発明は、光学素子、及び光学素子の製造方法に関する。
続きを表示(約 2,100 文字)
【背景技術】
【0002】
特許文献1には、フォトダイオードと、ICチップと、フォトダイオード及びICチップを封止する封止樹脂と、封止樹脂のフォトダイオードと対向する面に形成されたレンズ部と、を備える光学素子が開示されている。
【先行技術文献】
【特許文献】
【0003】
国際公開第2005/071759号
【発明の概要】
【発明が解決しようとする課題】
【0004】
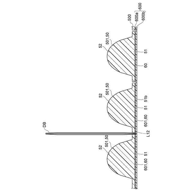
上述したような光学素子では、光学的特性の向上を図るためにレンズ部を大きく形成することが考えられる。しかしながら、レンズ部の大型化に伴い、レンズ部及び封止樹脂から構成される樹脂部材の体積が大きくなる。これにより、例えば温度変化によって生じる樹脂部材の膨張又は収縮に起因する応力が増加する。このような応力の増加は、封止樹脂によって封止された光半導体素子の電気的接続に影響を及ぼすことがある。例えば、光半導体素子が配線層等の他の部材とワイヤによって接続されている場合、応力によって他の部材からワイヤが剥離したり、ワイヤの断線が生じたりして、電気的接続が適切に維持されなくなるおそれがある。
【0005】
本発明は、光学的特性を向上させることができるとともに、信頼性を確保することができる光学素子、及びそのような光学素子の製造方法を提供することを目的とする。
【課題を解決するための手段】
【0006】
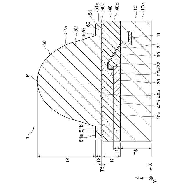
本発明の光学素子は、[1]「配線層と、前記配線層上に配置された光半導体素子と、前記配線層と前記光半導体素子とを電気的に接続するワイヤと、前記光半導体素子を封止するように前記配線層上に配置された封止層と、前記封止層における前記配線層とは反対側の表面上に配置された光学部材と、前記封止層と前記光学部材との間に配置された接着層と、を備え、前記光学部材は、前記接着層上に配置されたシート部と、前記シート部上に形成されたレンズ部とを有し、前記配線層の厚さ方向における前記レンズ部の厚さは、前記シート部の厚さ及び前記接着層の厚さの合計よりも大きく、前記配線層の厚さ方向から見た場合に、前記ワイヤのうち前記配線層に接続された端部は、前記レンズ部の外縁の内側に位置している、光学素子」である。
【0007】
上記光学素子では、配線層の厚さ方向におけるレンズ部の厚さが、シート部の厚さ及び接着層の厚さの合計よりも大きく、配線層の厚さ方向から見た場合に、ワイヤのうち配線層に接続された端部が、レンズ部の外縁の内側に位置している。これにより、レンズ部が大きく形成されるため、光学素子の光学的特性を向上させることができる。また、上記光学素子では、封止層が光半導体素子を封止するように配線層上に配置され、光学部材が封止層上に配置され、封止層と光学部材との間に接着層が配置されている。すなわち、レンズ部を有する光学部材が、光半導体素子を封止する封止層と別体に形成されている。これにより、レンズ部を大きく形成したとしても封止層の体積が変化しないため、温度変化による封止層の膨張又は収縮に起因する応力が増加しない。そのため、応力によって生じる配線層からのワイヤの剥離及びワイヤの断線を抑制することができ、光半導体素子の電気的接続を安定的に維持することができる。さらに、上記光学素子では、光学部材が、接着層上に配置されたシート部と、シート部上に形成されたレンズ部とを有している。これにより、レンズ部を封止層上に直接配置する場合と比べて、光学部材における接着層との接着面積が増加し、封止層に対して光学部材を安定した状態で接着することができる。よって、上記光学素子によれば、光学的特性を向上させることができるとともに、信頼性を確保することができる。
【0008】
本発明の光学素子は、[2]「前記シート部の厚さは、前記封止層の厚さよりも小さい、上記[1]に記載の光学素子」であってもよい。この場合、シート部上に形成されたレンズ部から光半導体素子までの距離を小さくすることができ、光学素子の光学的特性を向上させることができる。
【0009】
本発明の光学素子は、[3]「前記シート部の厚さは、前記光半導体素子の厚さよりも小さい、上記[1]又は[2]に記載の光学素子」であってもよい。この場合、レンズ部の厚さを大きく設計しつつ、シート部の厚さを小さくすることができる。すなわち、レンズ部を大型化させることによって光学素子の光学的特性を向上させるとともに、シート部上に形成されたレンズ部から光半導体素子までの距離を小さくすることによっても光学的特性をより一層向上させることができる。
【0010】
本発明の光学素子は、[4]「前記配線層の厚さ方向から見た場合に、前記シート部の外縁は、前記封止層の外縁の内側に位置している、上記[1]~[3]のいずれか一つに記載の光学素子」であってもよい。この場合、封止層における接着層との接着面積を小さくすることができ、光学素子の光学的特性を向上させることができる。
(【0011】以降は省略されています)
この特許をJ-PlatPat(特許庁公式サイト)で参照する
関連特許
個人
積和演算用集積回路
1か月前
サンケン電気株式会社
半導体装置
1か月前
旭化成株式会社
発光素子
1か月前
日機装株式会社
半導体発光装置
27日前
ローム株式会社
半導体装置
11日前
ローム株式会社
抵抗チップ
1か月前
三菱電機株式会社
半導体装置
19日前
三菱電機株式会社
半導体装置
今日
三菱電機株式会社
半導体装置
6日前
株式会社半導体エネルギー研究所
表示装置
11日前
三菱電機株式会社
半導体装置
1か月前
株式会社東芝
半導体装置
19日前
富士電機株式会社
半導体装置
1か月前
ローム株式会社
半導体集積回路
1か月前
日亜化学工業株式会社
発光装置
1か月前
ローム株式会社
窒化物半導体装置
1か月前
ローム株式会社
半導体装置
1か月前
株式会社半導体エネルギー研究所
発光デバイス
1か月前
ローム株式会社
半導体装置
4日前
ローム株式会社
半導体装置
1か月前
株式会社半導体エネルギー研究所
発光デバイス
27日前
サンケン電気株式会社
半導体装置
19日前
ローム株式会社
半導体装置
1か月前
日亜化学工業株式会社
発光素子
1か月前
大日本印刷株式会社
太陽電池
1か月前
新電元工業株式会社
半導体素子
4日前
新電元工業株式会社
半導体素子
4日前
新電元工業株式会社
半導体素子
4日前
ローム株式会社
光センサ
1か月前
日亜化学工業株式会社
発光装置
4日前
日本ゼオン株式会社
構造体
1か月前
日亜化学工業株式会社
発光装置
1か月前
日亜化学工業株式会社
発光素子
1か月前
日亜化学工業株式会社
発光装置
1か月前
今泉工業株式会社
光発電装置及びその製造方法
1か月前
ローム株式会社
半導体装置
19日前
続きを見る
他の特許を見る