TOP
|
特許
|
意匠
|
商標
特許ウォッチ
Twitter
他の特許を見る
公開番号
2025169831
公報種別
公開特許公報(A)
公開日
2025-11-14
出願番号
2024075008
出願日
2024-05-04
発明の名称
海苔の異物検査装置
出願人
株式会社川島製作所
代理人
個人
主分類
G01N
21/88 20060101AFI20251107BHJP(測定;試験)
要約
【課題】第1に、操作が容易化され、第2に、異物の見逃し,選別ミス,操作ミス等も防止され、第3に、しかもこれらが、簡単容易に実現される、海苔の異物検査装置を提案する。
【解決手段】異物検査装置12は、海苔Bの外表面(表面や裏面)に付着した異物や、海苔B内に挟み込まれた異物の、除去作業に際して使用され、第1システムGと第2システムHとを備えている。第1システムGと第2システムHは、装置フレーム2に組み込まれ、同時に駆動オン可能であると共に、同時駆動オン状態で交替して検査可能となっており、もって、異物Bの有無や位置が判定,検査される。そして、第2システムHのカメラ15に、可視光カットフィルター14を設けてなり、検査対象の海苔Bが置かれる近赤外透過載置プレート13を、海苔Bの明度に見合った暗トーン,低明度としてなる。
【選択図】図1
特許請求の範囲
【請求項1】
海苔の異物除去作業に際し使用される異物検査装置であって、第1システムと第2システムとを備えており、
海苔は、低明度の近赤外透過載置プレート上に置かれ、
該第1システムでは、可視光光源から下方に向け照射された可視光が、光源側偏光板にて偏光され、偏光光が該載置プレート上の海苔を照射し、その反射光が目視側偏光板に受光され、
もって、該目視側偏光板での光透過や遮光に基づき、海苔の外表面に付着した異物の検査が行われ、
該第2システムでは、赤外光源から上方に向け照射された近赤外光が、該載置プレートを介し海苔を照射し、もって、海苔での光透過や遮光、これに基づく可視光カットフィルター付カメラの撮影、撮影画像のディスプレイ表示により、
海苔内に挟み込まれた異物の検査が行われること、を特徴とする海苔の異物検査装置。
続きを表示(約 280 文字)
【請求項2】
請求項1において、該第1システムと該第2システムとは、装置フレームに組み込まれ、同時に駆動オン可能であると共に、同時駆動オン状態で交替して検査可能となっており、もって、それぞれ異物の有無や位置が判定されること、を特徴とする海苔の異物検査装置。
【請求項3】
請求項1において、該載置プレートは、検査対象の海苔が載置され、海苔の明度に見合った暗トーンよりなると共に、近赤外光を透過し、
該カメラは、エリアカメラよりなり、該可視光カットフィルターは、可視光をカットし近赤外光を透過させること、を特徴とする海苔の異物検査装置。
発明の詳細な説明
【技術分野】
【0001】
本発明は、海苔の異物検査装置に関する。すなわち、海苔の外表面(表面や裏面)に付着した異物の除去作業や、海苔内に挟み込まれた異物の除去作業に際して使用される、異物検査装置に関する。
続きを表示(約 3,100 文字)
【背景技術】
【0002】
《技術的背景》
海苔(乾海苔)の生産ラインでは、生海苔摘採,水洗,抄き,脱水,乾燥等の前工程ラインの後、異物選別,カウント集積,折曲,結束等の後工程ラインを辿って、海苔が生産,出荷されている。
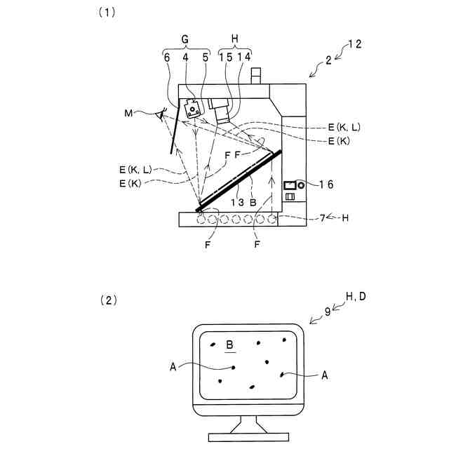
異物選別工程では異物選別機により、図4に示したように、各種夾雑物や金属等の異物Aが付着したり挟み込まれた、海苔Bの選別が行われる。選別され異物A有の海苔Bは、他の良品の海苔Bから取り除かれ、ラインから一旦取り除かれて、不良バケットに回収される。
そして事後、不良バケットから取り出し、1枚1枚について人手により、異物Aの除去作業がナイフ等を用いて行われ、もって、異物Aが除去された海苔Bが、商品として再びラインに戻されている。
【0003】
さて、このような異物Aの除去作業は、海苔Bを目視検査しつつ行われていた。目視により、異物Aを探し出し,位置を見定め,判定する目視検査により発見した異物Aを、手作業で除去していた。
ところで異物Aは、除去装置による除去にて、すなわち、上記生産ラインへの供給前に生海苔について予め実施される、除去装置による事前除去にて、大きなサイズのものは既に除去されている。
もって事後、異物A除去作業に供される異物Aは、小さなサイズのものが多く、目視検査での異物A発見は、容易でなかった。
【0004】
《従来技術》
このような状況に鑑み、従来、異物検査装置が開発されていた。異物A除去作業に際し、その補助として異物Aの検査に供される異物検査装置が、開発されていた。
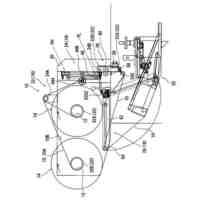
図3に示したように、この異物検査装置1では、装置フレーム2に、第1システムCと第2システムDが組み込まれていた。海苔Bは、白色拡散板製の近赤外透過載置プレート3上に、置かれていた。
第1システムCでは、可視光光源4から照射された可視光Eが、光源側偏光板5にて偏光され、偏光光が海苔Bを照射し、その反射光が目視側偏光板6に受光される。そして、その光透過や遮光に基づき、操作者Mにて、海苔Bの外表面に付着した異物A(図4の(1)図,(2)図を参照)の、検査が行われていた。
第2システムDでは、赤外光源7から照射された近赤外光Fが、海苔Bを照射し、もって、海苔Bでの光透過や遮光、そしてこれに基づくカメラ8の撮影、撮影画像のディスプレイ9表示により、海苔B内に挟み込まれた異物A(図4の(3)図,(4)図を参照)の、検査が行われていた。
【先行技術文献】
【特許文献】
【0005】
このような従来技術としては、例えば、次の特許文献1や非特許文献1中に示されたものが、挙げられる。
特開2023-163836号公報(特許第7256567号公報)
中嶋 但著、株式会社テクノシステム発行、1995年1月6日初版発行、「目視検査の自動化技術」、291ページから293ページに掲載の「8.海苔のキズ・異物混入検査法」
【発明の概要】
【発明が解決しようとする課題】
【0006】
ところで、このような従来の海苔の異物検査装置1については、次の問題が課題として指摘されていた。
この異物検査装置1では、図3の(1)図に示したように、第1システムCを、その運転スイッチ10にて駆動オンすることにより、可視光光源4が点灯され、もって反射方式により、海苔Bの外表面に付着した異物Aの検査が行われていた。
その際、第2システムDは、近赤外光Fが第1システムCによる検査に影響を与えないように、その運転スイッチ11にて駆動オフされ、赤外光源7が消灯されていた。
これに対し、図3の(2)図に示したように、第2システムDを、その運転スイッチ11にて駆動オンにすることにより、赤外光源7が点灯され、もって透過方式により、海苔B内に挟み込まれた異物Aの検査が行われていた。
その際、第1システムCは、可視光Eが、第2システムDによる検査に影響を与えないように、その運転スイッチ10にて駆動オフされ、可視光光源4が消灯されていた。カメラ8が可視光Eの影響を受けないように消灯されていた。
【0007】
このように、従来の異物検査装置1では、第1システムCと第2システムDとが、順次交替して別々に駆動オン,オフされていた。そして、駆動オンに対応した、海苔Bの外表面の異物Aの検査や、内部に挟み込まれた異物Aの検査が、交替で行われていた。
もって、従来の異物検査装置1については、操作が面倒との指摘があった。
運転スイッチ10,11のオン,オフ切替の時間的ロスも発生し、スイッチ切替の分だけ検査に時間がかかっていた。
【0008】
特に、海苔Bでは一般的に、外表面(表面や裏面)の異物Aと内部に挟み込まれた異物Aとが、各種パターンで混在している。
すなわち、同じ1枚の海苔Bであっても、異物Aのパターンは様々である。海苔Bの表面,裏面,内部の各パートについて、そのいずれかのパート、又は、その両パート、又は、その全パート等について、異物Aが様々なパターンで混在している。
そして、このような海苔Bが、次々と異物検査装置1の検査対象となるので、その異物Aパターンに応じ、その都度、対応した第1システムC又は第2システムDが、駆動オンされ、対応しない第1システムC又は第2システムDが、駆動オフされていた。
このようにその都度、運転スイッチ10,11が度々オン,オフ切替され、その分、操作が複雑化し面倒であり、混在する異物Aの見逃し,選別ミス,操作ミス等も、発生し易かった。
【0009】
《本発明について》
本発明の海苔の異物検査装置は、このような実情に鑑み、上記従来技術の課題を解決すべくなされたものである。
そして本発明は、第1に、操作が容易化され、第2に、異物の見逃し,選別ミス,操作ミス等も防止され、第3に、しかもこれらが簡単容易に実現される、海苔の異物検査装置を提案することを目的とする。
【課題を解決するための手段】
【0010】
《各請求項について》
このような課題を解決する本発明の技術的手段は、特許請求の範囲に記載したように、次のとおりである。
請求項1については、次のとおり。
請求項1の海苔の異物検査装置は、海苔の異物除去作業に際し使用され、第1システムと第2システムとを、備えている。海苔は、低明度の近赤外透過載置プレート上に、置かれる。
そして第1システムでは、可視光光源から下方に向け照射された可視光が、光源側偏光板にて偏光され、偏光光が該載置プレート上の海苔を照射し、その反射光が目視側偏光板に受光される。
もって、該目視側偏光板での光透過や遮光に基づき、海苔の外表面に付着した異物の検査が行われる。
第2システムでは、赤外光源から上方に向け照射された近赤外光が、該載置プレートを介し海苔を照射する。
もって、海苔での光透過や遮光、これに基づく可視光カットフィルター付カメラの撮影、撮影画像のディスプレイ表示により、海苔内に挟み込まれた異物の検査が行われること、を特徴とする。
(【0011】以降は省略されています)
この特許をJ-PlatPat(特許庁公式サイト)で参照する
関連特許
株式会社川島製作所
海苔の異物検査装置
3日前
株式会社川島製作所
横型正ピロー包装機
1か月前
株式会社川島製作所
包装材送り装置及び製袋充填包装機
3日前
個人
採尿及び採便具
18日前
日本精機株式会社
検出装置
12日前
個人
計量機能付き容器
7日前
個人
高精度同時多点測定装置
1か月前
個人
アクセサリー型テスター
1か月前
株式会社ミツトヨ
測定器
24日前
甲神電機株式会社
電流検出装置
12日前
アズビル株式会社
電磁流量計
27日前
大成建設株式会社
風洞実験装置
7日前
ダイキン工業株式会社
監視装置
1か月前
個人
非接触による電磁パルスの測定方法
10日前
大和製衡株式会社
組合せ計量装置
21日前
愛知電機株式会社
軸部材の外観検査装置
21日前
日本信号株式会社
距離画像センサ
10日前
長崎県
形状計測方法
1か月前
個人
システム、装置及び実験方法
27日前
愛知時計電機株式会社
ガスメータ
24日前
日本特殊陶業株式会社
ガスセンサ
5日前
ローム株式会社
半導体装置
1か月前
ローム株式会社
半導体装置
1か月前
大和製衡株式会社
組合せ計量装置
21日前
個人
計量具及び計量機能付き容器
7日前
双庸電子株式会社
誤配線検査装置
13日前
個人
液位検視及び品質監視システム
5日前
株式会社デンソー
電流センサ
1か月前
日東精工株式会社
振動波形検査装置
13日前
株式会社不二越
X線測定装置
10日前
トヨタ自動車株式会社
測定システム
1か月前
日本特殊陶業株式会社
センサ
1か月前
日本特殊陶業株式会社
センサ
1か月前
日本特殊陶業株式会社
センサ
1か月前
中国電力株式会社
電柱管理システム
1か月前
日本特殊陶業株式会社
センサ
1か月前
続きを見る
他の特許を見る