TOP
|
特許
|
意匠
|
商標
特許ウォッチ
Twitter
他の特許を見る
公開番号
2025140825
公報種別
公開特許公報(A)
公開日
2025-09-29
出願番号
2024040423
出願日
2024-03-14
発明の名称
給電モジュール及び給電システム
出願人
オムロン株式会社
代理人
弁理士法人秀和特許事務所
主分類
H02J
7/00 20060101AFI20250919BHJP(電力の発電,変換,配電)
要約
【課題】より簡易にEVの蓄電池を充電できる給電モジュール及び給電システムを提供する。
【解決手段】車両情報を送信する送信部と受電コイルと前記受電コイルが受電した電力によって充電可能な蓄電池とを有する車両に給電する給電モジュールであって、本給電モジュールは、駐車場に駐車される上記車両の上記受電コイルに向けて配置される送電コイルと、上記車両情報を上記送信部から受信する受信部と、上記受信部によって上記車両情報が受信されると、外部電源から供給される電力を上記送電コイルから上記受電コイルに向けて送電して前記蓄電池を充電させる制御部と、を備える。
【選択図】図1
特許請求の範囲
【請求項1】
車両情報を送信する送信部と受電コイルと前記受電コイルが受電した電力によって充電可能な蓄電池とを有する車両に給電する給電モジュールであって、
駐車場に駐車される前記車両の前記受電コイルに向けて配置される送電コイルと、
前記車両情報を前記送信部から受信する受信部と、
前記受信部によって前記車両情報が受信されると、外部電源から供給される電力を前記送電コイルから前記受電コイルに向けて送電して前記蓄電池を充電させる制御部と、を備える、
給電モジュール。
続きを表示(約 1,100 文字)
【請求項2】
前記車両情報は、前記車両の車種を示す車種情報を含み、
前記制御部は、前記受信部によって前記車種情報が受信されると、前記送電コイルから前記受電コイルに向けて送電する、
請求項1に記載の給電モジュール。
【請求項3】
前記制御部は、前記受信部によって受信された前記車種情報が示す車種と、登録済みの車種とが一致する場合に、前記送電コイルから前記受電コイルに向けて送電する、
請求項2に記載の給電モジュール。
【請求項4】
前記車両情報は前記蓄電池に係る蓄電池情報を含み、
前記制御部は、前記受信部によって前記蓄電池情報が受信されると、前記送電コイルから前記受電コイルに向けて送電する、
請求項1に記載の給電モジュール。
【請求項5】
前記蓄電池情報は、前記蓄電池の残容量を示す残容量情報を含み、
前記制御部は、前記残容量情報を基に、前記送電コイルによる前記送電を制御する、
請求項4に記載の給電モジュール。
【請求項6】
前記送電コイルは、前記駐車場の地中に配置される、
請求項1に記載の給電モジュール。
【請求項7】
前記給電モジュールは、前記駐車場の地中に配置され、
前記送電コイルは、前記制御部よりも前記車両側に配置される、
請求項1に記載の給電モジュール。
【請求項8】
前記駐車場に駐車した前記車両を検知する検知センサをさらに備え、
前記制御部は、前記検知センサが前記車両の前記駐車場への駐車を検知し、かつ、前記受信部によって前記車両情報が受信されると、前記送電コイルから前記受電コイルに向けて送電する、
請求項1から7のいずれか一項に記載の給電モジュール。
【請求項9】
車両と給電モジュールと、を備える給電システムであって、
前記車両は、
車両情報を送信する送信部と、
受電コイルと、
前記受電コイルが受電した電力によって充電可能な蓄電池と、を有し、
前記給電モジュールは、
駐車場に駐車される前記車両の前記受電コイルに向けて配置される送電コイルと、
前記車両情報を前記送信部から受信する受信部と、
前記受信部によって前記車両情報が受信されると、外部電源から供給される電力を前記送電コイルから前記受電コイルに向けて送電して前記蓄電池を充電させる制御部と、を有する、
給電システム。
発明の詳細な説明
【技術分野】
【0001】
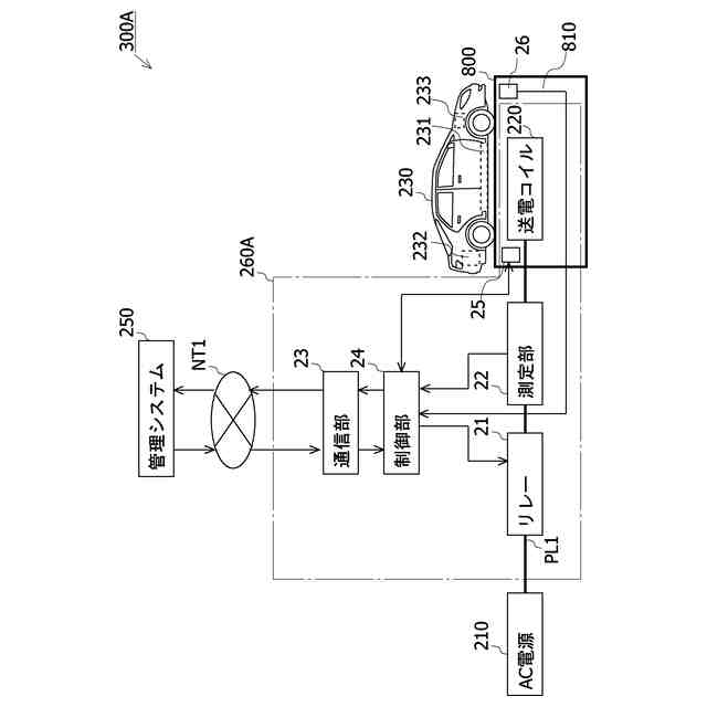
本発明は、給電モジュール及び給電システムに関する。
続きを表示(約 1,400 文字)
【背景技術】
【0002】
電気自動車(EV)の普及に伴い、EVに搭載された蓄電池の充電に係る技術として、例えば、電力料金に応じてEVの蓄電池の充電スケジュールを調整する技術が提案されている(特許文献1参照)。
【先行技術文献】
【特許文献】
【0003】
特開2015-141465号公報
【発明の概要】
【発明が解決しようとする課題】
【0004】
EVの蓄電池に充電する場合、EVと充電施設とが電力ケーブルで接続される。このような接続は充電の度に行われるため、EVの利用者にとって煩わしい作業となり得る。
【0005】
開示の技術の1つの側面は、より簡易にEVの蓄電池を充電できる給電モジュール及び給電システムを提供することを目的とする。
【課題を解決するための手段】
【0006】
開示の技術の1つの側面は、次のような給電モジュールによって例示される。本給電モジュールは、車両情報を送信する送信部と受電コイルと上記受電コイルが受電した電力によって充電可能な蓄電池とを有する車両に給電する給電モジュールである。本給電モジュールは、駐車場に駐車される上記車両の上記受電コイルに向けて配置される送電コイルと、上記車両情報を上記送信部から受信する受信部と、上記受信部によって上記車両情報が受信されると、外部電源から供給される電力を上記送電コイルから上記受電コイルに向けて送電して上記蓄電池を充電させる制御部と、を備える。
【0007】
本給電モジュールでは、上記受信部によって上記車両情報が受信されると、上記送電コイルから上記受電コイルに送電される。上記受信部によって上記車両情報が受信される場合、上記車両は上記駐車場に駐車した状態と考えられる。本給電モジュールでは、上記給電モジュールと上記車両とを電力ケーブルによって接続しなくてよく、また、充電開始の指示を行わなくともよいため、より簡易に上記車両の上記蓄電池の充電が可能となる。
【0008】
ここで、上記車両情報は、上記車両の車種を示す車種情報を含み、上記制御部は、上記受信部によって上記車種情報が受信されると、上記送電コイルから上記受電コイルに向けて送電してもよい。また、上記車両情報は上記蓄電池に係る蓄電池情報を含み、上記制御部は、上記受信部によって上記蓄電池情報が受信されると、上記送電コイルから上記受電コイルに向けて送電してもよい。
【0009】
上記車両情報が上記車両の車種を示す車種情報を含む場合に、上記制御部は、上記受信部によって受信された上記車種情報が示す車種と、登録済みの車種とが一致する場合に、上記送電コイルから上記受電コイルに向けて送電してもよい。このような給電モジュールによれば、上記送電コイルによる送電の対象が登録済みの車種に限定されるため、盗電のリスクが低減する。
【0010】
また、上記蓄電池情報が上記蓄電池の残容量を示す残容量情報を含む場合に、上記制御部は、上記残容量情報を基に、上記送電コイルによる上記送電を制御してもよい。このような給電モジュールによれば、蓄電池の残容量に応じて上記送電コイルによる送電が制御できる。
(【0011】以降は省略されています)
この特許をJ-PlatPat(特許庁公式サイト)で参照する
関連特許
オムロン株式会社
電磁継電器
15日前
オムロン株式会社
サーボドライバ
7日前
オムロン株式会社
発光エンブレム
7日前
オムロン株式会社
パワーコンディショナ
17日前
オムロン株式会社
電力システム及び制御装置
17日前
オムロン株式会社
監視装置、監視方法及びプログラム
今日
オムロン株式会社
情報処理システムおよび情報処理方法
14日前
オムロン株式会社
制御装置、制御方法、及び制御プログラム
14日前
オムロン株式会社
管理システム、管理方法及び管理プログラム
今日
オムロン株式会社
画像処理装置、画像処理方法及びプログラム
14日前
オムロン株式会社
処理装置、処理方法、および処理プログラム
10日前
オムロン株式会社
処理装置、処理方法、および処理プログラム
10日前
オムロン株式会社
モデル生成方法、推論プログラム及び推論装置
7日前
オムロン株式会社
制御装置、情報処理方法および情報処理プログラム
14日前
オムロン株式会社
物体検出装置、物体検出方法、および制御プログラム
7日前
オムロン株式会社
感震センサおよび地震検知方法、地震検知プログラム
2日前
オムロン株式会社
雨滴検出装置、雨滴検出方法および雨滴検出プログラム
22日前
オムロン株式会社
走行制御装置、走行制御方法、及び走行制御プログラム
25日前
オムロン株式会社
表示制御装置、表示制御方法および表示制御プログラム
9日前
オムロン株式会社
オドメトリパラメータ較正装置、方法、及びプログラム
14日前
オムロン株式会社
設計支援方法、設計支援装置、プログラム、及び記録媒体
15日前
オムロン株式会社
信頼度マップ作成方法、自己位置決定方法、装置、及びプログラム
14日前
オムロン株式会社
入出場管理システム、入出場管理方法、及び入出場管理プログラム
15日前
オムロン株式会社
分析支援装置、分析支援方法、分析支援プログラムおよび分析支援端末
14日前
オムロン株式会社
機器テスト処理装置、機器テスト処理方法、機器テスト処理プログラム
17日前
オムロン株式会社
チケット管理システム、チケット管理方法、及びチケット管理プログラム
15日前
オムロン株式会社
外観検査システム、外観検査装置、外観検査装置の制御方法及びプログラム
15日前
オムロン株式会社
チケット管理システム、チケット管理装置、チケット管理方法、及びプログラム
17日前
オムロン株式会社
旅客流動混雑予測装置、旅客流動混雑予測方法及び旅客流動混雑予測プログラム
今日
オムロン株式会社
ロボット制御装置、代表物体情報生成装置、操作情報付与装置、方法、及びプログラム
14日前
個人
単極モータ
10日前
株式会社アイシン
ロータ
10日前
株式会社アイシン
ロータ
14日前
日星電気株式会社
ケーブル組立体
2日前
西部電機株式会社
充電装置
17日前
日本精機株式会社
サージ保護回路
17日前
続きを見る
他の特許を見る