TOP
|
特許
|
意匠
|
商標
特許ウォッチ
Twitter
他の特許を見る
10個以上の画像は省略されています。
公開番号
2025141329
公報種別
公開特許公報(A)
公開日
2025-09-29
出願番号
2024041214
出願日
2024-03-15
発明の名称
監視システム、点灯制御方法、及びプログラム
出願人
オムロン株式会社
代理人
個人
,
個人
,
個人
主分類
B61L
23/00 20060101AFI20250919BHJP(鉄道)
要約
【課題】警報装置に設けられた運転灯の発光による近隣住民の迷惑を軽減することが可能な監視システム、点灯制御方法、及びプログラムを提供する。
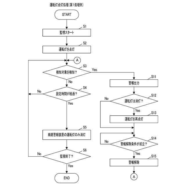
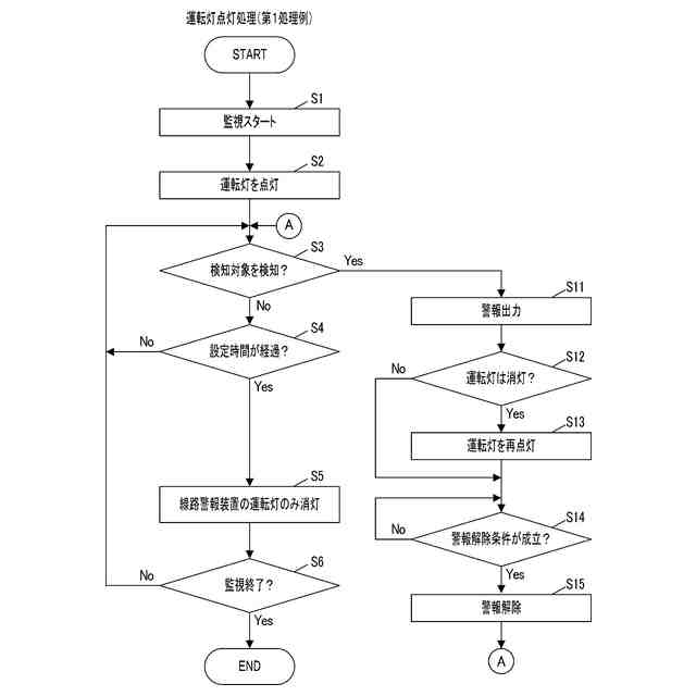
【解決手段】監視システムにおいて、非検知時間が設定時間に達した場合に(S4)、線路警報装置の運転灯が消灯される(S5)。前記非検知時間が前記設定時間を超えるような状況は、前記監視システムの稼働確認の必要性が低い状況であり、この場合は、前記運転灯が消灯される。
【選択図】図5
特許請求の範囲
【請求項1】
駅のプラットホームにおける検知対象を所定の検知装置を用いて検知する監視システムであって、
システム稼働中に点灯される運転灯を含む第1警報装置と、
前記検知対象が検知されない非検知時間が予め定められた設定時間に達したか否かを判定する判定部と、
前記非検知時間が前記設定時間に達した場合に点灯中の前記運転灯を消灯し、前記運転灯の消灯中に前記検知対象が検知された場合に前記運転灯を点灯する点灯制御部と、を備える監視システム。
続きを表示(約 1,600 文字)
【請求項2】
前記点灯制御部は、前記運転灯の消灯中に、前記プラットホームに車両が近づいてきたことが検知された場合に前記運転灯を点灯する、請求項1に記載の監視システム。
【請求項3】
前記プラットホームの近傍に設けられ、前記運転灯を含む第2警報装置を更に備え、
前記第1警報装置は、前記プラットホームにおける車両の進行方向の先端から前記進行方向へ所定距離を隔てた位置に設けられており、
前記点灯制御部は、システム稼働中に前記第2警報装置の前記運転灯を常に点灯させる、請求項1又は2に記載の監視システム。
【請求項4】
前記点灯制御部は、前記プラットホームから出発する始発車両の第1発車予定時刻に応じて予め設定された第1設定時刻から前記プラットホームから出発する最終車両の第2発車予定時刻に応じて予め定められた第2設定時刻までの運行期間は、前記非検知時間の長さにかかわらず、前記運転灯を常に点灯させる、請求項1又は2に記載の監視システム。
【請求項5】
前記設定時間を設定する時間設定部を更に備え、
前記時間設定部は、前記プラットホームから出発する始発車両の第1発車予定時刻に応じて予め設定された第1設定時刻から前記プラットホームから出発する最終車両の第2発車予定時刻に応じて予め定められた第2設定時刻までの運行期間に適用される前記設定時間を予め定められた第1時間に設定し、前記運行期間外の非運行期間に適用される前記設定時間を前記第1時間よりも短い第2時間に設定する、請求項1又は2に記載の監視システム。
【請求項6】
前記非運行期間は、前記第2設定時刻から予め定められた所定時間が経過する時点までの特定期間を含み、
前記時間設定部は、
前記特定期間に適用される前記設定時間を、前記第1時間、又は前記第1時間よりも短く前記第2時間よりも長い第3時間に設定する、請求項5に記載の監視システム。
【請求項7】
前記非運行期間は、前記第2設定時刻から予め定められた所定時間が経過する時点までの特定期間を含み、
前記時間設定部は、
前記特定期間中に前記検知対象が検知された場合に、前記特定期間に適用される前記設定時間を前記第2時間から前記第1時間に変更し、前記特定期間が経過すると前記第2時間に戻す、請求項5に記載の監視システム。
【請求項8】
前記非運行期間は、前記第2設定時刻から予め定められた所定時間が経過する時点までの特定期間を含み、
前記時間設定部は、
前記特定期間中に前記検知対象が検知された場合に、前記特定期間に適用される前記設定時間を前記第2時間から、前記第1時間よりも長く前記第2時間よりも短い第3時間に変更し、前記特定期間が経過すると前記第2時間に戻す、請求項5に記載の監視システム。
【請求項9】
前記検知対象の検知感度を設定する検知感度設定部を更に備え、
前記検知感度設定部は、前記プラットホームから出発する始発車両の第1発車予定時刻に応じて予め設定された第1設定時刻から前記プラットホームから出発する最終車両の第2発車予定時刻に応じて予め定められた第2設定時刻までの運行期間に適用される前記検知感度を予め定められた第1感度に設定し、前記運行期間外の非運行期間に適用される前記検知感度を前記第1感度よりも低い第2感度に設定する、請求項1又は2に記載の監視システム。
【請求項10】
前記非運行期間は、前記第2設定時刻から予め定められた所定時間が経過する時点までの特定期間を含み、
前記検知感度設定部は、
前記特定期間中に前記検知対象が検知された場合に、前記特定期間に適用される前記検知感度を前記第2感度から前記第1感度に変更し、前記特定期間が経過すると前記第2感度に戻す、請求項9に記載の監視システム。
(【請求項11】以降は省略されています)
発明の詳細な説明
【技術分野】
【0001】
本発明は、駅のプラットホームにおける検知対象を所定の検知装置を用いて検知する監視システム、点灯表示方法、及びプログラムに関する。
続きを表示(約 1,900 文字)
【背景技術】
【0002】
従来、駅のプラットホームの所定領域における検知対象を検知する技術が提案されている。例えば、列車と乗客との接触事故の発生を抑制するため、列車がプラットホームに接近している状態である場合に、プラットホーム上に設定された進入禁止領域内への乗客の進入が検知されると、警報装置から警報を出力させる警報システムが提案されている(特許文献1参照)。このようなシステムは、車掌が乗務せず、運転士だけで列車や路面電車、トロリーバスなどの車両の運転、及び乗客の乗降時の安全確認などを行う、いわゆるワンマン運転(ワンマン運行)に特に有効である。
【0003】
警報を出力する警報装置には、システムが稼働していることを表示するための運転灯が設けられている場合がある。一般に、前記運転灯は、監視エラーが生じていないかどうかを駅係員や運転士が容易に確認できるように、システム稼働中(監視中)に常時点灯される。
【先行技術文献】
【特許文献】
【0004】
特開2020-19374号公報
【発明の概要】
【発明が解決しようとする課題】
【0005】
夜間の営業時間中に前記運転灯が常時点灯した状態である場合、駅近隣の住民に迷惑がかかる場合がある。例えば、前記警報装置が住宅街に隣接した場所に設置されている場合、夜間も前記運転灯が常時点灯されると住宅内に前記運転灯の光が差し込み、住民の日常生活や住民の健康に支障をきたすおそれがある。とりわけ、このような問題は、前記ワンマン運転で運行するワンマン路線で顕著である。つまり、車掌が乗務しない前記ワンマン運転では、扉が閉められた後は、運転士は車両の進行方向の前方側を注視する必要がある。そのため、前記ワンマン路線では、列車がプラットホームから出発して移動(出線)している間も運転士が視認できる位置に警報装置を設置しなければならない。したがって、前記ワンマン路線では、前記警報装置がプラットホームから進行方向へ離れた線路上の所定位置に設置される。このため、前記ワンマン路線では、前記警報装置が、住宅街に近い位置に設置されることが多い。
【0006】
本発明の目的は、警報装置に設けられた運転灯の発光による近隣住民の迷惑を軽減することが可能な監視システム、点灯制御方法、及びプログラムを提供することにある。
【課題を解決するための手段】
【0007】
本発明の一の態様に係る監視システムは、駅のプラットホームにおける検知対象を所定の検知装置を用いて検知する監視システムであって、システム稼働中に点灯される運転灯を含む第1警報装置と、前記検知対象が検知されない非検知時間が予め定められた設定時間に達したか否かを判定する判定部と、前記非検知時間が前記設定時間に達した場合に点灯中の前記運転灯を消灯し、前記運転灯の消灯中に前記検知対象が検知された場合に前記運転灯を点灯する点灯制御部と、を備える。
【0008】
本発明の他の態様に係る点灯制御方法は、駅のプラットホームにおける検知対象を所定の検知装置を用いて検知する監視システムに適用される方法であって、前記検知対象が検知されない非検知時間が予め定められた設定時間に達したか否かを判定する判定ステップと、前記非検知時間が前記設定時間に達した場合に、システム稼働中に点灯される運転灯を消灯する消灯ステップと、前記消灯ステップによる前記運転灯の消灯中に前記検知対象が検知された場合に前記運転灯を点灯する点灯ステップと、を一又は複数のプロセッサーが実行する方法である。
【0009】
本発明の他の態様に係るプログラムは、駅のプラットホームにおける検知対象を所定の検知装置を用いて検知する監視システムに適用されるプログラムであって、前記検知対象が検知されない非検知時間が予め定められた設定時間に達したか否かを判定する非検知判定ステップと、前記非検知時間が前記設定時間に達した場合に、システム稼働中に点灯される運転灯を消灯する消灯ステップと、前記消灯ステップによる前記運転灯の消灯中に前記検知対象が検知された場合に前記運転灯を点灯する点灯ステップと、を一又は複数のプロセッサーに実行させるためのプログラムである。
【0010】
なお、本発明は、前記プログラムが記憶された非一時的なコンピュータ可読記憶媒体の発明として捉えることもできる。
【発明の効果】
(【0011】以降は省略されています)
この特許をJ-PlatPat(特許庁公式サイト)で参照する
関連特許
オムロン株式会社
電源回路
29日前
オムロン株式会社
電源回路
29日前
オムロン株式会社
電源回路
29日前
オムロン株式会社
電磁継電器
15日前
オムロン株式会社
電磁継電器
1か月前
オムロン株式会社
スレーブ装置
25日前
オムロン株式会社
情報提供装置
25日前
オムロン株式会社
IOターミナル
25日前
オムロン株式会社
発光エンブレム
7日前
オムロン株式会社
サーボドライバ
7日前
オムロン株式会社
トリガスイッチ
25日前
オムロン株式会社
導線折り曲げ治具
1か月前
オムロン株式会社
端子折り曲げ治具
25日前
オムロン株式会社
モータの監視装置
25日前
オムロン株式会社
電力開閉モジュール
25日前
オムロン株式会社
セーフティデバイス
25日前
オムロン株式会社
システムおよび方法
25日前
オムロン株式会社
パワーコンディショナ
17日前
オムロン株式会社
リモート安全入出力装置
25日前
オムロン株式会社
電力システム及び制御装置
17日前
オムロン株式会社
支援システム及び支援方法
25日前
オムロン株式会社
保護継電器及び電力制御装置
25日前
オムロン株式会社
情報処理装置及び情報処理方法
1か月前
オムロン株式会社
パワーコンディショナシステム
25日前
オムロン株式会社
給電モジュール及び給電システム
25日前
オムロン株式会社
教育支援システム及び教育支援方法
25日前
オムロン株式会社
監視装置、監視方法及びプログラム
今日
オムロン株式会社
電力供給システム及び電力制御装置
25日前
オムロン株式会社
計測装置、計測方法及びプログラム
25日前
オムロン株式会社
検査装置、検査方法およびプログラム
1か月前
オムロン株式会社
情報処理システムおよび情報処理方法
14日前
オムロン株式会社
生体情報処理装置及び動作情報処理装置
25日前
オムロン株式会社
安全IOターミナルおよび安全システム
25日前
オムロン株式会社
交通管制システム、および動作切替方法
25日前
オムロン株式会社
生体情報処理装置及び動作情報処理装置
25日前
オムロン株式会社
スレーブ装置およびネットワークシステム
25日前
続きを見る
他の特許を見る