TOP
|
特許
|
意匠
|
商標
特許ウォッチ
Twitter
他の特許を見る
10個以上の画像は省略されています。
公開番号
2025139315
公報種別
公開特許公報(A)
公開日
2025-09-26
出願番号
2024038175
出願日
2024-03-12
発明の名称
追従移動支援装置、端末装置
出願人
株式会社 ミックウェア
代理人
主分類
G08G
1/00 20060101AFI20250918BHJP(信号)
要約
【課題】複数の先行移動体の位置情報を活用して、追従移動を利用し易くする追従移動支援装置等を提供する。
【解決手段】追従移動支援装置は、複数の先行移動体をそれぞれ識別する各第1識別情報と、各先行移動体の移動経路とを対応付けたスケジュール情報を記憶し、各先行移動体から第1識別情報と共に自身の現在位置を示す第1位置情報を逐次受信し、追従移動体の端末装置から、当該追従移動体を識別する第2識別情報と現在位置を示す第2位置情報と当該追従移動体の利用者が設定した目的地とを含む要求情報を受信し、逐次受信した各先行移動体の最新の第1位置情報を記憶し、要求情報とスケジュール情報と第1位置情報とに基いて、目的地への追従移動に適した先行移動体を抽出し、抽出した先行移動体の情報を含む追従先候補情報を、要求情報を送信した端末装置に送信する。
【選択図】図3
特許請求の範囲
【請求項1】
複数の先行移動体をそれぞれ識別する各第1識別情報と、各前記先行移動体の移動経路とを対応付けたスケジュール情報を記憶する第1記憶部と、
各前記先行移動体から、前記第1識別情報と共に自身の現在位置を示す第1位置情報を逐次受信し、前記先行移動体に追従して移動することが可能な追従移動体に備わる、若しくは連携している端末装置から、当該追従移動体を識別する第2識別情報と、当該追従移動体の現在位置を示す第2位置情報と、当該追従移動体の利用者が設定した目的地とを含む要求情報を受信する通信部と、
逐次受信した各前記先行移動体の前記第1位置情報のうち、少なくとも最新の前記第1位置情報を記憶する第2記憶部と、
前記要求情報と、前記スケジュール情報と、前記第2記憶部に記憶した前記第1位置情報とに基いて、前記目的地への追従移動に適した前記先行移動体を抽出する抽出部とを備え、
前記通信部は、抽出した前記先行移動体の前記第1識別情報、前記スケジュール情報、前記第1位置情報と、を含む追従先候補情報を、前記要求情報を送信した前記端末装置に送信する、
ことを特徴とする追従移動支援装置。
続きを表示(約 900 文字)
【請求項2】
前記抽出部は、前記スケジュール情報に基いて、前記要求情報に含まれる目的地に近づく方向で移動する前記先行移動体を抽出し、且つ、前記要求情報を送信した前記追従移動体の前記第2位置情報が示す位置と、当該先行移動体の最新の前記第1位置情報が示す位置とに基いて、追従移動が可能な距離にある前記先行移動体を抽出する、
ことを特徴とする請求項1記載の追従移動支援装置。
【請求項3】
前記要求情報には、更に、追従する前記先行移動体の要件として、人が運転することを示す有人運転の移動体であること、或いは、前記有人運転ではなく、自動で運転することを示す自動運転の移動体であること、或いは、前記有人運転及び前記自動運転のどちらの移動体でも可能であること、のいずれかの要件が含まれ、
前記抽出部は、前記選択条件に対応した前記先行移動体を抽出する、
ことを特徴とする請求項1または請求項2に記載の追従移動支援装置。
【請求項4】
前記抽出部は、更に、前記追従移動体が、前記先行移動体に追従して移動している場合、前記第2位置情報及び前記目的地と、追従している前記先行移動体の前記スケジュール情報と、他の先行移動体の前記スケジュール情報とに基いて、前記目的地への追従移動に適した前記先行移動体を再抽出する、ことを特徴とする請求項1記載の追従移動支援装置。
【請求項5】
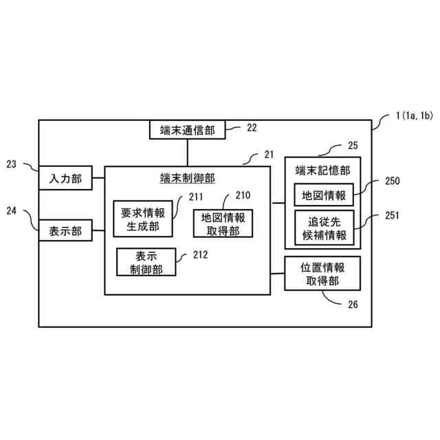
請求項1に記載の前記追従移動支援装置から、前記追従先候補情報を受信する前記端末装置において、
前記端末装置の現在位置を取得する現在位置取得部と、
少なくとも前記現在位置を含む範囲の地図を表示するための地図情報を取得する地図情報取得部と、
前記地図情報に基いて表示した前記地図の、前記追従先候補情報に含まれる前記先行移動体の最新の前記第1位置情報が示す位置に、前記先行移動体を示す第1アイコンと、前記現在位置に、前記端末装置が備わる、若しくは連携する前記追従移動体を示す第2アイコンとを重畳して表示させる表示制御部と、
を備える端末装置。
発明の詳細な説明
【技術分野】
【0001】
本発明は、移動体の追従移動を支援する技術に関する。
続きを表示(約 1,200 文字)
【背景技術】
【0002】
現在、移動体の自動運転のタイプとして、自律的に自動で移動することが可能な「自律移動型」と、先行する他の移動体(以下、「先行移動体」という。)に追従する「追従移動型」の2つが知られている。「自律移動型」の移動体は、カメラ、GPSモジュール、各種センサ等を搭載し、これらが取得した画像、GPS情報、センサ情報と、地図情報とに基いて周辺状況を把握し、自律的に目的地などへ移動する。
【0003】
「追従移動型」の移動体は、搭載されているセンサや先行移動体との相互通信により、先行移動体の位置、移動速度等を認識しつつ、先行移動体と所定の距離間隔を自動で保ちながら追従移動を行う。
【0004】
「追従移動型」よりも「自律移動型」の方が、必要な処理能力、情報量及び通信量は格段に大きく、高度な機能になることから、まずは、「追従移動型」の自動運転が普及することが予想される。
【0005】
下記の特許文献1には、観測地点において撮影された、観測地点を通過する通過車両の予定経路に関する情報である通過車両経路情報に基いて、追従する候補追従車両を抽出し、当該候補追従車両に対して、通過車両経路情報を含む先行車両情報を送信する隊列走行支援システムが開示されている。
【先行技術文献】
【特許文献】
【0006】
特許第7233997号
【発明の概要】
【発明が解決しようとする課題】
【0007】
特許文献1に開示するシステムでは、通過車両(先行移動体)の通過車両経路情報を取得した観測地点に基いて、先行移動体の近くにいる追従移動体が候補として抽出される。
【0008】
つまり、上記のシステムにおいて、追従移動体が候補追従車両として抽出されるには、追従移動機能を利用して移動したい利用者の目的地(または、目的地方向)が、先行移動体の移動経路に含まれていて、且つその先行移動体が、利用者の追従移動体の近くにある観測地点を通過することが必要である。そのため、上記のシステムでは、追従移動体の候補として抽出されるまで、利用者の移動体は暫く待機せざるを得ないことが想定され、また、どれくらい待機することになるのかがわからない、というデメリットがある。
【0009】
また、上記のシステムでは、通過車両から通過車両経路情報を取得する機能や撮影機能を複数の観測地点に設ける必要があり、インフラの整備にコストがかかるというデメリットもある。
【0010】
本明細書は、一つの側面において、観測地点を必要とせず、複数の先行移動体の位置情報を活用して、追従移動体の追従移動を利用し易くする追従移動支援装置等を開示する。
【課題を解決するための手段】
(【0011】以降は省略されています)
この特許をJ-PlatPat(特許庁公式サイト)で参照する
関連特許
個人
安全支援装置
1か月前
日本精機株式会社
警報システム
3か月前
個人
自動電動車椅子
2か月前
株式会社SUBARU
車両
2か月前
エムケー精工株式会社
車両誘導装置
3か月前
スズキ株式会社
運転支援装置
3か月前
ニッタン株式会社
検知器
3か月前
ニッタン株式会社
検知器
2か月前
日本信号株式会社
車両検知装置
4日前
日本無線株式会社
船舶システム
1か月前
株式会社国際電気
防災システム
3か月前
ニッタン株式会社
検知器
3か月前
ニッタン株式会社
検知器
3か月前
個人
磁気路上での車両の路線離脱防御
2か月前
株式会社小糸製作所
移動体検出装置
3か月前
ダイハツ工業株式会社
移動支援装置
1か月前
トヨタ自動車株式会社
サーバ
1か月前
株式会社SUBARU
運転支援装置
2か月前
大阪瓦斯株式会社
音声出力システム
2か月前
日本信号株式会社
異常走行検出装置
2か月前
トヨタ自動車株式会社
サーバ
2か月前
株式会社CCT
通信装置及び表示方法
2か月前
株式会社小糸製作所
車両検出システム
3か月前
日本精機株式会社
報知装置及び報知システム
2か月前
三菱自動車工業株式会社
制御システム
2か月前
株式会社デンソー
運航管理装置
2か月前
能美防災株式会社
火災感知器
3か月前
株式会社SUBARU
事故情報収集装置
2か月前
株式会社 ミックウェア
車内環境制御システム
1か月前
株式会社デンソー
運転評価支援装置
11日前
オ,ウォンチョル
交通信号システム
11日前
株式会社SUBARU
車室内異常検知装置
2か月前
トヨタ自動車株式会社
通信システム
12日前
ヨシモトポール株式会社
接近報知システム
3か月前
能美防災株式会社
非常伝達装置
3か月前
ホーチキ株式会社
火災検出システム
2か月前
続きを見る
他の特許を見る