TOP
|
特許
|
意匠
|
商標
特許ウォッチ
Twitter
他の特許を見る
公開番号
2025160681
公報種別
公開特許公報(A)
公開日
2025-10-23
出願番号
2024063386
出願日
2024-04-10
発明の名称
警報システム
出願人
株式会社中電工
代理人
弁理士法人前田特許事務所
主分類
G08G
1/16 20060101AFI20251016BHJP(信号)
要約
【課題】道路の車線に沿って設定されている作業領域に車両が誤侵入した場合に警報を発報可能にする。
【解決手段】警報システム1は、作業領域に隣接する車線へ向かって測定光を照射し、車線を走行する車両から反射した反射光を受光することによって車両の位置を計測する計測処理を繰り返し実行し、取得された車両の位置情報を出力する3次元測域センサ30と、3次元測域センサ30から出力された車両の位置情報に基づいて、車両が作業領域に誤進入したか否かを判定する判定部32aとを備えている。
【選択図】図3
特許請求の範囲
【請求項1】
道路の延長方向に沿って設定されている作業領域への車両の進入を警報する警報システムであって、
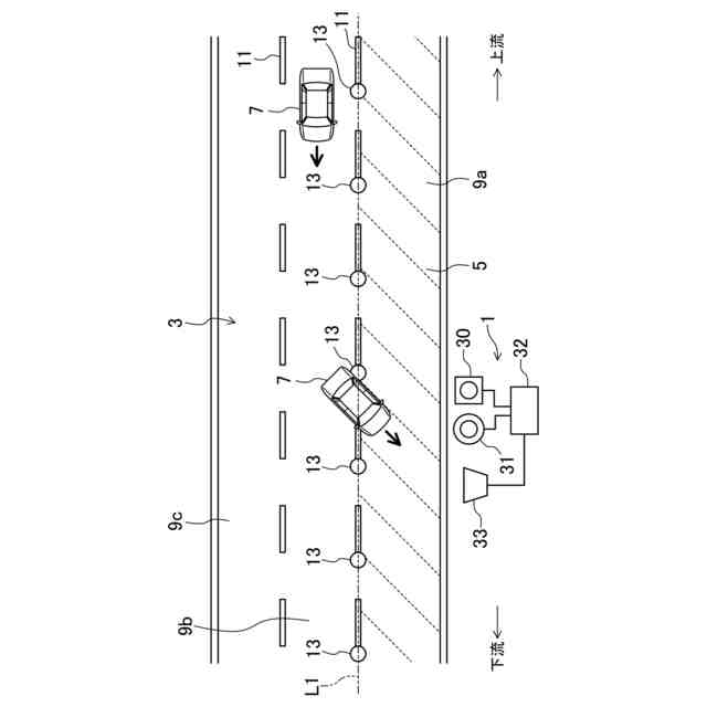
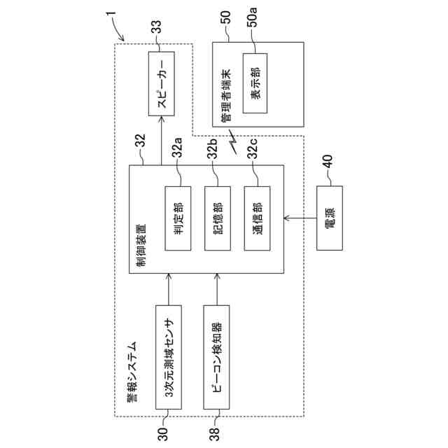
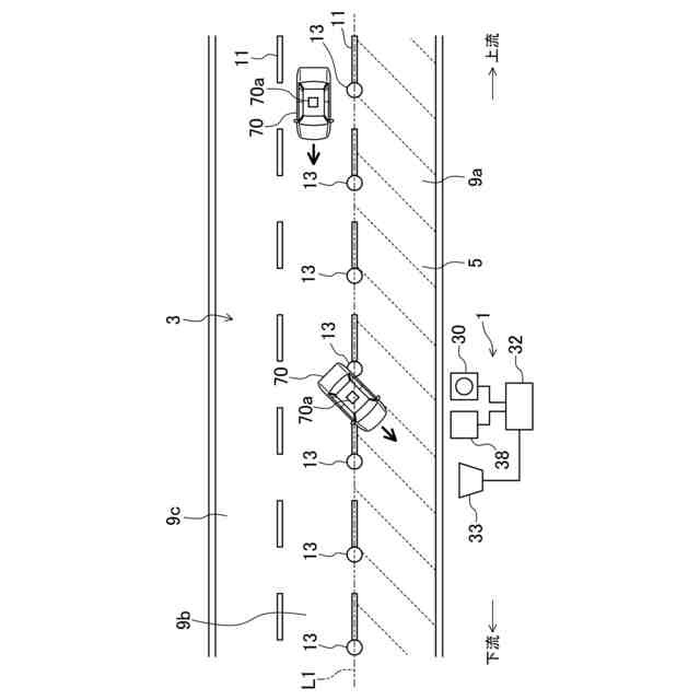
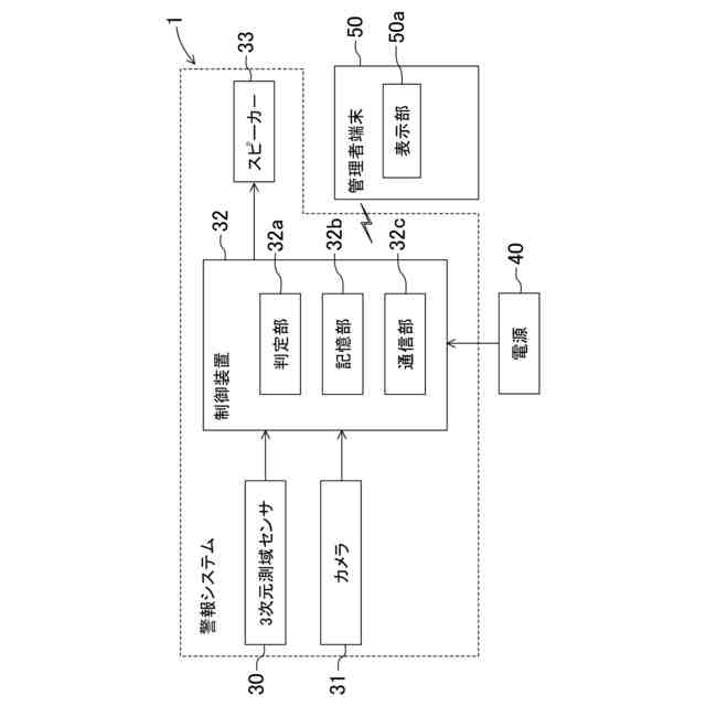
前記作業領域に隣接する車線のうち、前記作業領域の側方に位置する部分へ向かって前記延長方向の所定範囲にわたって測定光を照射し、前記車線を走行する車両から反射した反射光を受光することによって当該車両の位置を計測する計測処理を繰り返し実行し、取得された車両の位置情報を出力する3次元測域センサと、
前記3次元測域センサから出力された前記車両の位置情報に基づいて、前記車両が前記作業領域に誤進入したか否かを判定する判定部と、
前記判定部により前記車両が前記作業領域へ誤進入したと判定された場合に警報を発する警報装置とを備える、警報システム。
続きを表示(約 1,000 文字)
【請求項2】
請求項1に記載の警報システムにおいて、
前記判定部は、前記延長方向に沿って延びるとともに前記作業領域を区画する仮想の区画線を設定し、前記3次元測域センサから出力された前記車両の位置情報に基づいて、前記車両の少なくとも一部が前記区画線を越えた場合に前記車両が前記作業領域に誤進入したと判定する、警報システム。
【請求項3】
請求項2に記載の警報システムにおいて、
前記3次元測域センサは、前記作業領域を区画するための区画部材を検出可能に構成され、
前記判定部は、前記3次元測域センサから出力されたデータに基づいて、前記区画部材を探索する探索処理を実行し、前記探索処理により探索された複数の前記区画部材を通る線を前記仮想の区画線として設定する、警報システム。
【請求項4】
請求項3に記載の警報システムにおいて、
前記判定部は、前記探索処理により、前記3次元測域センサに最も近い第1の区画部材と、前記第1の区画部材よりも前記道路の上流側に位置する第2の区画部材と、前記第1の区画部材よりも前記道路の下流側に位置する第3の区画部材とを探索し、前記第1の区画部材、前記第2の区画部材及び前記第3の区画部材を通る線を前記仮想の区画線として設定する、警報システム。
【請求項5】
請求項3に記載の警報システムにおいて、
前記判定部は、前記仮想の区画線を高さ方向に所定の幅を持たせて設定する、警報システム。
【請求項6】
請求項1に記載の警報システムにおいて、
前記作業領域に隣接する車線を走行する車両を撮像する撮像部をさらに備え、
前記判定部は、前記撮像部により撮像された画像に基づいて、当該画像中の車両が前記作業領域への進入を許可された許可車両であるか否かを判定し、前記許可車両であると判定された場合には、前記許可車両が前記作業領域に進入しても誤進入と判定しない、警報システム。
【請求項7】
請求項1に記載の警報システムにおいて、
前記作業領域への進入を許可された許可車両に装着されている発信器から発信される電波を受信する検知器をさらに備え、
前記判定部は、前記検知器による電波の受信結果に基づいて、前記作業領域への進入を許可された許可車両であるか否かを判定し、前記許可車両であると判定された場合には、前記許可車両が前記作業領域に進入しても誤進入と判定しない、警報システム。
発明の詳細な説明
【技術分野】
【0001】
本開示は、車両が走行する道路上の一部に区画された作業領域へ誤進入する車両が存在した場合に警報を発する警報システムに関するものである。
続きを表示(約 1,600 文字)
【背景技術】
【0002】
車両が走行する道路上の一部で例えば道路補修等を行う場合に、当該道路上の一部に作業領域を区画し、その作業領域内で作業者が各種作業を行っている。作業領域で作業を行っている間、道路の他の領域では一般車両が走行している。この一般車両が誤って作業領域へ進入するおそれがあり、そのような道路上の作業領域への車両の進入を警報する警報システムが知られている(例えば特許文献1、2参照)。
【0003】
特許文献1、2の警報システムは、車両の位置情報を出力する3次元測域センサを備えており、この3次元測域センサから出力された車両の時系列の位置情報に基づいて、車両が作業領域に誤進入する可能性が高いか否かを判定するように構成されている。特許文献1、2では、作業領域が円弧状に区画されている場合を想定しており、したがって3次元測域センサは、作業領域よりも上流側に測定光を照射し、車両の前面部を特定した上で、当該車両が作業領域に誤進入する可能性が高いか否かを判定している。
【先行技術文献】
【特許文献】
【0004】
特開2021-39689号公報
特開2021-114169号公報
【発明の概要】
【発明が解決しようとする課題】
【0005】
ところで、道路での作業内容等によっては、道路の車線に沿った延長方向に長い作業領域が設定されることもあり、その作業領域の長さは数百m~数km程度に達することもある。そのような長い作業領域を設定する場合には、通常、複数の三角コーンを車線に沿って所定の間隔で並べて設置し、作業領域を区画する。
【0006】
しかしながら、隣合う三角コーンの間隔は車両が通過可能な間隔になっているので、車両が三角コーンの間から作業領域に侵入してしまうおそれがある。
【0007】
この点、特許文献1、2の警報システムでは、3次元測域センサが作業領域の上流から接近する車両のみを検出対象としているので、数百m以上の長い作業領域においてその中間部や下流部での車両の検出は困難である。
【0008】
本開示は、かかる点に鑑みたものであり、その目的とするところは、道路の車線に沿って設定されている作業領域に車両が誤侵入した場合に警報を発報可能にすることにある。
【課題を解決するための手段】
【0009】
上記目的を達成するために、本開示の一態様では、道路の延長方向に沿って設定されている作業領域への車両の進入を警報する警報システムを前提とすることができる。警報システムは、前記作業領域に隣接する車線のうち、前記作業領域の側方に位置する部分へ向かって前記延長方向の所定範囲にわたって測定光を照射し、前記車線を走行する車両から反射した反射光を受光することによって当該車両の位置を計測する計測処理を繰り返し実行し、取得された車両の位置情報を出力する3次元測域センサと、前記3次元測域センサから出力された前記車両の位置情報に基づいて、前記車両が前記作業領域に誤進入したか否かを判定する判定部と、前記判定部により前記車両が前記作業領域へ誤進入したと判定された場合に警報を発する警報装置とを備えている。
【0010】
この構成によれば、3次元測域センサが作業領域の側方に位置する部分へ向かって道路の延長方向の所定範囲にわたって測定光を照射するものなので、作業領域に隣接する車線を走行している車両の検出が作業領域の中間部であっても可能になる。これにより、作業領域の上流部だけなく、中間部においても車両が作業領域に誤進入した場合に検出することが可能になる。
(【0011】以降は省略されています)
この特許をJ-PlatPat(特許庁公式サイト)で参照する
関連特許
株式会社中電工
電源装置
3か月前
株式会社中電工
警報システム
1か月前
株式会社中電工
アンテナ取付具
2か月前
株式会社中電工
ナット落下防止ソケット
19日前
日本精機株式会社
警報システム
3か月前
個人
安全支援装置
1か月前
株式会社SUBARU
車両
2か月前
個人
自動電動車椅子
2か月前
スズキ株式会社
運転支援装置
3か月前
エムケー精工株式会社
車両誘導装置
3か月前
ニッタン株式会社
検知器
3か月前
ニッタン株式会社
検知器
3か月前
日本信号株式会社
車両検知装置
4日前
ニッタン株式会社
検知器
3か月前
株式会社国際電気
防災システム
3か月前
ニッタン株式会社
検知器
2か月前
個人
磁気路上での車両の路線離脱防御
2か月前
日本無線株式会社
船舶システム
1か月前
大阪瓦斯株式会社
音声出力システム
2か月前
ダイハツ工業株式会社
移動支援装置
1か月前
日本信号株式会社
異常走行検出装置
2か月前
株式会社小糸製作所
移動体検出装置
3か月前
トヨタ自動車株式会社
サーバ
2か月前
トヨタ自動車株式会社
サーバ
1か月前
株式会社SUBARU
運転支援装置
2か月前
株式会社デンソー
運航管理装置
2か月前
株式会社CCT
通信装置及び表示方法
2か月前
日本精機株式会社
報知装置及び報知システム
2か月前
三菱自動車工業株式会社
制御システム
2か月前
株式会社小糸製作所
車両検出システム
3か月前
株式会社 ミックウェア
車内環境制御システム
1か月前
能美防災株式会社
火災感知器
3か月前
株式会社SUBARU
事故情報収集装置
2か月前
株式会社デンソー
運転評価支援装置
11日前
能美防災株式会社
非常伝達装置
3か月前
株式会社SUBARU
車室内異常検知装置
2か月前
続きを見る
他の特許を見る