TOP
|
特許
|
意匠
|
商標
特許ウォッチ
Twitter
他の特許を見る
10個以上の画像は省略されています。
公開番号
2025171748
公報種別
公開特許公報(A)
公開日
2025-11-20
出願番号
2024077394
出願日
2024-05-10
発明の名称
ナット落下防止ソケット
出願人
株式会社中電工
,
株式会社永木精機
代理人
弁理士法人前田特許事務所
主分類
B25B
23/10 20060101AFI20251113BHJP(手工具;可搬型動力工具;手工具用の柄;作業場設備;マニプレータ)
要約
【課題】軽量化されて作業性に優れ、汎用性の高いナット落下防止ソケットを提供する。
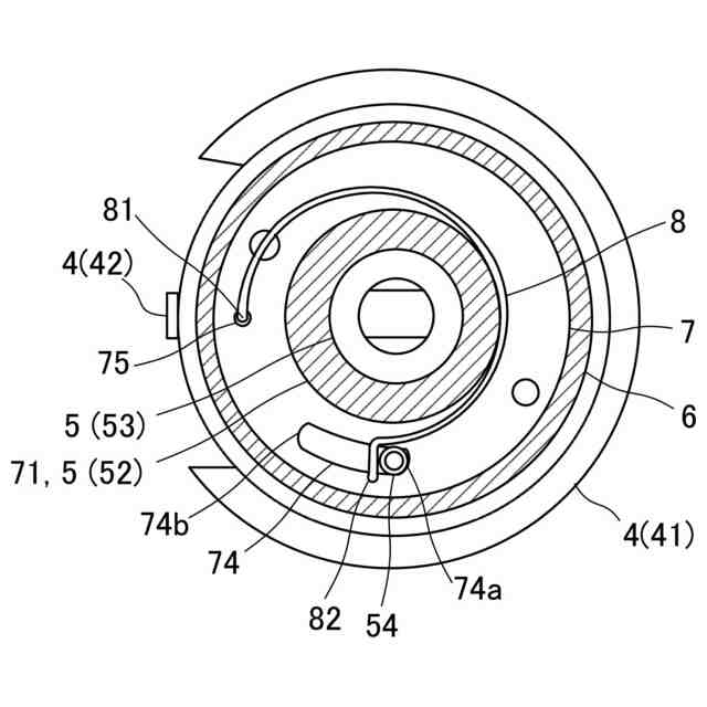
【解決手段】工具10と連動し、ナットが軸心C回りに係合可能でナットが軸方向に移動可能な第1のナット嵌合部51を有するソケット5と、ソケットの外側に軸心回りに回動自在に設けられ、第1のナット嵌合部よりも軸方向端部に第1のナット嵌合部と連通可能な第2のナット嵌合部61を有する脱落防止カバー6と、軸方向におけるソケットと脱落防止カバーとの間に、ソケットの軸心周りに膨らむ円弧状の付勢部材8と、を備え、付勢部材の付勢力に抗して脱落防止カバーを軸心回りに所定の角度回動させると、ナットを第2のナット嵌合部を介して第1のナット嵌合部へ挿入可能であり、常態においては、付勢部材の付勢力によりナットの第1のナット嵌合部及び第2のナット嵌合部間の移動が規制される。
【選択図】図6
特許請求の範囲
【請求項1】
電動又は手動の工具に取り付けられて使用されるナット落下防止ソケットであって、
前記工具と連動し、ナットが軸心回りに係合可能、且つ、前記ナットが軸方向に移動可能な第1のナット嵌合部を有するソケットと、
前記ソケットの外側に軸心回りに回動自在に設けられ、前記第1のナット嵌合部よりも軸方向端部に前記第1のナット嵌合部と連通可能な第2のナット嵌合部を有する脱落防止カバーと、
軸方向における前記ソケットと前記脱落防止カバーとの間に配置され、前記ソケットの軸心周りに膨らむ円弧状であり、前記脱落防止カバーを軸心回り方向に付勢する付勢部材と、を備え、
前記第1のナット嵌合部及び前記第2のナット嵌合部は、それぞれ前記ナットを挿通可能な多角形状であり、前記付勢部材の付勢力に抗して前記ソケットに対して前記脱落防止カバーを軸心回りに所定の角度回動させることで、前記第1のナット嵌合部及び前記第2のナット嵌合部の位相が合致して、前記ナットを前記第2のナット嵌合部を介して前記第1のナット嵌合部へ挿入可能であり、常態においては、前記付勢部材の付勢力により前記第1のナット嵌合部及び前記第2のナット嵌合部の位相がずれた状態であり、前記ナットの前記第1のナット嵌合部及び前記第2のナット嵌合部間の移動が規制される、ナット落下防止ソケット。
続きを表示(約 710 文字)
【請求項2】
請求項1に記載のナット落下防止ソケットにおいて、
前記ソケット及び前記脱落防止カバーを含む本体部と、前記工具へ取り付けられる連結部と、を備え、
前記本体部及び前記連結部は着脱可能である、ナット落下防止ソケット。
【請求項3】
請求項2に記載のナット落下防止ソケットにおいて、
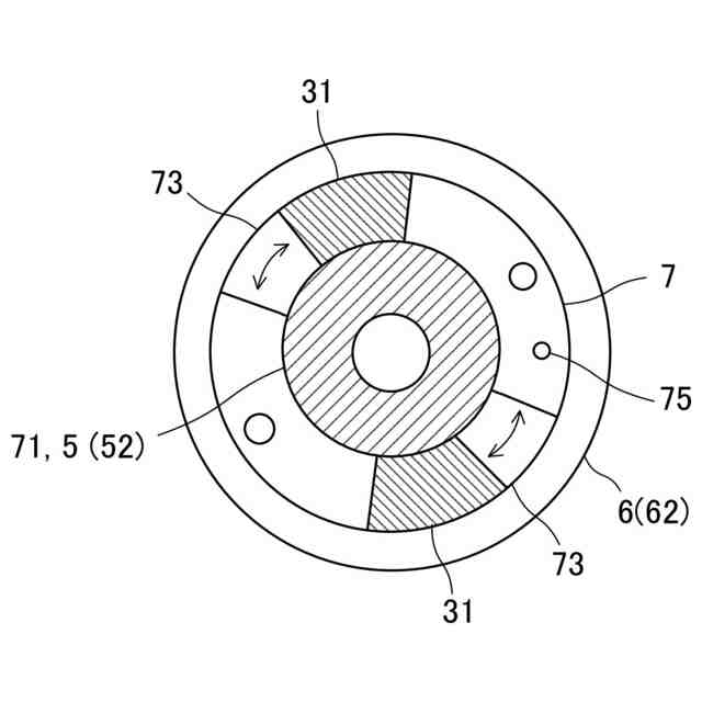
前記本体部は、前記ソケットに対して前記脱落防止カバーの軸心回りの回動角度を規制する回動規制手段を有し、前記回動規制手段は、前記ソケット側の部材と前記脱落防止カバー側の部材を軸方向に嵌合するとともに軸心回りに所定範囲だけ回動可能である、ナット落下防止ソケット。
【請求項4】
請求項3に記載のナット落下防止ソケットにおいて、
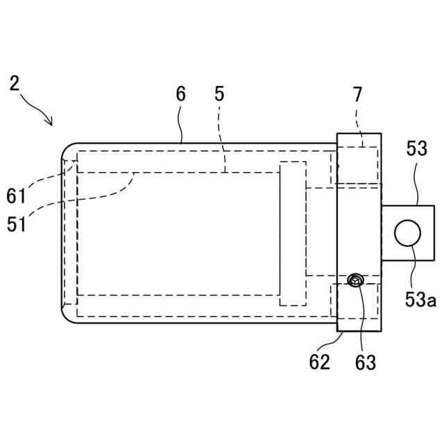
前記脱落防止カバーは、前記本体部の連結部側端部に配置される接続金具を有し、
前記回動規制手段を構成する前記ソケット側の部材は、前記ソケットから軸方向に突出するストッパーピンであり、前記脱落防止カバー側の部材は、前記接続金具の前記ソケットに対向する面に設けられた規制溝である、ナット落下防止ソケット。
【請求項5】
請求項4に記載のナット落下防止ソケットにおいて、
前記接続金具及び前記連結部は、軸方向に延びる凹凸部により嵌合し、凸部は凹部内を軸心回りに所定範囲だけ回動可能である、ナット落下防止ソケット。
【請求項6】
請求項5に記載のナット落下防止ソケットにおいて、
前記脱落防止カバーは、前記接続金具の外周において外周側に突出する補強部を有する、ナット落下防止ソケット。
発明の詳細な説明
【技術分野】
【0001】
本発明は、ナットを緩める際にナットの落下を防止するためのナット落下防止ソケットに関する。
続きを表示(約 2,400 文字)
【背景技術】
【0002】
鉄塔解体工事では、ボルト及びナットの撤去のために、ラチェットスパナ、モンキースパナ及び電動インパクトレンチを使用して作業を行う。経年腐食したボルト及びナットや、塗装されたボルト及びナットは緩みにくく、ボルトからナットを外す際は、ネジ山の端部までボルト側にラチェットスパナ又はモンキースパナを用い、ナット側にインパクトレンチ又はラチェットスパナを用いて緩める。このような高所作業においては、取り外したナットが落下しないように注意する必要があるが、上記の状況では、一方の手にラチェットスパナ又はモンキースパナを持ち、他方の手にインパクトレンチ又はラチェットスパナを持ち、両手が塞がってしまうため、外したナットをソケットで確実に保持することができず、ナットがソケットから落下する危険性があった。
【0003】
このような問題に対し、特許文献1のように、外側ソケットと内側ソケットの間に設けられた捩りコイルスプリングの作用により、外側ソケットを軸心周りに回転させ六角ナットの角を外側ソケットに当接させることで、内側ソケットからの六角ナットの落下を防止する機能を有した手動レンチによるナット落下防止ソケットが提案されている。
【先行技術文献】
【特許文献】
【0004】
特許第5442476号公報
【発明の概要】
【発明が解決しようとする課題】
【0005】
特許文献1のナット落下防止ソケットは、外側ソケットと内側ソケットの間に捩りコイルスプリングを収容する。この捩りコイルスプリングのスプリング部はソケットの径方向に中心軸が延びる。そのため、外側ソケットと内側ソケットの間に捩りコイルスプリング収容空間を必要とし、外側ソケットが肉厚となり、ソケット全体の重量を増加させてしまうことが問題であった。また、外側ソケットが肉厚となりソケットの径が拡大すると、図16に示すように、例えばLアングル300の横片301に取り付けられたナット100を取り外す際に工具10のソケット200が、Lアングルの縦片302と干渉してしまい、使用可能な場所が限られることも問題であった。
【0006】
本発明は、かかる点に鑑みてなされたものであり、その目的とするところは、軽量化され、汎用性の高いナット落下防止ソケットを提供することにある。
【課題を解決するための手段】
【0007】
上記の目的を達成するために、第1の発明は、
電動又は手動の工具に取り付けられて使用されるナット落下防止ソケットであって、
前記工具と連動し、ナットが軸心回りに係合可能、且つ、前記ナットが軸方向に移動可能な第1のナット嵌合部を有するソケットと、
前記ソケットの外側に軸心回りに回動自在に設けられ、前記第1のナット嵌合部よりも軸方向端部に前記第1のナット嵌合部と連通可能な第2のナット嵌合部を有する脱落防止カバーと、
軸方向における前記ソケットと前記脱落防止カバーとの間に配置され、前記ソケットの軸心周りに膨らむ円弧状であり、前記脱落防止カバーを軸心回り方向に付勢する付勢部材と、を備え、
前記第1のナット嵌合部及び前記第2のナット嵌合部は、それぞれ前記ナットを挿通可能な多角形状であり、前記付勢部材の付勢力に抗して前記ソケットに対して前記脱落防止カバーを軸心回りに所定の角度回動させることで、前記第1のナット嵌合部及び前記第2のナット嵌合部の位相が合致して、前記ナットを前記第2のナット嵌合部を介して前記第1のナット嵌合部へ挿入可能であり、常態においては、前記付勢部材の付勢力により前記第1のナット嵌合部及び前記第2のナット嵌合部の位相がずれた状態であり、前記ナットの前記第1のナット嵌合部及び前記第2のナット嵌合部間の移動が規制されることを特徴とする。
【0008】
上記の構成によると、付勢部材の付勢力に抗してソケットに対して脱落防止カバーを軸心回りに所定の角度回動させ、第1のナット嵌合部及び第2のナット嵌合部の位相を合わせることにより、ナットを第1のナット嵌合部へ挿入することができる。この状態からナットを緩めるとナットはボルトのネジ山に沿って第1のナット嵌合部の奥へと移動する。ナットが第1のナット嵌合部の奥へと移動して第2のナット嵌合部から外れると付勢部材の付勢力によって脱落防止カバーが回動され、第1のナット嵌合部及び第2のナット嵌合部の位相がずれた状態となるため、ナットは第2のナット嵌合部を通過できず第1のナット嵌合部内に留まり落下が防止される。付勢部材は、軸方向におけるソケットと脱落防止カバーとの間に配置され、ソケットの軸心周りに膨らむ円弧状であるため、付勢部材を設けるために脱落防止カバーを拡径する必要がなく、ソケット部分を可能な限り径を小さくして、ナット落下防止ソケット全体を従来よりも軽量化できるとともに、狭い場所に取り付けられたナットの取り外しも可能となるため、汎用性に優れる。
【0009】
第2の発明では、第1の発明において、
前記ソケット及び前記脱落防止カバーを含む本体部と、前記工具へ取り付けられる連結部と、を備え、
前記本体部及び前記連結部は着脱可能であることを特徴とする。
【0010】
ナットには様々な形状及びサイズのものがあり、工具には、手動や電動のインパクトレンチやラチェットレンチなど、様々なものがある。上記の構成によると、本体部から連結部を取り外して、取り外すナットに対応する本体部や、使用する工具に対応する連結形状の連結部へ交換することが容易となるため、ナット落下防止ソケットの汎用性を高めることができる。
(【0011】以降は省略されています)
この特許をJ-PlatPat(特許庁公式サイト)で参照する
関連特許
株式会社中電工
電源装置
2か月前
株式会社中電工
警報システム
1か月前
株式会社中電工
アンテナ取付具
1か月前
株式会社中電工
ナット落下防止ソケット
3日前
個人
フラワーホッチキス。
1か月前
個人
手持ち挟持具
18日前
川崎重工業株式会社
ロボット
1か月前
トヨタ自動車株式会社
学習装置
3日前
株式会社竹中工務店
補助セット
1か月前
株式会社不二越
ロボット
1か月前
川崎重工業株式会社
ハンド
1か月前
株式会社マキタ
ハンマドリル
27日前
株式会社マキタ
ハンマドリル
27日前
トヨタ自動車株式会社
ロボット
1か月前
工機ホールディングス株式会社
作業機
1か月前
株式会社不二越
移動ロボットシステム
1か月前
本田技研工業株式会社
装置
1か月前
川崎重工業株式会社
塗装システム
1か月前
株式会社不二越
エッジ仕上げ装置
2か月前
株式会社安川電機
ロボット
24日前
株式会社不二越
垂直多関節ロボット
3日前
トヨタ自動車株式会社
軌道生成装置
1か月前
株式会社三共コーポレーション
工具保持具
18日前
株式会社不二越
垂直多関節ロボット
2か月前
アネックスツール株式会社
ドライバービット
1か月前
シンフォニアテクノロジー株式会社
搬送装置
1か月前
ライオン株式会社
移載システム
2か月前
トヨタ自動車株式会社
ロボットハンド
24日前
工機ホールディングス株式会社
作業機
1か月前
川崎重工業株式会社
ワーク搬送ロボット
1か月前
ワールド技研株式会社
ロボットセル装置
1か月前
株式会社マキタ
回転打撃工具
1か月前
株式会社不二越
ロボットに用いる伝送路
1か月前
株式会社マキタ
現場用作業機
1か月前
トヨタ自動車株式会社
ロボットの制御装置
1か月前
山九株式会社
レンチ保持治具
1か月前
続きを見る
他の特許を見る