TOP
|
特許
|
意匠
|
商標
特許ウォッチ
Twitter
他の特許を見る
10個以上の画像は省略されています。
公開番号
2025147680
公報種別
公開特許公報(A)
公開日
2025-10-07
出願番号
2024048048
出願日
2024-03-25
発明の名称
回転打撃工具
出願人
株式会社マキタ
代理人
名古屋国際弁理士法人
主分類
B25B
21/02 20060101AFI20250930BHJP(手工具;可搬型動力工具;手工具用の柄;作業場設備;マニプレータ)
要約
【課題】オイルユニットを備えた回転打撃工具において、オイルユニットの温度を測定することなく、オイルユニットを温度上昇から保護できるようにする。
【解決手段】回転打撃工具は、モータと、出力軸と、オイルユニットと、モータ制御部と、打撃状態計測部と、温度推定部と、保護動作部とを備える。打撃状態計測部は、オイルユニットが備える打撃機構による出力軸の打撃状態を計測し、温度推定部は、打撃状態計測部による打撃状態の計測結果を積算することで、オイルユニットの温度を推定し、保護動作部は、温度推定部により得られる温度推定値が予め設定された保護閾値を越えると、モータ制御部によるモータの駆動を抑制する保護動作を行う。
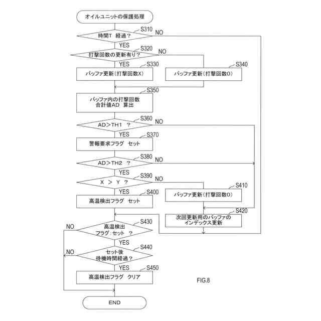
【選択図】図8
特許請求の範囲
【請求項1】
モータと、
先端に工具を装着可能な出力軸と、
前記モータにより回転され、前記出力軸の後端側が回転可能に挿入されたケース、該ケース内に封入されたオイル、及び、前記オイルにより前記ケースの回転トルクを前記出力軸に伝達して前記出力軸を回転させると共に、前記ケースと前記出力軸との回転位相差により前記オイルの高圧室を形成して前記出力軸を打撃するよう構成された打撃機構、を備えたオイルユニットと、
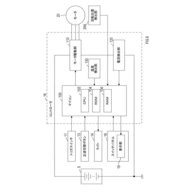
外部からの指令に従い前記モータを駆動制御するように構成されたモータ制御部と、
前記打撃機構による前記出力軸の打撃状態を計測するよう構成された打撃状態計測部と、
前記打撃状態計測部による前記打撃状態の計測結果を積算することで、前記オイルユニットの温度を推定する温度推定部と、
前記温度推定部により得られる温度推定値が予め設定された保護閾値を越えると、前記モータ制御部による前記モータの駆動を抑制する保護動作を行うように構成された保護動作部と、
を備えた回転打撃工具。
続きを表示(約 1,600 文字)
【請求項2】
請求項1に記載の回転打撃工具であって、
前記打撃状態計測部は、前記打撃状態として、所定時間当たりの打撃回数を計測するように構成され、
前記温度推定部は、前記打撃状態計測部にて計測された前記打撃回数を積算することで、前記オイルユニットの温度を推定するように構成されている、回転打撃工具。
【請求項3】
請求項2に記載の回転打撃工具であって、
前記温度推定部は、前記打撃状態計測部にて計測された前記打撃回数が予め設定された下限回数以下であるとき、前記打撃回数の積算値を減じるように構成されている、回転打撃工具。
【請求項4】
請求項3に記載の回転打撃工具であって、
前記温度推定部は、
前記打撃状態計測部にて計測された前記打撃回数を記憶するよう構成された複数のバッファを備え、
前記打撃状態計測部にて所定時間当たりの打撃回数が計測される度に、前記計測された前記打撃回数を前記複数のバッファに順に記憶することで、各バッファ内の前記打撃回数を順に更新し、
前記複数のバッファに記憶された打撃回数の総数を、前記オイルユニットの温度推定値として算出する、
ように構成されている、回転打撃工具。
【請求項5】
請求項4に記載の回転打撃工具であって、
前記温度推定部は、前記バッファの数が異なる2系統のバッファ群を備え、各バッファ群毎に、前記打撃回数の記憶及び前記打撃回数の総数の算出を行い、
前記保護動作部は、前記温度推定部にて前記2系統のバッファ群を用いてそれぞれ算出された前記打撃回数の総数と、各バッファ群毎に予め設定された保護閾値とを各々比較し、前記打撃回数の総数の何れかが、対応する保護閾値を越えると、前記保護動作を行うように構成されている、回転打撃工具。
【請求項6】
請求項4に記載の回転打撃工具であって、
前記保護動作部は、前記複数のバッファに記憶された打撃回数の総数が前記保護閾値を越えているとき、前記複数のバッファに記憶された前記打撃回数の最新値が、予め設定された下限回数以下であるか否かを判定し、前記打撃回数の最新値が前記下限回数以下であるときには、前記保護動作を実施しないように構成されている、回転打撃工具。
【請求項7】
請求項1に記載の回転打撃工具であって、
前記打撃状態計測部は、前記打撃状態として、所定時間当たりの打撃回数を計測するように構成され、
前記温度推定部は、前記打撃状態計測部にて計測された前記打撃回数を加重平均することで前記オイルユニットの温度を推定すると共に、該加重平均に用いるゲインを、前記打撃回数が閾値以上であるか否かで切り替えるように構成されている、回転打撃工具。
【請求項8】
請求項1に記載の回転打撃工具であって、
前記打撃状態計測部は、前記打撃状態として、所定時間当たりに前記モータに流れる電流を計測するように構成され、
前記温度推定部は、前記打撃状態計測部にて計測された前記電流を積算することで、前記オイルユニットの温度を推定するように構成されている、回転打撃工具。
【請求項9】
請求項8に記載の回転打撃工具であって、
前記温度推定部は、前記打撃状態計測部にて計測された前記電流が予め設定された下限電流以下であるとき、当該電流を積算しないように構成されている、回転打撃工具。
【請求項10】
請求項1~請求項9の何れか1項に記載の回転打撃工具であって、
前記保護動作部は、前記保護動作として、前記モータ制御部による前記モータの駆動を禁止するように構成されている、回転打撃工具。
(【請求項11】以降は省略されています)
発明の詳細な説明
【技術分野】
【0001】
本開示は、オイルユニットを備えた回転打撃工具に関する。
続きを表示(約 1,200 文字)
【背景技術】
【0002】
特許文献1に記載のように、出力軸を打撃するオイルユニットを備えた回転打撃工具が知られている。オイルユニットは、モータにより回転され、オイルが封入されたケースを備え、ケースの回転トルクをオイルを介して出力軸に伝達して、出力軸を回転させる。また、オイルユニットのケース内には、ケースと出力軸との回転位相差によりオイルの高圧室を形成して、出力軸を打撃する打撃機構が設けられている。
【先行技術文献】
【特許文献】
【0003】
特許第5382291号公報
【発明の概要】
【発明が解決しようとする課題】
【0004】
オイルユニットにおいて、打撃機構は、打撃をする度にオイルとの摩擦などで発熱する。この発熱によりオイルユニットが高温なると、オイルの膨張によってユニット内部のアキュムレータが潰れたり、オイルが外部へ漏れたりして、不可逆な能力低下を招く。これに対し、オイルユニットは回転体であるため、直接温度を測定することは難しく、オイルユニットの温度を測定して、オイルユニットを温度上昇から保護することは困難である。
【0005】
このため、上記回転打撃工具を使用する際、使用者は、オイルユニットが温度上昇して故障することのないよう、出力軸に大きな負荷が加わる重負荷作業を控えたり、作業をゆっくりと行う必要があり、作業効率が低下するという問題があった。
【0006】
本開示の1つの局面は、オイルユニットを備えた回転打撃工具において、オイルユニットの温度を測定することなく、オイルユニットを温度上昇から保護できるようにすることを目的とする。
【課題を解決するための手段】
【0007】
本開示の一局面の回転打撃工具は、モータと、先端に工具を装着可能な出力軸と、オイルユニットと、モータ制御部と、温度推定部と、保護動作部と、を備える。また、オイルユニットは、モータにより回転され、出力軸の後端側が回転可能に挿入されたケースと、ケース内に封入されたオイルと、打撃機構を備える。
【0008】
オイルユニットの打撃機構は、オイルによりケースの回転トルクを出力軸に伝達して出力軸を回転させると共に、ケースと出力軸との回転位相差によりオイルの高圧室を形成して出力軸を打撃する。
【0009】
また、モータ制御部は、外部からの指令に従いモータを駆動制御するよう構成され、打撃状体計測部は、打撃機構による出力軸の打撃状態を計測するよう構成される。また、温度推定部は、打撃状態計測部による打撃状態の計測結果を積算することで、前記オイルユニットの温度を推定するよう構成される。
【0010】
そして、保護動作部は、温度推定部により得られる温度推定値が予め設定された保護閾値を越えると、モータ制御部によるモータの駆動を抑制する保護動作を行うように構成される。
(【0011】以降は省略されています)
この特許をJ-PlatPat(特許庁公式サイト)で参照する
関連特許
株式会社マキタ
電動工具
8日前
株式会社マキタ
電動作業機
29日前
株式会社マキタ
集塵アタッチメント
今日
株式会社マキタ
スクラバードライヤー
8日前
個人
フラワーホッチキス。
1か月前
個人
手持ち挟持具
23日前
トヨタ自動車株式会社
学習装置
8日前
川崎重工業株式会社
ハンド
1か月前
株式会社マキタ
ハンマドリル
1か月前
株式会社マキタ
ハンマドリル
1か月前
工機ホールディングス株式会社
作業機
1か月前
瓜生製作株式会社
電動締付工具
1日前
トヨタ自動車株式会社
ロボット
1か月前
株式会社安川電機
ロボット
29日前
川崎重工業株式会社
塗装システム
1か月前
株式会社不二越
垂直多関節ロボット
8日前
トヨタ自動車株式会社
軌道生成装置
1か月前
株式会社三共コーポレーション
工具保持具
23日前
株式会社マキタ
集塵アタッチメント
今日
トヨタ自動車株式会社
ロボットハンド
29日前
工機ホールディングス株式会社
作業機
1か月前
株式会社マキタ
現場用作業機
1か月前
株式会社マキタ
回転打撃工具
1か月前
川崎重工業株式会社
ワーク搬送ロボット
1か月前
株式会社不二越
ロボットに用いる伝送路
1か月前
トヨタ自動車株式会社
ロボットの制御装置
1か月前
山九株式会社
レンチ保持治具
1か月前
学校法人立命館
ロボットハンド制御システム
1か月前
ニデックインスツルメンツ株式会社
産業用ロボット
21日前
株式会社マキタ
電動工具
8日前
株式会社マキタ
作業機
1か月前
東レエンジニアリング株式会社
ツール動作機構
1か月前
トヨタ自動車株式会社
モバイルマニピュレータ
1か月前
株式会社田村製作所
エンドエフェクタ及びロボット装置
21日前
ファナック株式会社
経路データセット生成
1か月前
株式会社人機一体
有脚ロボット
1か月前
続きを見る
他の特許を見る