TOP特許意匠商標
特許ウォッチ Twitter
10個以上の画像は省略されています。
公開番号2025162619
公報種別公開特許公報(A)
公開日2025-10-28
出願番号2024065892
出願日2024-04-16
発明の名称有脚ロボット
出願人株式会社人機一体
代理人弁理士法人みのり特許事務所
主分類B25J 5/00 20060101AFI20251021BHJP(手工具;可搬型動力工具;手工具用の柄;作業場設備;マニプレータ)
要約【課題】従来よりも確実にバランスが維持された有脚ロボットを提供する。
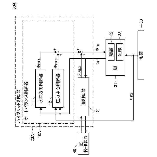
【解決手段】本発明に係る有脚ロボットは、自動的なバランスの維持に関する第1トルク指令を出力するオートバランス制御器10Aと、任意の制御に基づく第2トルク指令を出力する脚制御器21とを含むハイブリッド制御器20Aを備えている。オートバランス制御器10Aは、胴体が足裏の略鉛直上方にあるようにするために脚31の関節のアクチュエータが発生すべきトルクに関する第3トルク指令を出力する水平方向制御器11と、足裏が地面50から受ける床反力の圧力中心点が足裏内の所定位置にあるようにするために脚31の関節のアクチュエータが発生すべきトルクに関する第4トルク指令を出力する圧力中心制御器12とを含み、第3トルク指令および第4トルク指令が示すトルク量の合計を示すトルク指令を第1トルク指令として出力する。
【選択図】図1
特許請求の範囲【請求項1】
胴体と、前記胴体に接続された脚と、前記脚を制御するハイブリッド制御器とを備えた有脚ロボットであって、
前記脚は、
地面に接することができる足裏を有する足部と、
脚部と、
少なくとも1つの関節と
を含み、
前記ハイブリッド制御器は、
自動的なバランスの維持に関する第1トルク指令を出力するオートバランス制御器と、
任意の制御に基づく第2トルク指令を出力する脚制御器と
を含み、
前記第1トルク指令および前記第2トルク指令が示すトルク量の合計を示すトルク指令を前記関節のアクチュエータが発生すべきトルクに関する指令として出力するように構成され、
前記オートバランス制御器は、
第3トルク指令を出力する水平方向制御器と、
第4トルク指令を出力する圧力中心制御器と
を含み、
前記第3トルク指令および前記第4トルク指令が示すトルク量の合計を示すトルク指令を前記第1トルク指令として出力するように構成され、
前記第3トルク指令は、前記胴体が前記足裏の略鉛直上方にあるようにするために前記関節のアクチュエータが発生すべきトルクに関する指令であり、
前記第4トルク指令は、前記足裏が前記地面から受ける床反力の圧力中心点が前記足裏内の所定位置にあるようにするために前記関節のアクチュエータが発生すべきトルクに関する指令であり、
前記第4トルク指令が示すトルク量は、際限なく大きくなることがないように制限されている
ことを特徴とする有脚ロボット。
続きを表示(約 2,300 文字)【請求項2】
前記オートバランス制御器は、
第5トルク指令を出力する鉛直方向制御器
をさらに含み、
前記第3トルク指令、前記第4トルク指令および前記第5トルク指令が示すトルク量の合計を示すトルク指令を前記第1トルク指令として出力するように構成され、
前記第5トルク指令は、前記胴体の略鉛直方向の位置が所定の中立状態に近づくようにするために前記関節のアクチュエータが発生すべきトルクに関する指令、または、前記関節の変位が所定の中立状態に近づくようにするために前記関節のアクチュエータが発生すべきトルクに関する指令である
ことを特徴とする請求項1に記載の有脚ロボット。
【請求項3】
前記圧力中心制御器は、前記第4トルク指令が示すトルク量を不完全積分器を用いることにより制限する
ことを特徴とする請求項1または請求項2に記載の有脚ロボット。
【請求項4】
前記不完全積分器は、出力に制限が掛けられたリミッタ付の不完全積分器である
ことを特徴とする請求項3に記載の有脚ロボット。
【請求項5】
胴体と、前記胴体に接続された複数の脚と、前記複数の脚を制御するハイブリッド制御器とを備えた有脚ロボットであって、
前記複数の脚は、それぞれ、
地面に接することができる足裏を有する足部と、
脚部と、
少なくとも1つの関節と
を含み、
前記ハイブリッド制御器は、
自動的なバランスの維持に関する第1トルク指令を前記脚毎に出力するオートバランス制御器と、
任意の制御に基づく第2トルク指令を前記脚毎に出力する脚制御器と
を含み、
同一の前記脚に関する前記第1トルク指令および前記第2トルク指令が示すトルク量の合計を示すトルク指令を当該脚に含まれる前記関節のアクチュエータが発生すべきトルクに関する指令として出力するように構成され、
前記オートバランス制御器は、
第3トルク指令を前記脚毎に出力する水平方向制御器と、
第4トルク指令を前記脚毎に出力する圧力中心制御器と
を含み、
同一の前記脚に関する前記第3トルク指令および前記第4トルク指令が示すトルク量の合計を示すトルク指令を当該脚に関する前記第1トルク指令として出力するように構成され、
前記第3トルク指令は、前記胴体が前記足裏の略鉛直上方にあるようにするために前記関節のアクチュエータが発生すべきトルクに関する指令であり、
前記第4トルク指令は、前記足裏が前記地面から受ける床反力の圧力中心点が前記足裏内の所定位置にあるようにするために前記関節のアクチュエータが発生すべきトルクに関する指令であり、
前記第4トルク指令が示すトルク量は、際限なく大きくなることがないように制限されている
ことを特徴とする有脚ロボット。
【請求項6】
前記オートバランス制御器は、
第5トルク指令を前記脚毎に出力する鉛直方向制御器
をさらに含み、
同一の前記脚に関する前記第3トルク指令、前記第4トルク指令および前記第5トルク指令が示すトルク量の合計を示すトルク指令を当該脚に関する前記第1トルク指令として出力するように構成され、
前記第5トルク指令は、前記胴体の略鉛直方向の位置が所定の中立状態に近づくようにするために前記関節のアクチュエータが発生すべきトルクに関する指令、または、前記関節の変位が所定の中立状態に近づくようにするために前記関節のアクチュエータが発生すべきトルクに関する指令である
ことを特徴とする請求項5に記載の有脚ロボット。
【請求項7】
前記オートバランス制御器は、
前記第3トルク指令、前記第4トルク指令および前記第5トルク指令の外力成分を抽出する外力成分抽出部
をさらに含み、
同一の前記脚に関する前記第3トルク指令の外力成分、前記第4トルク指令の外力成分および前記第5トルク指令の外力成分が示すトルク量の合計を示すトルク指令を当該脚に関する前記第1トルク指令として出力するように構成されている
ことを特徴とする請求項6に記載の有脚ロボット。
【請求項8】
前記オートバランス制御器は、
第6トルク指令を前記脚毎に出力する接地制御器と、
前記第6トルク指令の内力成分を抽出する内力成分抽出部と
をさらに含み、
同一の前記脚に関する前記第3トルク指令の外力成分、前記第4トルク指令の外力成分、前記第5トルク指令の外力成分および前記第6トルク指令の内力成分が示すトルク量の合計を示すトルク指令を当該脚に関する前記第1トルク指令として出力するように構成されており、
前記第6トルク指令は、前記足裏が前記地面に接し続けるようにするために前記関節のアクチュエータが発生すべきトルクに関する指令である
ことを特徴とする請求項7に記載の有脚ロボット。
【請求項9】
前記圧力中心制御器は、前記第4トルク指令が示すトルク量を不完全積分器を用いることにより制限する
ことを特徴とする請求項5~請求項8のいずれか一項に記載の有脚ロボット。
【請求項10】
前記不完全積分器は、出力に制限が掛けられたリミッタ付の不完全積分器である
ことを特徴とする請求項9に記載の有脚ロボット。

発明の詳細な説明【技術分野】
【0001】
本発明は、有脚ロボットに関し、特に、操作者の指令に基づいて脚を制御する脚制御器とバランス維持を自動で行うためのオートバランス制御器とを含むハイブリッド制御器を備えた有脚ロボットに関する。
続きを表示(約 3,000 文字)【背景技術】
【0002】
危険な環境下で人に代わって各種作業を行う有脚ロボットの実現が望まれているが、完全自律化には未だ多くの課題がある。このため、遠隔操作型の有脚ロボットの開発が進められている。遠隔操作型の有脚ロボットを操作する手法としては、例えば、非特許文献1に記載されたグラフィカルユーザインターフェース(GUI)を介して操作者が歩行経路を指令する手法や、非特許文献2に記載されたモーションキャプチャによって撮影された操作者の動きをロボットに反映させる手法等が知られている。
【0003】
有脚ロボットは一般に、多くの自由度を有する不安定な機構であり、基本動作の1つである歩行は転倒のリスクが高い。この課題に対しては、例えば、非特許文献3,4に記載された実時間で歩行パターンを自動的・自律的に生成する手法が有効である。しかしながら、この手法では、歩行のための脚の動きを逐一操作者が操作できるようになっていない。このため、この手法が適用された有脚ロボットは、建設現場や災害現場のような不整地を歩行する際に必要となる、操作者の判断による足の踏み替えを行うことができない可能性がある。
【0004】
このように、遠隔操作型の有脚ロボットは、操作者の意図通りに脚を動かし、かつロボット全体のバランス維持を自動で行うように脚を動かす制御器を備えていることが望ましい。このような有脚ロボットとして、例えば、特許文献1に記載されたものが知られている。この有脚ロボットは、トルク指令ベースのオートバランス制御器(すなわち、足関節にトルク指令を出力するオートバランス制御器)を備えている。そして、このオートバランス制御器は、操作者の指令に対応したトルク指令を出力する任意の脚制御器と組み合わせて使用することができるように構成されている。このオートバランス制御器によれば、脚制御器の出力がオートバランス制御器に干渉すること、すなわち、オートバランス制御器によるバランスを崩さない範囲で、操作者が脚を意図通りに動かすことができる。
【先行技術文献】
【非特許文献】
【0005】
S. Nakaoka, M. Morisawa, K. Kaneko, S. Kajita, and F. Kanehiro:“Development of an indirect-type teleoperation interface for biped humanoid robots,” Proceedings of 2014 IEEE/SICE International Symposium on System Integration, pp.590-596, 2014.
I. Almetwally and M. Mallem:“Real-time tele-operation and tele-walking of humanoid robot NAO using Kinect Depth Camera,” Proceedings of 2013 10th IEEE International Conference on Networking, Sensing and Control, pp.463-466, 2013.
J. Ding, M. Yang, J. Zhou, D. Yao, and X. Xiao:“Robust real-time walking pattern generation with dynamical consistency: An analytical method combined with optimal solution,”Proceedings of 2017 IEEE International Conference on Robotics and Biomimetics, pp.1806-1811, 2017.
T. Sato, S. Sakaino, and K. Ohnishi:“Real-time walking trajectory generation method with three-mass models at constant body height for three-dimensional biped robots,”IEEE Transactions on Industrial Electronics, vol.58, no.2, pp.376-383, 2011.
【特許文献】
【0006】
特許第5268107号公報
【発明の概要】
【発明が解決しようとする課題】
【0007】
しかしながら、特許文献1に記載の有脚ロボットのオートバランス制御器は、ロボットに持続的な外力が加えられた場合を含む様々な状況において、バランスを維持することができない場合があった。
【0008】
本発明は、上記事情に鑑みてなされたものであって、従来よりも確実にバランスが維持された有脚ロボットを提供することを課題とする。
【課題を解決するための手段】
【0009】
上記課題を解決するために、本発明に係る第1の有脚ロボットは、胴体と、胴体に接続された脚と、脚を制御するハイブリッド制御器とを備えたロボットであって、
脚は、地面に接することができる足裏を有する足部と、脚部と、少なくとも1つの関節とを含み、
ハイブリッド制御器は、自動的なバランスの維持に関する第1トルク指令を出力するオートバランス制御器と、任意の制御に基づく第2トルク指令を出力する脚制御器とを含み、第1トルク指令および第2トルク指令が示すトルク量の合計を示すトルク指令を関節のアクチュエータが発生すべきトルクに関する指令として出力するように構成され、
オートバランス制御器は、第3トルク指令を出力する水平方向制御器と、第4トルク指令を出力する圧力中心制御器とを含み、第3トルク指令および第4トルク指令が示すトルク量の合計を示すトルク指令を第1トルク指令として出力するように構成され、
第3トルク指令は、胴体が足裏の略鉛直上方にあるようにするために関節のアクチュエータが発生すべきトルクに関する指令であり、第4トルク指令は、足裏が地面から受ける床反力の圧力中心点が足裏内の所定位置にあるようにするために関節のアクチュエータが発生すべきトルクに関する指令であり、第4トルク指令が示すトルク量は、際限なく大きくなることがないように制限されている、との構成を有している。
【0010】
上記第1の有脚ロボットのオートバランス制御器は、第5トルク指令を出力する鉛直方向制御器をさらに含み、第3トルク指令、第4トルク指令および第5トルク指令が示すトルク量の合計を示すトルク指令を第1トルク指令として出力するように構成されていてもよい。第5トルク指令は、胴体の略鉛直方向の位置が所定の中立状態に近づくようにするために関節のアクチュエータが発生すべきトルクに関する指令、または、関節の変位が所定の中立状態に近づくようにするために関節のアクチュエータが発生すべきトルクに関する指令である。
(【0011】以降は省略されています)

この特許をJ-PlatPat(特許庁公式サイト)で参照する

関連特許

株式会社人機一体
有脚ロボット
1か月前
個人
フラワーホッチキス。
1か月前
個人
手持ち挟持具
1か月前
トヨタ自動車株式会社
学習装置
17日前
CKD株式会社
把持装置
2日前
ダイセイ株式会社
ロボット自動刻印装置
2日前
川崎重工業株式会社
ハンド
1か月前
株式会社マキタ
ハンマドリル
1か月前
株式会社マキタ
ハンマドリル
1か月前
瓜生製作株式会社
電動締付工具
10日前
トヨタ自動車株式会社
ロボット
2か月前
工機ホールディングス株式会社
作業機
1か月前
株式会社安川電機
ロボット
1か月前
川崎重工業株式会社
塗装システム
1か月前
トヨタ自動車株式会社
軌道生成装置
2か月前
株式会社不二越
垂直多関節ロボット
17日前
株式会社三共コーポレーション
工具保持具
1か月前
株式会社マキタ
集塵アタッチメント
9日前
トヨタ自動車株式会社
ロボットハンド
1か月前
工機ホールディングス株式会社
作業機
1か月前
株式会社マキタ
現場用作業機
1か月前
川崎重工業株式会社
ワーク搬送ロボット
1か月前
株式会社不二越
ロボットに用いる伝送路
1か月前
株式会社マキタ
回転打撃工具
2か月前
山九株式会社
レンチ保持治具
2か月前
NTN株式会社
把持装置
2日前
学校法人立命館
ロボットハンド制御システム
1か月前
ニデックインスツルメンツ株式会社
産業用ロボット
1か月前
株式会社マキタ
電動工具
17日前
株式会社マキタ
作業機
1か月前
東レエンジニアリング株式会社
ツール動作機構
2か月前
トヨタ自動車株式会社
モバイルマニピュレータ
1か月前
株式会社田村製作所
エンドエフェクタ及びロボット装置
1か月前
ファナック株式会社
経路データセット生成
1か月前
国立大学法人東京科学大学
多自由度入力装置用制御装置
9日前
株式会社人機一体
有脚ロボット
1か月前
続きを見る