TOP
|
特許
|
意匠
|
商標
特許ウォッチ
Twitter
他の特許を見る
10個以上の画像は省略されています。
公開番号
2025147656
公報種別
公開特許公報(A)
公開日
2025-10-07
出願番号
2024048011
出願日
2024-03-25
発明の名称
レンチ保持治具
出願人
山九株式会社
代理人
個人
,
個人
,
個人
,
個人
主分類
B25B
13/00 20060101AFI20250930BHJP(手工具;可搬型動力工具;手工具用の柄;作業場設備;マニプレータ)
要約
【課題】 ボルトのネジ軸(ネジ溝)を利用することなく、レンチが締結部材から離脱することを抑制する。
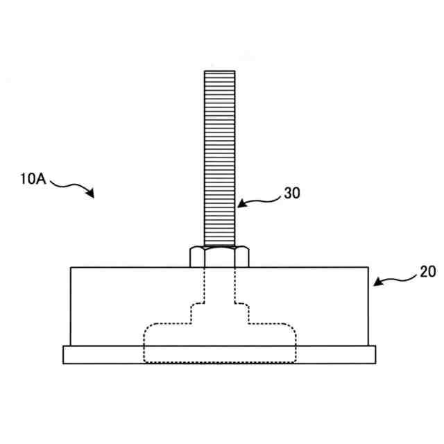
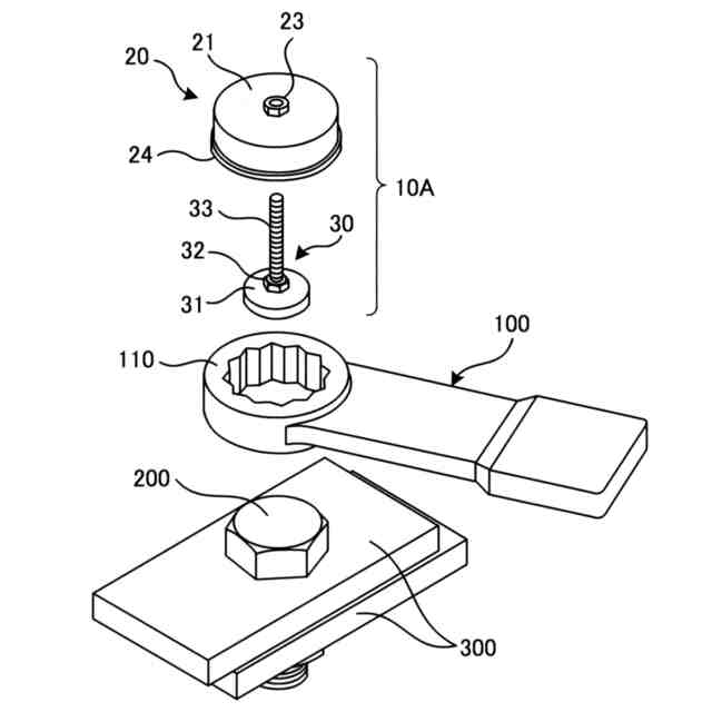
【解決手段】 レンチのヘッド部が締結部材と係合した状態においてヘッド部を保持するレンチ保持治具は、磁力によって締結部材に吸着されるマグネット治具と、ヘッド部に押し付け力を与える押さえ治具とを有する。マグネット治具は、ヘッド部の内側で露出した締結部材の一部に吸着するマグネット部と、マグネット部に固定されたネジ軸とを有する。押さえ治具は、マグネット部を収容可能であって押し付け力を与える本体部と、ネジ軸と噛み合うネジ部とを有し、本体部を貫通するネジ軸に沿って移動可能である。
【選択図】 図4
特許請求の範囲
【請求項1】
レンチのヘッド部が締結部材と係合した状態において前記ヘッド部を保持するレンチ保持治具であって、
磁力によって前記締結部材に吸着されるマグネット治具と、
前記ヘッド部に押し付け力を与える押さえ治具と、を有し、
前記マグネット治具は、前記ヘッド部の内側で露出した前記締結部材の一部に吸着するマグネット部と、前記マグネット部に固定されたネジ軸とを有し、
前記押さえ治具は、前記マグネット部を収容可能であって前記押し付け力を与える本体部と、前記ネジ軸と噛み合うネジ部とを有し、前記本体部を貫通する前記ネジ軸に沿って移動可能であることを特徴とするレンチ保持治具。
続きを表示(約 430 文字)
【請求項2】
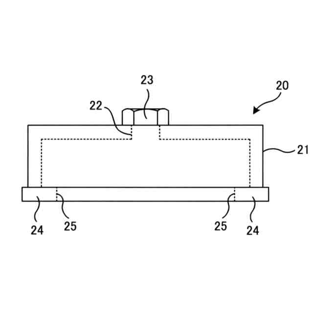
レンチが前記締結部材としてのボルトの頭部と係合するとき、前記マグネット部は、前記ボルトの頭部に吸着されることを特徴とする請求項1に記載のレンチ保持治具。
【請求項3】
レンチが前記締結部材としてのナットと係合するとき、前記マグネット部は、前記ナットと噛み合うボルトの軸部の先端面に吸着されることを特徴とする請求項1に記載のレンチ保持治具。
【請求項4】
前記本体部は、前記マグネット部及び前記ボルトの軸部を収容可能であることを特徴とする請求項3に記載のレンチ保持治具。
【請求項5】
前記押さえ治具は、レンチと接触してレンチに前記押し付け力を与えるフランジ部を有することを特徴とする請求項1に記載のレンチ保持治具。
【請求項6】
前記押さえ治具は、前記本体部に固定され、内周面に前記ネジ部が形成されたナット部を有することを特徴とする請求項1に記載のレンチ保持治具。
発明の詳細な説明
【技術分野】
【0001】
本発明は、レンチを締結部材に係合させた状態においてレンチを保持するレンチ保持治具に関する。
続きを表示(約 1,500 文字)
【背景技術】
【0002】
特許文献1~4には、スパナがナット等から離脱することを抑制する治具が開示されている。特許文献1では、ボルトのネジ軸と噛み合うナットにスパナを係合させた状態において、ナットから突出したネジ軸にクリップを噛み合わせている。これにより、ボルトによって締め付けられる部材とクリップとによってスパナを挟むことができ、スパナの離脱を抑制するようにしている。
【0003】
特許文献2では、ボルトと噛み合うナットにスパナを係合させた状態において、ボルトの先端部にスパナ押え治具を螺合させている。ここで、スパナ押え治具の押圧部がスパナの側面部を押圧することにより、スパナの離脱を抑制するようにしている。
【0004】
特許文献3では、ボルトのネジ軸と噛み合うナットにスパナを係合させた状態において、ナットから突出したネジ軸に治具を取り付けている。ここで、治具は、ボルトの軸部を挟持する一対の挟持部を有しており、この治具によってスパナの離脱を抑制するようにしている。
【0005】
特許文献4では、ボルトのネジ軸と噛み合うナットにスパナを係合させた状態において、ナットから突出したネジ軸に治具を取り付けている。ここで、治具は、ネジ軸を挟持するための一対の挟持部材と、各挟持部材をネジ軸に向けて押圧する押圧部材とを有しており、この治具によってスパナの離脱を抑制するようにしている。
【先行技術文献】
【特許文献】
【0006】
特開2010-120097号公報
特許第5577123号公報
特許第5960584号公報
特許第5963659号公報
【発明の概要】
【発明が解決しようとする課題】
【0007】
特許文献1~4では、いずれもナットから突出したネジ軸(すなわち、ネジ溝)に治具を取り付けるようにしている。本発明の目的は、ボルトのネジ軸(ネジ溝)を利用することなく、レンチが締結部材から離脱することを抑制する治具を提供することにある。
【課題を解決するための手段】
【0008】
本発明は、レンチのヘッド部が締結部材と係合した状態においてヘッド部を保持するレンチ保持治具であり、磁力によって締結部材に吸着されるマグネット治具と、ヘッド部に押し付け力を与える押さえ治具と、を有する。ここで、マグネット治具は、ヘッド部の内側で露出した締結部材の一部に吸着するマグネット部と、マグネット部に固定されたネジ軸とを有する。押さえ治具は、マグネット部を収容可能であって押し付け力を与える本体部と、ネジ軸と噛み合うネジ部とを有し、本体部を貫通するネジ軸に沿って移動可能である。
【0009】
レンチが締結部材としてのボルトの頭部と係合するときには、マグネット部をボルトの頭部に吸着させることができる。一方、レンチが締結部材としてのナットと係合するときには、ナットと噛み合うボルトの軸部の先端面にマグネット部を吸着させることができる。ボルトの軸部の先端面にマグネット部を吸着させるときには、マグネット部及びボルトの軸部を本体部に収容させることができる。
【0010】
押さえ治具には、レンチと接触してレンチに押し付け力を与えるフランジ部を設けることができる。また、押さえ治具には、本体部に固定され、内周面にネジ部が形成されたナット部を設けることができる。
【発明の効果】
(【0011】以降は省略されています)
この特許をJ-PlatPat(特許庁公式サイト)で参照する
関連特許
個人
フラワーホッチキス。
1か月前
個人
手持ち挟持具
1か月前
トヨタ自動車株式会社
学習装置
19日前
CKD株式会社
把持装置
4日前
ダイセイ株式会社
ロボット自動刻印装置
4日前
株式会社マキタ
ハンマドリル
1か月前
株式会社マキタ
ハンマドリル
1か月前
瓜生製作株式会社
電動締付工具
12日前
株式会社安川電機
ロボット
1か月前
株式会社三共コーポレーション
工具保持具
1か月前
株式会社マキタ
集塵アタッチメント
11日前
株式会社不二越
垂直多関節ロボット
19日前
トヨタ自動車株式会社
ロボットハンド
1か月前
株式会社マキタ
現場用作業機
1か月前
株式会社不二越
ロボットに用いる伝送路
1か月前
川崎重工業株式会社
ワーク搬送ロボット
2か月前
株式会社マキタ
作業機
1か月前
株式会社マキタ
電動工具
19日前
ニデックインスツルメンツ株式会社
産業用ロボット
1か月前
NTN株式会社
把持装置
4日前
学校法人立命館
ロボットハンド制御システム
1か月前
トヨタ自動車株式会社
モバイルマニピュレータ
1か月前
株式会社ケイズベルテック
物品定量取り分け装置
1か月前
株式会社田村製作所
エンドエフェクタ及びロボット装置
1か月前
国立大学法人東京科学大学
多自由度入力装置用制御装置
11日前
株式会社人機一体
有脚ロボット
1か月前
ファナック株式会社
経路データセット生成
1か月前
積水ハウス株式会社
固定ピン保持用アタッチメント
1か月前
ダイハツ工業株式会社
ロボット制御システム
4日前
株式会社マキタ
インパクト工具
1か月前
株式会社デンソー
ワーク投入装置
1か月前
株式会社秦製作所
ジャック差込口ナット締め用の供回り防止レンチ
20日前
カツデン株式会社
回転工具用治具
1か月前
泰芳機械股分有限公司
コレット収納装置
1か月前
日本発條株式会社
ケーブルユニット及びその製造方法
1か月前
パナソニック株式会社
インパクト工具
4日前
続きを見る
他の特許を見る