TOP
|
特許
|
意匠
|
商標
特許ウォッチ
Twitter
他の特許を見る
10個以上の画像は省略されています。
公開番号
2025171373
公報種別
公開特許公報(A)
公開日
2025-11-20
出願番号
2024076640
出願日
2024-05-09
発明の名称
電動工具
出願人
株式会社マキタ
代理人
弁理士法人酒井国際特許事務所
主分類
B25F
5/00 20060101AFI20251113BHJP(手工具;可搬型動力工具;手工具用の柄;作業場設備;マニプレータ)
要約
【課題】作業者が意図しない変速モードに変速機構を切り替えることが抑制する。
【解決手段】電動工具は、ステータ及びロータを有するモータと、モータよりも前方に配置され、ロータから伝達された回転力に基づいて回転する出力部と、ロータの回転を減速して、ロータよりも低い回転速度で出力部を回転させる、3段変速以上の減速機構と、減速機構の変速段階ごとの3以上の切替位置を含む可動範囲内で移動する変速操作部と、それぞれの切替位置で、切替位置への位置保持力を変速操作部に付与する位置保持部とを備える。可動範囲の両端の端部切替位置における位置保持力よりも、端部切替位置の間に位置する中間切替位置における位置保持力の方が大きい。
【選択図】図21
特許請求の範囲
【請求項1】
ステータ及びロータを有するモータと、
前記モータよりも前方に配置され、前記ロータから伝達された回転力に基づいて回転する出力部と、
前記ロータの回転を減速して、前記ロータよりも低い回転速度で前記出力部を回転させる、3段変速以上の減速機構と、
前記減速機構の変速段階ごとの3以上の切替位置を含む可動範囲内で移動する変速操作部と、
それぞれの前記切替位置で、前記切替位置への位置保持力を前記変速操作部に付与する位置保持部とを備え、
前記可動範囲の両端の端部切替位置における前記位置保持力よりも、前記端部切替位置の間に位置する中間切替位置における前記位置保持力の方が大きい、
電動工具。
続きを表示(約 920 文字)
【請求項2】
前記変速操作部及び前記位置保持部の一方は凸部を有し、前記変速操作部及び前記位置保持部の他方は前記凸部との係合により前記位置保持力を生じる溝部を有する、
請求項1に記載の電動工具。
【請求項3】
前記溝部は、前記端部切替位置及び前記中間切替位置を含む3以上の前記切替位置のそれぞれに設けられ、
前記中間切替位置の前記溝部は、前記端部切替位置の前記溝部と異なる形状を有する、
請求項2に記載の電動工具。
【請求項4】
前記溝部は、前記変速操作部の移動方向に対して傾斜した一対の傾斜内面を有し、
前記中間切替位置の前記溝部は、前記端部切替位置の前記溝部よりも、前記一対の傾斜内面の傾斜角度が大きい、
請求項3に記載の電動工具。
【請求項5】
前記凸部は、前記変速操作部の移動方向に対して傾斜した一対の傾斜外面を有し、
前記中間切替位置の前記溝部の前記一対の傾斜内面の傾斜角度は、前記凸部の前記一対の傾斜外面の傾斜角度よりも大きい、
請求項4に記載の電動工具。
【請求項6】
前記中間切替位置の前記溝部の前記一対の傾斜内面の傾斜角度は、45度以上90度以下である、
請求項4に記載の電動工具。
【請求項7】
前記中間切替位置の前記溝部は、前記一対の傾斜内面の端部を接続する内底面を有する、
請求項4に記載の電動工具。
【請求項8】
前記中間切替位置の前記溝部の溝深さは、前記端部切替位置の前記溝部の溝深さ以下である、
請求項5に記載の電動工具。
【請求項9】
前記中間切替位置の前記溝部は、前記端部切替位置の前記溝部よりも、溝深さが大きい、
請求項3に記載の電動工具。
【請求項10】
前記変速操作部を移動可能に保持するハウジングをさらに備え、
前記位置保持部は、前記ハウジングにおける前記変速操作部の摺動面に位置する、
請求項1に記載の電動工具。
(【請求項11】以降は省略されています)
発明の詳細な説明
【技術分野】
【0001】
本明細書で開示する技術は、電動工具に関する。
続きを表示(約 3,200 文字)
【背景技術】
【0002】
電動工具に係る技術分野において、特許文献1に開示されているような3段変速以上の変速機構を備えたドライバドリルが知られている。速度切替レバーを低速モードの位置、中速モードの位置、高速モードの位置へそれぞれ移動させることで、変速機構の減速比が切り替わる。中速モードの位置は、低速モードの位置と高速モードの位置との間にある。
【先行技術文献】
【特許文献】
【0003】
特開2023-89934号公報
【発明の概要】
【発明が解決しようとする課題】
【0004】
作業者が変速機構を中速モードに切り替えようとするとき、中速モードの位置を通り過ぎて別のモードの位置まで速度切替レバーを動かしてしまうことがある。本明細書で開示する技術は、作業者が意図しない変速モードに変速機構を切り替えることを抑制することを目的とする。
【課題を解決するための手段】
【0005】
本明細書は、電動工具を開示する。電動工具は、ステータ及びロータを有するモータと、モータよりも前方に配置され、ロータから伝達された回転力に基づいて回転する出力部と、ロータの回転を減速して、ロータよりも低い回転速度で出力部を回転させる、3段変速以上の減速機構と、減速機構の変速段階ごとの3以上の切替位置を含む可動範囲内で移動する変速操作部と、それぞれの切替位置で、切替位置への位置保持力を変速操作部に付与する位置保持部とを備えてもよい。可動範囲の両端の端部切替位置における位置保持力よりも、端部切替位置の間に位置する中間切替位置における位置保持力の方が大きくてもよい。
【0006】
また、電動工具は、ステータ及びロータを有するモータと、モータよりも前方に配置され、ロータから伝達された回転力に基づいて回転する出力部と、ロータの回転を減速して、ロータよりも低い回転速度で出力部を回転させる、3段変速以上の減速機構と、減速機構の変速段階ごとの切替位置を含む可動範囲内で移動する変速操作部と、変速操作部を移動可能に保持し、変速操作部の移動に対する抵抗力を変速操作部に付与するハウジングとを備えてもよい。可動範囲の端部における抵抗力よりも、可動範囲の中間位置における抵抗力が大きくてもよい。
【発明の効果】
【0007】
本明細書で開示する技術によれば、作業者が意図しない変速モードに変速機構を切り替えることが抑制される。
【図面の簡単な説明】
【0008】
図1は、実施形態に係る電動工具を示す前方からの斜視図である。
図2は、実施形態に係る電動工具を示す後方からの斜視図である。
図3は、実施形態に係る電動工具を示す側面図である。
図4は、実施形態に係る電動工具を示す断面図である。
図5は、実施形態に係る電動工具の一部を示す断面図である。
図6は、実施形態に係る減速機構の一部を示す右前方からの斜視図である。
図7は、実施形態に係る電動工具の一部を示す前方からの斜視図である。
図8は、実施形態に係る電動工具の一部を示す側面図である。
図9は、実施形態に係る電動工具の一部を示す断面図である。
図10は、実施形態に係る減速機構を示す分解斜視図である。
図11は、実施形態に係る減速機構の一部を示す後方からの斜視図である。
図12は、実施形態に係る第1速度切換機構及び第2速度切換機構を示す側面図である。
図13は、実施形態に係る第1速度切換機構及び第2速度切換機構を示す右下後方からの斜視図である。
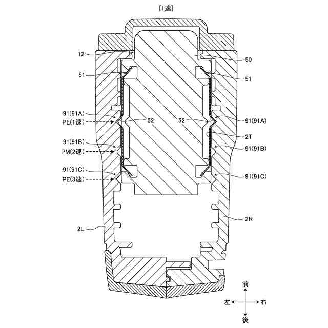
図14は、実施形態に係る減速機構が高速モード(3速)に設定されたときの電動工具1を上方から見た図である。
図15は、実施形態に係る減速機構が低速モード(1速)に設定されたときの減速機構を示す断面図である。
図16は、実施形態に係る減速機構が中速モード(2速)に設定されたときの減速機構を示す断面図である。
図17は、実施形態に係る減速機構が高速モード(3速)に設定されたときの減速機構を示す断面図である。
図18は、速度切替レバーを示した斜視図である。
図19は、速度切替レバーの上面図である。
図20は、速度切替レバーの凸部と係合する溝部を示したハウジングの断面図である。
図21は、速度切替レバーが1速の切替位置に配置されたときの凸部及び溝部を示す断面図である。
図22は、速度切替レバーが2速の切替位置に配置されたときの凸部及び溝部を示す断面図である。
図23は、速度切替レバーが3速の切替位置に配置されたときの凸部及び溝部を示す断面図である。
図24は、各切替位置における溝部を示した拡大図である。
図25は、端部切替位置の溝部に凸部が配置されている状態を示した拡大図である。
図26は、中間切替位置の溝部に凸部が配置されている状態を示した拡大図である。
図27は、第2実施形態に係る溝部を示した拡大図である。
図28は、第3実施形態に係る溝部を示した拡大図である。
図29は、第4実施形態に係る速度切替レバー及び位置保持部を示した模式図である。
図30は、第5実施形態に係る速度切替レバー及び位置保持部を示した模式図である。
図31は、第6実施形態に係る位置保持部を示した模式図である。
図32は、第7実施形態に係るハウジング及び速度切替レバーを示した斜視断面図である。
図33は、第7実施形態に係るハウジングの抵抗付与部を説明するための模式図である。
図34は、抵抗付与部と速度切替レバーとが接触した状態を示した模式図である。
図35は、第8実施形態に係る速度切替レバー及び位置保持部を示した模式図である。
図36は、第8実施形態に係る速度切替機構を説明する図である。
【発明を実施するための形態】
【0009】
1つ又はそれ以上の実施形態において、電動工具は、ステータ及びロータを有するモータと、モータよりも前方に配置され、ロータから伝達された回転力に基づいて回転する出力部と、ロータの回転を減速して、ロータよりも低い回転速度で出力部を回転させる、3段変速以上の減速機構と、減速機構の変速段階ごとの3以上の切替位置を含む可動範囲内で移動する変速操作部と、それぞれの切替位置で、切替位置への位置保持力を変速操作部に付与する位置保持部とを備えてもよい。可動範囲の両端の端部切替位置における位置保持力よりも、端部切替位置の間に位置する中間切替位置における位置保持力の方が大きくてもよい。
【0010】
本明細書において、「切替位置への位置保持力」とは、変速操作部が切替位置から動かされる際に、変速操作部に付与される抵抗力(反力)を意味する。言い換えると、位置保持力は、変速操作部が切替位置から離脱するために必要な力である。上記の構成では、中間切替位置において端部切替位置よりも大きな位置保持力が変速操作部に付与されるので、作業者が変速操作部を中間切替位置へ移動させようとする場合に、意図せずに変速操作部が中間切替位置を通過することが抑制される。なお、端部切替位置は、可動範囲の両端にあるので、作業者は変速操作部を可動範囲の限界まで動かせばよく、変速操作部が意図せず端部切替位置を通り過ぎることはない。以上により、作業者が意図しない変速モードに変速機構を切り替えることが抑制される。
(【0011】以降は省略されています)
特許ウォッチbot のツイートを見る
この特許をJ-PlatPat(特許庁公式サイト)で参照する
関連特許
株式会社マキタ
作業機
1か月前
株式会社マキタ
電動工具
20日前
株式会社マキタ
電動作業機
今日
株式会社マキタ
電動作業機
1か月前
株式会社マキタ
鉄筋結束機
1か月前
株式会社マキタ
回転打撃工具
2か月前
株式会社マキタ
現場用作業機
1か月前
株式会社マキタ
ハンマドリル
1か月前
株式会社マキタ
ハンマドリル
1か月前
株式会社マキタ
インパクト工具
1か月前
株式会社マキタ
ダイグラインダ
2か月前
株式会社マキタ
集塵アタッチメント
12日前
株式会社マキタ
スクラバードライヤー
20日前
株式会社マキタ
充電器及び充電システム
1か月前
株式会社マキタ
フレア形成装置及びフレア形成工具
2か月前
株式会社マキタ
インパクト工具及びインパクトレンチ
1か月前
株式会社マキタ
往復動工具、及び、往復動工具の電動モータを制御する方法
5日前
株式会社マキタ
現場用機器における光学表示器の内部に回路基板を固定する技術
1か月前
株式会社マキタ
往復動工具、及び、往復動工具における電動モータを制御する方法
5日前
株式会社マキタ
往復動工具、及び、往復動工具における電動モータの通電を保持する方法
5日前
株式会社マキタ
往復動工具、及び、往復動工具における往復部材の位置検出に関連する不具合の発生を検出する方法
5日前
個人
フラワーホッチキス。
1か月前
個人
手持ち挟持具
1か月前
川崎重工業株式会社
ロボット
2か月前
トヨタ自動車株式会社
学習装置
20日前
株式会社不二越
ロボット
2か月前
株式会社竹中工務店
補助セット
2か月前
CKD株式会社
把持装置
5日前
川崎重工業株式会社
ハンド
2か月前
ダイセイ株式会社
ロボット自動刻印装置
5日前
株式会社マキタ
ハンマドリル
1か月前
株式会社マキタ
ハンマドリル
1か月前
トヨタ自動車株式会社
ロボット
2か月前
瓜生製作株式会社
電動締付工具
13日前
株式会社不二越
移動ロボットシステム
2か月前
工機ホールディングス株式会社
作業機
2か月前
続きを見る
他の特許を見る