TOP
|
特許
|
意匠
|
商標
特許ウォッチ
Twitter
他の特許を見る
10個以上の画像は省略されています。
公開番号
2025158656
公報種別
公開特許公報(A)
公開日
2025-10-17
出願番号
2024061412
出願日
2024-04-05
発明の名称
インパクト工具
出願人
株式会社マキタ
代理人
弁理士法人酒井国際特許事務所
主分類
B25B
21/02 20060101AFI20251009BHJP(手工具;可搬型動力工具;手工具用の柄;作業場設備;マニプレータ)
要約
【課題】アングルインパクト工具において、ギヤ部の小型化を図ること。
【解決手段】インパクト工具は、前後方向に延びるグリップ部と、グリップ部の前方に配置されるモータハウジング部と、モータハウジング部の内部に配置され、ステータ及びステータに対して回転可能なロータを有する、モータと、ロータと一体回転し、前後方向に延びる軸を有するベベルギヤと、ベベルギヤを介して直接又は間接に回転され、前後方向と交わる方向に延びるスピンドルと、スピンドルにより回転されるハンマと、ハンマにより回転方向に、直接又は間接に打撃されるアンビルと、アンビルの下端に配置される先端工具保持部と、ベベルギヤ、スピンドル及びハンマを収容するハンマケースと、ハンマケースに保持され、ベベルギヤを回転可能に保持するベアリングと、を備える。
【選択図】図6
特許請求の範囲
【請求項1】
前後方向に延びるグリップ部と、
前記グリップ部の前方に配置されるモータハウジング部と、
前記モータハウジング部の内部に配置され、ステータ及び前記ステータに対して回転可能なロータを有する、モータと、
前記ロータと一体回転し、前後方向に延びる軸を有するベベルギヤと、
前記ベベルギヤを介して直接又は間接に回転され、前記前後方向と交わる方向に延びるスピンドルと、
前記スピンドルにより回転されるハンマと、
前記ハンマにより回転方向に、直接又は間接に打撃されるアンビルと、
前記アンビルの下端に配置される先端工具保持部と、
前記ベベルギヤ、前記スピンドル及び前記ハンマを収容するハンマケースと、
前記ハンマケースに保持され、前記ベベルギヤを回転可能に保持するベアリングと、を備える、
インパクト工具。
続きを表示(約 1,200 文字)
【請求項2】
前記ロータは、前後方向に延びるロータシャフト部を有し、
前記ベベルギヤは、前記ロータシャフト部に固定されている、
請求項1に記載のインパクト工具。
【請求項3】
前記ベアリングは、前記ロータシャフト部に接触し、前記ロータシャフト部を介して前記ベベルギヤを回転可能に保持する、
請求項2に記載のインパクト工具。
【請求項4】
前記ハンマケースは、前記ベアリングに作用するラジアル荷重を支持する径方向支持面と、前記ベアリングに作用する前方へのスラスト荷重を支持する前側支持面とを有する、
請求項1に記載のインパクト工具。
【請求項5】
前記モータハウジング部と前記ハンマケースとは、前後方向に接続し、
前記モータハウジング部が、前記ベアリングに作用する後方へのスラスト荷重を支持する後側支持面を有する、
請求項4に記載のインパクト工具。
【請求項6】
前記ベベルギヤと噛み合う従動ギヤを有し、前記ベベルギヤの回転を減速する第1中間軸と、
前記第1中間軸の回転を減速して前記スピンドルに伝達する第2中間軸と、をさらに備える、
請求項1に記載のインパクト工具。
【請求項7】
前記スピンドルは、前後方向と直交する方向に延びる、
請求項1に記載のインパクト工具。
【請求項8】
前後方向に延びるグリップ部と、
前記グリップ部の前方に配置されるモータハウジング部と、
前記モータハウジング部の内部に配置され、ステータ及び前記ステータに対して回転可能なロータを有する、モータと、
前記ロータと一体回転するピニオンギヤと、
前記ピニオンギヤに接続される減速機構部と、
前記減速機構部に接続され、前記前後方向と交わる方向に延びるスピンドルと、
前記スピンドルにより回転されるハンマと、
前記ハンマにより回転方向に、直接又は間接に打撃されるアンビルと、
前記アンビルの下端に配置される先端工具保持部と、
前記ピニオンギヤ、前記減速機構部、前記スピンドル及び前記ハンマを収容するハンマケースと、
前記ハンマケースに保持され、前記ピニオンギヤを回転可能に保持するベアリングと、を備える、
インパクト工具。
【請求項9】
前記モータハウジング部と前記ハンマケースとは、前後方向に接続し、
前記ベアリングは、前記モータハウジング部と前記ハンマケースとに挟持される、
請求項8に記載のインパクト工具。
【請求項10】
前記ハンマケースは、前記ハンマケースの後部から前方に窪み、前記ベアリングを収容する収容凹部を有する、
請求項9に記載のインパクト工具。
(【請求項11】以降は省略されています)
発明の詳細な説明
【技術分野】
【0001】
本明細書で開示する技術は、インパクト工具に関する。
続きを表示(約 2,700 文字)
【背景技術】
【0002】
特許文献1にはピストルタイプのインパクト工具が開示されている。ピストルタイプのインパクト工具の先端部が入らない狭所での作業を可能とするアングルインパクト工具がある。アングルインパクト工具は、棒状で先端部が屈曲した形状を有し、モータ軸と出力軸とが非平行になる。そのため、アングルインパクト工具は、狭い作業箇所に先端部を差し込んで締め付け作業を行える。
【先行技術文献】
【特許文献】
【0003】
特許5844970号公報
【発明の概要】
【発明が解決しようとする課題】
【0004】
狭所での作業に向けたアングルインパクト工具に用いるには、ギヤやベアリングが設けられる部分の小型化が求められる。また、モータ軸と出力軸とを非平行にするためにベベルギヤを用いる場合、ベベルギヤでは、回転力の伝達に伴いスラスト荷重が発生する場合があり、ベベルギヤを適切に保持することが求められる。
【0005】
本明細書で開示する技術は、アングルインパクト工具において、ギヤ部の小型化を図ることを目的とする。また、本明細書で開示する技術は、アングルインパクト工具において、ベベルギヤを適切に保持することを目的とする。
【課題を解決するための手段】
【0006】
本明細書は、インパクト工具を開示する。インパクト工具は、前後方向に延びるグリップ部と、グリップ部の前方に配置されるモータハウジング部と、モータハウジング部の内部に配置され、ステータ及びステータに対して回転可能なロータを有する、モータと、ロータと一体回転し、前後方向に延びる軸を有するベベルギヤと、ベベルギヤを介して直接又は間接に回転され、前後方向と交わる方向に延びるスピンドルと、スピンドルにより回転されるハンマと、ハンマにより回転方向に、直接又は間接に打撃されるアンビルと、アンビルの下端に配置される先端工具保持部と、ベベルギヤ、スピンドル及びハンマを収容するハンマケースと、ハンマケースに保持され、ベベルギヤを回転可能に保持するベアリングと、を備えてもよい。
【発明の効果】
【0007】
上記の構成によれば、アングルインパクト工具において、ギヤ部の小型化を図ることができる。
【図面の簡単な説明】
【0008】
図1は、実施形態に係るインパクト工具を示す斜視図である。
図2は、実施形態に係るインパクト工具を示す側面図である。
図3は、実施形態に係るインパクト工具を示す下面図である。
図4は、実施形態に係るインパクト工具を示す縦断面図である。
図5は、実施形態に係るインパクト工具のモータハウジング部を示す縦断面図である。
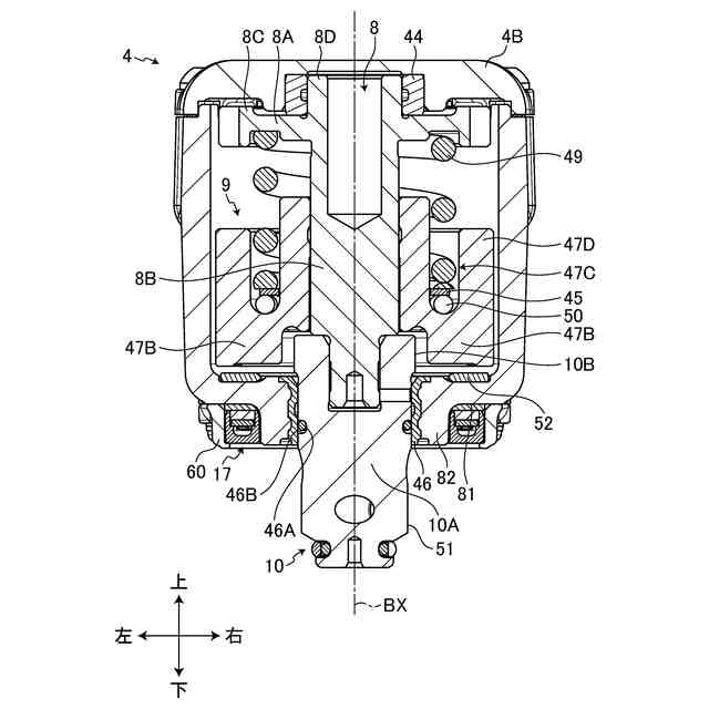
図6は、実施形態に係るインパクト工具のハンマケースを示す縦断面図である。
図7は、実施形態に係るインパクト工具のアンビルに沿った左右方向の断面図である。
図8は、実施形態に係る操作パネルを示す斜視図である。
図9は、実施形態に係るバッテリ保持部へのバッテリパックの装着を示す模式図である。
図10は、実施形態に係るライトユニットを示す前後方向に沿った縦断面図である。
図11は、実施形態に係るライトユニットの構造を示す分解斜視図である。
図12は、実施形態に係るインパクト工具の前部を示す下方からの斜視図である。
図13は、実施形態に係るハンマケースへのライトカバーの装着を示す下方からの分解斜視図である。
図14は、実施形態に係るハンマケースを示す下方からの斜視図である。
図15は、ライトカバーを取り外した状態のハンマケースの下面図である。
図16は、ライトカバーを示した斜視図である。
図17は、実施形態に係るインパクト工具のベベルギヤの周辺を示す縦断面図である。
図18は、実施形態に係るハンマケースの後面を示す分解斜視図である。
図19は、実施形態に係るモータハウジング部の前面を示す分解斜視図である。
図20は、実施形態に係るベベルギヤ、ベアリングおよび中間支持部材を示す分解斜視図である。
図21は、実施形態に係る中間支持部材を示す縦断面図である。
図22は、実施形態に係るロータのサブアセンブリを示す分解斜視図である。
図23は、第2実施形態に係る中間支持部材を示す斜視図である。
図24は、第2実施形態に係るモータのサブアセンブリを示す分解斜視図である。
図25は、第3実施形態に係る中間支持部材を示す断面図である。
図26は、第4実施形態に係る中間支持部材を示す断面図である。
図27は、第4実施形態に係る中間支持部材の周辺を示す縦断面図である。
図28は、第5実施形態に係る中間支持部材及び固定部材を示す縦断面図である。
図29は、第6実施形態に係るインパクト工具の前部を示す縦断面図である。
【発明を実施するための形態】
【0009】
1つ又はそれ以上の実施形態において、インパクト工具は、前後方向に延びるグリップ部と、グリップ部の前方に配置されるモータハウジング部と、モータハウジング部の内部に配置され、ステータ及びステータに対して回転可能なロータを有する、モータと、ロータと一体回転し、前後方向に延びる軸を有するベベルギヤと、ベベルギヤを介して直接又は間接に回転され、前後方向と交わる方向に延びるスピンドルと、スピンドルにより回転されるハンマと、ハンマにより回転方向に、直接又は間接に打撃されるアンビルと、アンビルの下端に配置される先端工具保持部と、ベベルギヤ、スピンドル及びハンマを収容するハンマケースと、ハンマケースに保持され、ベベルギヤを回転可能に保持するベアリングと、を備えてもよい。
【0010】
上記の構成では、ロータと一体回転するベベルギヤを回転可能に保持するベアリングを、ベベルギヤと共にハンマケースに保持させることができる。ヘアリング専用のケースやブラケットのような保持部材をハンマケースとは別個に設けなくてよいので、専用のベアリング保持部材を設けなくてよい分、インパクト工具のギヤ部の小型化を図ることができる。
(【0011】以降は省略されています)
特許ウォッチbot のツイートを見る
この特許をJ-PlatPat(特許庁公式サイト)で参照する
関連特許
株式会社マキタ
作業機
1か月前
株式会社マキタ
電動工具
20日前
株式会社マキタ
電動作業機
今日
株式会社マキタ
鉄筋結束機
1か月前
株式会社マキタ
電動作業機
1か月前
株式会社マキタ
現場用作業機
1か月前
株式会社マキタ
ハンマドリル
1か月前
株式会社マキタ
ハンマドリル
1か月前
株式会社マキタ
回転打撃工具
2か月前
株式会社マキタ
インパクト工具
1か月前
株式会社マキタ
集塵アタッチメント
12日前
株式会社マキタ
スクラバードライヤー
20日前
株式会社マキタ
充電器及び充電システム
1か月前
株式会社マキタ
フレア形成装置及びフレア形成工具
2か月前
株式会社マキタ
インパクト工具及びインパクトレンチ
1か月前
株式会社マキタ
往復動工具、及び、往復動工具の電動モータを制御する方法
5日前
株式会社マキタ
現場用機器における光学表示器の内部に回路基板を固定する技術
1か月前
株式会社マキタ
往復動工具、及び、往復動工具における電動モータを制御する方法
5日前
株式会社マキタ
往復動工具、及び、往復動工具における電動モータの通電を保持する方法
5日前
株式会社マキタ
往復動工具、及び、往復動工具における往復部材の位置検出に関連する不具合の発生を検出する方法
5日前
個人
フラワーホッチキス。
1か月前
個人
手持ち挟持具
1か月前
川崎重工業株式会社
ロボット
2か月前
トヨタ自動車株式会社
学習装置
20日前
株式会社不二越
ロボット
2か月前
株式会社竹中工務店
補助セット
2か月前
CKD株式会社
把持装置
5日前
川崎重工業株式会社
ハンド
2か月前
ダイセイ株式会社
ロボット自動刻印装置
5日前
株式会社マキタ
ハンマドリル
1か月前
株式会社マキタ
ハンマドリル
1か月前
トヨタ自動車株式会社
ロボット
2か月前
瓜生製作株式会社
電動締付工具
13日前
株式会社不二越
移動ロボットシステム
2か月前
工機ホールディングス株式会社
作業機
2か月前
株式会社安川電機
ロボット
1か月前
続きを見る
他の特許を見る