TOP
|
特許
|
意匠
|
商標
特許ウォッチ
Twitter
他の特許を見る
公開番号
2025143126
公報種別
公開特許公報(A)
公開日
2025-10-01
出願番号
2024042881
出願日
2024-03-18
発明の名称
ロボット
出願人
川崎重工業株式会社
代理人
個人
主分類
B25J
17/00 20060101AFI20250924BHJP(手工具;可搬型動力工具;手工具用の柄;作業場設備;マニプレータ)
要約
【課題】回転伝達機構から漏れた潤滑剤がさらに外側に漏れるのを抑制することが可能なロボットを提供する。
【解決手段】このロボット100は、回転部42の回転軸線CL方向における第1シール部材71と第2シール部材74との間に配置され、回転伝達機構40から漏れた潤滑剤の第2シール部材74への到達を遅らせるように潤滑剤を貯留する環状の潤滑剤貯留部80を備える。
【選択図】図3
特許請求の範囲
【請求項1】
複数のアーム部と、前記アーム部同士を接続する関節部と、を含むロボットアームと、
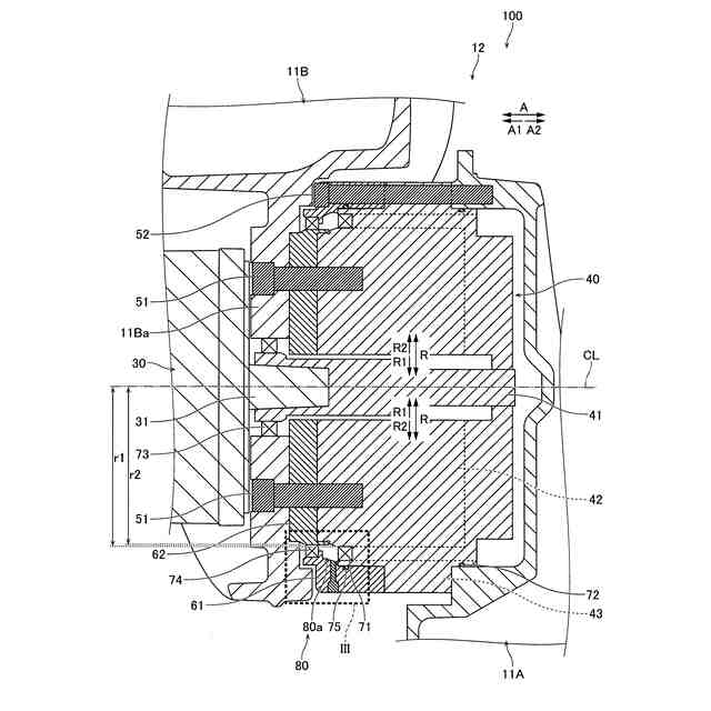
前記関節部に配置され、固定部と、前記固定部に対して回転軸線周りに回転する回転部と、前記固定部と前記回転部との間に配置され、潤滑剤を内部に封止する環状の第1シール部材と、を含む回転伝達機構と、
前記回転伝達機構の外側に、かつ、前記回転部の前記回転軸線方向における前記第1シール部材の一方側に配置された環状の第2シール部材と、
前記回転部の前記回転軸線方向における前記第1シール部材と前記第2シール部材との間に配置され、前記回転伝達機構から漏れた前記潤滑剤の前記第2シール部材への到達を遅らせるように前記潤滑剤を貯留する環状の潤滑剤貯留部と、を備える、ロボット。
続きを表示(約 1,100 文字)
【請求項2】
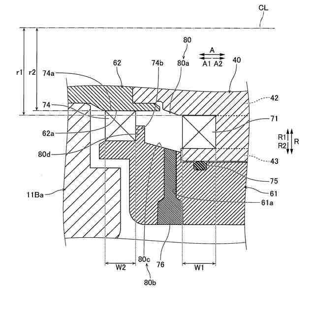
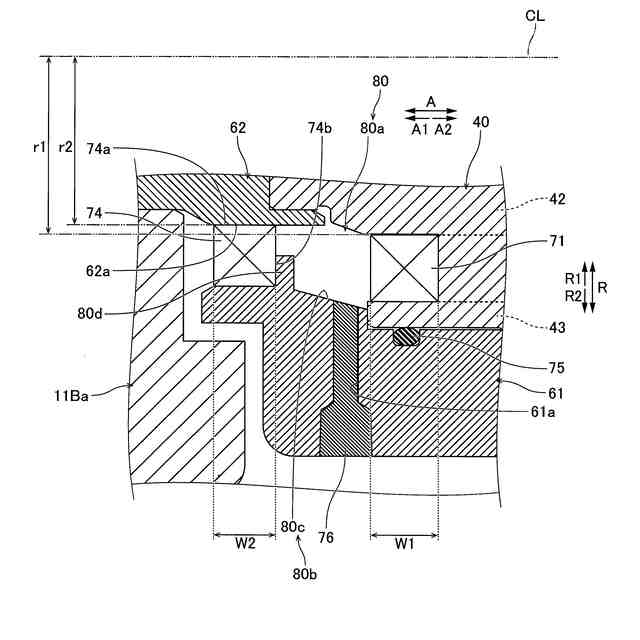
前記潤滑剤貯留部は、前記第2シール部材のうちの前記第1シール部材側の部分を覆うように突出する環状の隔壁部を含む、請求項1に記載のロボット。
【請求項3】
前記潤滑剤貯留部のうちの前記回転部の前記回転軸線方向が水平方向に沿った方向である場合に前記潤滑剤貯留部の底面となる面は、前記第1シール部材側から前記第2シール部材側に向かうにしたがって、前記回転軸線側に向かうように傾斜している、請求項1に記載のロボット。
【請求項4】
前記潤滑剤貯留部に接続され、通常時は閉鎖されるとともに、前記潤滑剤貯留部に貯留された前記潤滑剤を前記潤滑剤貯留部から排出する場合に開放される潤滑剤排出孔を備える、請求項1に記載のロボット。
【請求項5】
前記潤滑剤貯留部を構成するように前記回転伝達機構の外側に配置されるとともに、前記潤滑剤排出孔が形成された環状のハウジング部材を備える、請求項4に記載のロボット。
【請求項6】
前記潤滑剤排出孔は、前記回転部の前記回転軸線方向が水平方向に沿った方向である場合に、環状の前記潤滑剤貯留部の下端部に配置されている、請求項4に記載のロボット。
【請求項7】
前記潤滑剤貯留部のうちの前記回転部の前記回転軸線方向が水平方向に沿った方向である場合に前記潤滑剤貯留部の底面となる面は、前記第1シール部材側から前記第2シール部材側に向かうにしたがって、前記回転軸線側に向かうように傾斜しており、
前記潤滑剤排出孔は、前記潤滑剤貯留部のうちの前記回転部の前記回転軸線方向が水平方向に沿った方向である場合に前記潤滑剤貯留部の前記底面となる面において、前記第2シール部材よりも前記第1シール部材に近い位置に形成されている、請求項6に記載のロボット。
【請求項8】
前記回転部に固定され、前記第2シール部材の内周面と接触する外周面を有する回転部材を備え、
前記回転部の前記回転軸線方向において、前記第2シール部材の幅は、前記第1シール部材の幅よりも小さい、請求項1に記載のロボット。
【請求項9】
前記回転部に固定され、前記第2シール部材の内周面と接触する外周面を有する環状の回転部材を備え、
前記第2シール部材の内径は、前記第1シール部材の内径よりも小さい、請求項1に記載のロボット。
【請求項10】
前記第2シール部材は、前記関節部の外部への前記潤滑剤の漏れを封止する、請求項1に記載のロボット。
(【請求項11】以降は省略されています)
発明の詳細な説明
【技術分野】
【0001】
この開示は、ロボットに関する。
続きを表示(約 1,600 文字)
【背景技術】
【0002】
従来、ロボットアームの関節部に配置された回転伝達機構を備えるロボットが知られている。たとえば、特許文献1には、ロボットアームの関節部に配置され、潤滑剤を内部に封止する環状の第1シール部材を含む回転伝達機構と、回転伝達機構の外側に、かつ、回転伝達機構の回転部の径方向における第1シール部材の外側に配置された環状の第2シール部材と、を備えるロボットが開示されている。特許文献1に記載されているロボットでは、回転部の回転軸線方向が水平方向に沿った方向である場合に、第1シール部材を通過した潤滑剤は、一方側の端部および他方側の端部が、それぞれ、第1シール部材および第2シール部材と隣接した空間を介して、第2シール部材に直ぐに到達しやすい。
【先行技術文献】
【特許文献】
【0003】
特開2001-254787号公報
【発明の概要】
【発明が解決しようとする課題】
【0004】
しかしながら、上記特許文献1に記載されているロボットでは、第1シール部材を通過した潤滑剤は、一方側の端部および他方側の端部が、それぞれ、第1シール部材および第2シール部材と隣接した空間を介して、第2シール部材に直ぐに到達しやすいので、回転伝達機構から漏れた潤滑剤が第2シール部材からさらに外側に漏れやすい。このため、回転伝達機構から漏れた潤滑剤がさらに外側に漏れるのを抑制することが可能なロボットが望まれている。
【0005】
この開示は、上記のような課題を解決するためになされたものであり、この開示の1つの目的は、回転伝達機構から漏れた潤滑剤がさらに外側に漏れるのを抑制することが可能なロボットを提供することである。
【課題を解決するための手段】
【0006】
上記目的を達成するために、この開示の一の局面によるロボットは、複数のアーム部と、アーム部同士を接続する関節部と、を含むロボットアームと、関節部に配置され、固定部と、固定部に対して回転する回転部と、固定部と回転部との間に配置され、潤滑剤を内部に封止する環状の第1シール部材と、を含む回転伝達機構と、回転伝達機構の外側に、かつ、回転部の回転軸線方向における第1シール部材の一方側に配置された環状の第2シール部材と、回転部の回転軸線方向における第1シール部材と第2シール部材との間に配置され、回転伝達機構から漏れた潤滑剤の第2シール部材への到達を遅らせるように潤滑剤を貯留する環状の潤滑剤貯留部と、を備える。
【0007】
この開示の一の局面によるロボットは、上記のように、回転部の回転軸線方向における第1シール部材と第2シール部材との間に配置され、回転伝達機構から漏れた潤滑剤の第2シール部材への到達を遅らせるように潤滑剤を貯留する環状の潤滑剤貯留部を備える。これにより、潤滑剤貯留部により、回転伝達機構から漏れた潤滑剤を貯留して第2シール部材への到達を遅らせることができる。その結果、回転伝達機構から漏れた潤滑剤がさらに外側に漏れるのを抑制できる。
【発明の効果】
【0008】
本開示によれば、上記のように、回転伝達機構から漏れた潤滑剤がさらに外側に漏れるのを抑制することが可能なロボットを提供できる。
【図面の簡単な説明】
【0009】
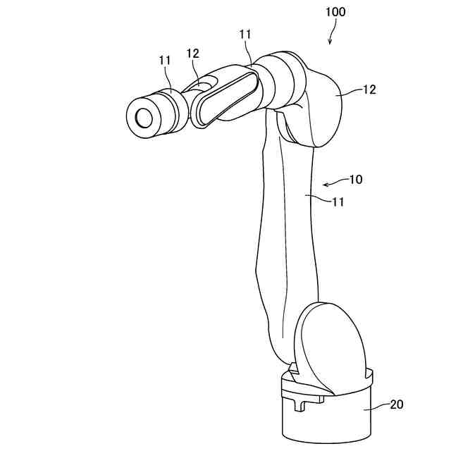
本開示の一実施形態によるロボットを示した斜視図である。
本開示の一実施形態によるロボットの関節部を示した断面図である。
図2の部分IIIの拡大図である。
【発明を実施するための形態】
【0010】
以下、本開示を具体化した実施形態を図面に基づいて説明する。
(【0011】以降は省略されています)
この特許をJ-PlatPat(特許庁公式サイト)で参照する
関連特許
川崎重工業株式会社
断熱配管
1か月前
川崎重工業株式会社
水中構造体
12日前
川崎重工業株式会社
遠心式ターボ機械
11日前
川崎重工業株式会社
ダイクッション装置
11日前
川崎重工業株式会社
ワーク搬送ロボット
1か月前
川崎重工業株式会社
廃棄物処理システム
24日前
川崎重工業株式会社
多段遠心ターボ機械
17日前
川崎重工業株式会社
バーナおよび燃焼器
12日前
川崎重工業株式会社
ガスタービンエンジン
13日前
川崎重工業株式会社
多段ラジアルタービン
3日前
川崎重工業株式会社
航空機の電気機械システム
13日前
川崎重工業株式会社
支援システムおよび支援方法
1か月前
川崎重工業株式会社
クローズドインペラの製造方法
14日前
川崎重工業株式会社
経路作成方法及び経路作成装置
1か月前
川崎重工業株式会社
付加製造方法及び付加製造装置
11日前
川崎重工業株式会社
付加製造方法及び付加製造装置
11日前
川崎重工業株式会社
熱交換器の製造方法及び熱交換器
11日前
川崎重工業株式会社
アンモニア回収システム及び方法
1か月前
横浜ゴム株式会社
多層空洞音響材
3日前
川崎重工業株式会社
手術支援システムおよび手術支援方法
1か月前
川崎重工業株式会社
多段遠心圧縮機および圧縮機システム
11日前
川崎重工業株式会社
ロボットハンドおよびロボットシステム
1か月前
川崎重工業株式会社
廃棄物処理システムおよび廃棄物用振動装置
13日前
川崎重工業株式会社
ワーク搬送ロボットおよびロボット制御方法
1か月前
川崎重工業株式会社
手術支援システム、手術支援方法および情報提供方法
1か月前
川崎重工業株式会社
船舶の推進システム、制御プログラムおよび制御方法
1か月前
川崎重工業株式会社
ポペット弁装置、及びそれを備える液圧駆動システム
27日前
川崎重工業株式会社
二酸化炭素排出システム及び方法、並びに水中航走体
6日前
川崎重工業株式会社
基板搬送ロボットおよび基板搬送ロボットの制御方法
11日前
川崎重工業株式会社
ワーク搬送ロボットおよびワーク搬送ロボットの制御方法
1か月前
川崎重工業株式会社
ロボット
5日前
川崎重工業株式会社
レーダ反射断面積切換装置及びレーダ反射断面積切換方法
11日前
川崎重工業株式会社
学習済モデルの構築方法
10日前
川崎重工業株式会社
水素航空機の燃料供給システム
19日前
横浜ゴム株式会社
水中音響材の被取り付け面への取り付け構造および水中音響材
3日前
川崎重工業株式会社
摩擦攪拌ツールの制御方法及び摩擦攪拌装置
27日前
続きを見る
他の特許を見る