TOP
|
特許
|
意匠
|
商標
特許ウォッチ
Twitter
他の特許を見る
10個以上の画像は省略されています。
公開番号
2025164078
公報種別
公開特許公報(A)
公開日
2025-10-30
出願番号
2024067839
出願日
2024-04-18
発明の名称
付加製造方法及び付加製造装置
出願人
川崎重工業株式会社
代理人
個人
,
個人
主分類
B22F
10/366 20210101AFI20251023BHJP(鋳造;粉末冶金)
要約
【課題】付加製造において精度及び生産性を向上させる。
【解決手段】付加製造方法は、複数のビームb1,b2を生成することと、粉末床19上に複数のビームb1,b2を共通のスキャナ4によって走査させることによって粉末床19の原料粉末を固化させることと、複数のビームb1,b2の並ぶ方向S1を複数のビームb2,b2の走査に連動させてスキャナ4の上流側で調節することによって粉末床19上での複数のビームb1,b2の複数の照射点p1,p2の並ぶ方向S2を調節することとを含む。
【選択図】図1
特許請求の範囲
【請求項1】
複数のビームを生成することと、
粉末床上に前記複数のビームを共通のスキャナによって走査させることによって前記粉末床の原料粉末を固化させることと、
前記複数のビームの並ぶ方向を前記複数のビームの走査に連動させて前記スキャナの上流側で調節することによって前記粉末床上での前記複数のビームの複数の照射点の並ぶ方向を調節することとを含む付加製造方法。
続きを表示(約 1,500 文字)
【請求項2】
請求項1に記載の付加製造方法において、
前記複数のビームの並ぶ方向を調節することにおいては、前記複数のビームの走査方向に対する前記複数の照射点の並ぶ方向の角度が一定となるように、前記複数のビームの並ぶ方向を前記複数のビームの走査に連動させて調節する付加製造方法。
【請求項3】
請求項2に記載の付加製造方法において、
前記複数のビームの並ぶ方向を調節することにおいては、前記複数のビームの走査方向に対する前記複数の照射点の並ぶ方向の角度が直角となるように、前記複数のビームの並ぶ方向を前記複数のビームの走査に連動させて調節する付加製造方法。
【請求項4】
請求項1に記載の付加製造方法において、
前記複数のビームの並ぶ方向を調節することにおいては、複数の照射点の一方が通った軌跡上を複数の照射点のもう一方が通るように、前記複数のビームの並ぶ方向を前記複数のビームの走査に連動させて調節する付加製造方法。
【請求項5】
請求項1に記載の付加製造方法において、
前記粉末床の表面に沿った不活性ガスの気流を生成することをさらに含み、
前記複数のビームの並ぶ方向を調節することにおいては、前記複数のビームの走査方向が前記不活性ガスの流れ方向と交差する場合、前記複数の照射点のうち前記流れ方向の下流側に位置する照射点を前記流れ方向の上流側に位置する照射点よりも前記走査方向において先行するように、前記複数のビームの並ぶ方向を前記複数のビームの走査に連動させて調節する付加製造方法。
【請求項6】
請求項1に記載の付加製造方法において、
前記複数のビームの並ぶ方向を調節することにおいては、複数のビームを生成するビーム生成器を前記複数のビームと平行な回転軸回りに回転させることによって、前記複数のビームの並ぶ方向を調節する付加製造方法。
【請求項7】
複数のビームを生成するビーム生成器と、
原料粉末によって構成される粉末床を支持するプラットフォームと、
前記ビーム生成器からの前記複数のビームを前記粉末床上に走査させる共通のスキャナと、
前記ビーム生成器及び前記スキャナを制御する制御装置とを備え、
前記ビーム生成器は、前記複数のビームの並ぶ方向を前記スキャナの上流側で変更可能に構成されており、
前記制御装置は、前記複数のビームの並ぶ方向を前記スキャナによる前記複数のビームの走査に連動させて調節することによって前記粉末床上での前記複数のビームの複数の照射点の並ぶ方向を調節する付加製造装置。
【請求項8】
請求項7に記載の付加製造装置において、
前記制御装置は、前記複数のビームの走査方向に対する前記複数の照射点の並ぶ方向の角度が一定となるように、前記複数のビームの並ぶ方向を前記スキャナに連動させて調節する付加製造装置。
【請求項9】
請求項8に記載の付加製造装置において、
前記制御装置は、前記複数のビームの走査方向に対する前記複数の照射点の並ぶ方向の角度が直角となるように、前記複数のビームの並ぶ方向を前記スキャナに連動させて調節する付加製造装置。
【請求項10】
請求項7に記載の付加製造装置において、
前記制御装置は、複数の照射点の一方が通った軌跡上を複数の照射点のもう一方が通るように、前記複数のビームの並ぶ方向を前記スキャナに連動させて調節する付加製造装置。
(【請求項11】以降は省略されています)
発明の詳細な説明
【技術分野】
【0001】
ここに開示された技術は、付加製造方法及び付加製造装置に関する。
続きを表示(約 1,500 文字)
【背景技術】
【0002】
従来より、三次元造形物を製造する付加製造技術が知られている。例えば、特許文献1には、照射ヘッドからビームを造形平面に照射し、造形平面の原料粉末を固化させる技術が開示されている。
【先行技術文献】
【特許文献】
【0003】
特開2019-072993号公報
【発明の概要】
【発明が解決しようとする課題】
【0004】
前述の付加製造技術では、微細な構造を柔軟に製造できる。その反面、微細な構造が少しずつ製造されるため生産性の向上が求められる。また、微細な製造であるが故に、高い精度も要求される。
【0005】
ここに開示された技術は、かかる点に鑑みてなされたものであり、その目的とするところは、付加製造において精度及び生産性を向上させることにある。
【課題を解決するための手段】
【0006】
本開示の付加製造方法は、複数のビームを生成することと、粉末床上に前記複数のビームを共通のスキャナによって走査させることによって前記粉末床の原料粉末を固化させることと、前記複数のビームの並ぶ方向を前記複数のビームの走査に連動させて前記スキャナの上流側で調節することによって前記粉末床上での前記複数のビームの複数の照射点の並ぶ方向を調節することとを含む。
【0007】
本開示の付加製造装置は、複数のビームを生成するビーム生成器と、原料粉末によって構成される粉末床を支持するプラットフォームと、前記ビーム生成器からの前記複数のビームを前記粉末床上に走査させる共通のスキャナと、前記ビーム生成器及び前記スキャナを制御する制御装置とを備え、前記ビーム生成器は、前記複数のビームの並ぶ方向を前記スキャナの上流側で変更可能に構成されており、前記制御装置は、前記複数のビームの並ぶ方向を前記スキャナによる前記複数のビームの走査に連動させて調節することによって前記粉末床上での前記複数のビームの複数の照射点の並ぶ方向を調節する。
【発明の効果】
【0008】
前記付加製造方法によれば、付加製造において精度及び生産性を向上させることができる。
【0009】
前記付加製造装置によれば、付加製造において精度及び生産性を向上させることができる。
【図面の簡単な説明】
【0010】
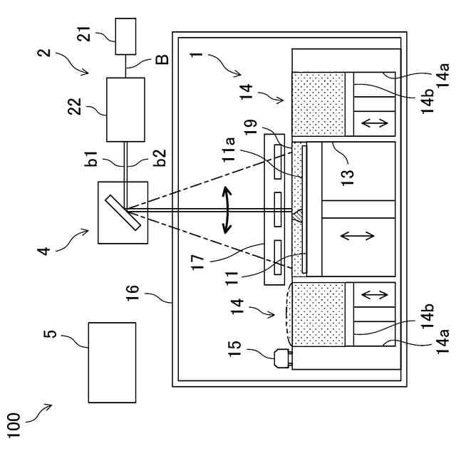
図1は、付加製造装置の構成を示す模式図である。
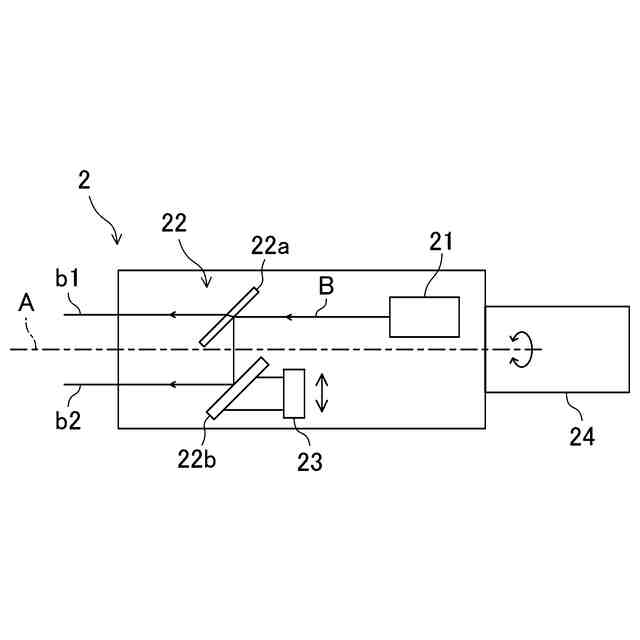
図2は、ビーム生成器の模式図である。
図3は、複数のビームのうちの一のビームに直交する面内における複数のビームの位置を示す模式図である。
図4は、スキャナの模式図である。
図5は、粉末床における複数の照射点の位置を示す模式図である。
図6は、制御装置の概略的なハードウェア構成を示す図である。
図7は、処理器の制御系統の構成を示すブロック図である。
図8は、粉末床の表面における複数のビームの走査を説明するための模式図である。
図9は、複数のビームが重なっている場合の複数の照射点の軌跡を説明するための模式図である。
図10は、同じ軌跡上を通る複数のビームによる走査を説明するための模式図である。
図11は、不活性ガスの気流が存在する粉末床の表面における複数のビームの走査を説明するための模式図である。
図12は、変形例に係る付加製造装置の構成を示す模式図である。
【発明を実施するための形態】
(【0011】以降は省略されています)
この特許をJ-PlatPat(特許庁公式サイト)で参照する
関連特許
川崎重工業株式会社
ハンド
1か月前
川崎重工業株式会社
断熱配管
1か月前
川崎重工業株式会社
水中構造体
11日前
川崎重工業株式会社
塗装システム
1か月前
川崎重工業株式会社
監視システム
1か月前
川崎重工業株式会社
配管の支持構造
1か月前
川崎重工業株式会社
ロボットシステム
1か月前
川崎重工業株式会社
ロボットシステム
1か月前
川崎重工業株式会社
遠心式ターボ機械
10日前
川崎重工業株式会社
バーナおよび燃焼器
11日前
川崎重工業株式会社
多段遠心ターボ機械
16日前
川崎重工業株式会社
ワーク搬送ロボット
1か月前
川崎重工業株式会社
ダイクッション装置
10日前
川崎重工業株式会社
廃棄物処理システム
23日前
川崎重工業株式会社
ガスタービンエンジン
12日前
川崎重工業株式会社
極低温流体用配管設備
1か月前
川崎重工業株式会社
多段ラジアルタービン
2日前
川崎重工業株式会社
ロボットの診断システム
1か月前
川崎重工業株式会社
航空機の電気機械システム
12日前
株式会社キッツ
逆流防止弁
1か月前
川崎重工業株式会社
支援システムおよび支援方法
1か月前
川崎重工業株式会社
付加製造方法及び付加製造装置
10日前
川崎重工業株式会社
クローズドインペラの製造方法
13日前
川崎重工業株式会社
経路作成方法及び経路作成装置
1か月前
川崎重工業株式会社
付加製造方法及び付加製造装置
10日前
川崎重工業株式会社
熱交換器の製造方法及び熱交換器
10日前
川崎重工業株式会社
アンモニア回収システム及び方法
1か月前
横浜ゴム株式会社
多層空洞音響材
2日前
川崎重工業株式会社
配管の接続構造および配管システム
1か月前
川崎重工業株式会社
ロボットシステム及びその動作方法
1か月前
川崎重工業株式会社
多段遠心圧縮機および圧縮機システム
10日前
川崎重工業株式会社
手術支援システムおよび手術支援方法
1か月前
川崎重工業株式会社
ロボットハンドおよびロボットシステム
1か月前
川崎重工業株式会社
手術ロボットシステムおよびその制御方法
1か月前
川崎重工業株式会社
手術ロボットシステムおよびその制御方法
1か月前
川崎重工業株式会社
手術ロボットシステムおよびその制御方法
1か月前
続きを見る
他の特許を見る