TOP
|
特許
|
意匠
|
商標
特許ウォッチ
Twitter
他の特許を見る
公開番号
2025163523
公報種別
公開特許公報(A)
公開日
2025-10-29
出願番号
2024066864
出願日
2024-04-17
発明の名称
バーナおよび燃焼器
出願人
川崎重工業株式会社
代理人
弁理士法人有古特許事務所
主分類
F23D
14/02 20060101AFI20251022BHJP(燃焼装置;燃焼方法)
要約
【課題】筒体内へのフラッシュバックを防止しつつ噴射口での予混合度を十分とすることができるバーナを提供する。
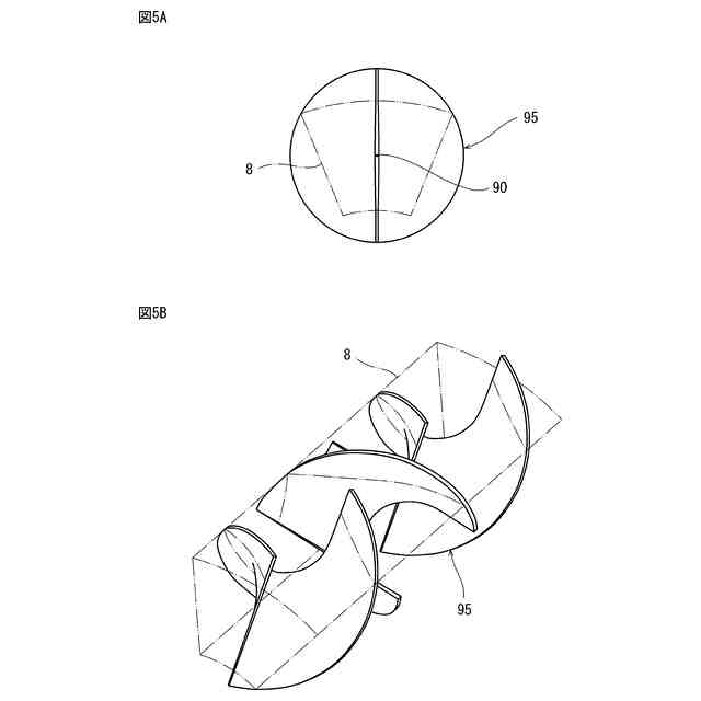
【解決手段】一実施形態に係るバーナ3は、ガス燃料と空気の混合気を燃焼させて火炎を生成するためのものであり、周方向に並ぶ複数の混合流路8を含む予混合ゾーン40を囲む筒体4Aを含む。筒体4Aは、前記混合気の噴射口41を形成する。さらに、バーナ3は、混合流路8にそれぞれ配置された、前記ガス燃料と前記空気を混合する複数のスタティックミキサ9を含む。
【選択図】図2
特許請求の範囲
【請求項1】
ガス燃料と空気の混合気を燃焼させて火炎を生成するためのバーナであって、
周方向に並ぶ複数の混合流路を含む予混合ゾーンを囲む、前記混合気の噴射口を形成する筒体と、
前記複数の混合流路にそれぞれ配置された、前記ガス燃料と前記空気を混合する複数のスタティックミキサと、
を備えるバーナ。
続きを表示(約 1,400 文字)
【請求項2】
前記筒体の中心に位置する軸体と、
前記軸体と前記筒体の間の空間を前記複数の混合流路に仕切る複数の隔壁と、をさらに備え、
前記複数の混合流路のそれぞれの断面形状は扇形である、請求項1に記載のバーナ。
【請求項3】
前記軸体から前記噴射口と反対側に向かって延びる、燃料導入室を形成する燃料導入体と、
前記筒体の軸方向から見たときに隣り合う隔壁の中央を通るように前記燃料導入体から放射状に突出する複数の燃料分配チューブと、をさらに備え、
前記複数の燃料分配チューブのそれぞれは、複数の燃料噴射孔を含む、請求項2に記載のバーナ。
【請求項4】
前記複数の燃料分配チューブのそれぞれにおいて、前記複数の燃料噴射孔のうち前記燃料導入体から最も遠い燃料噴射孔の直径は、前記燃料導入体に最も近い燃料噴射孔の直径よりも大きい、請求項3に記載のバーナ。
【請求項5】
前記複数の燃料分配チューブのそれぞれの断面形状は、前記筒体の軸方向の長さが前記筒体の周方向の幅よりも長い形状である、請求項3または4に記載のバーナ。
【請求項6】
前記複数のスタティックミキサのそれぞれは、捻じれ方向が交互に反転する複数の羽根を含み、
前記複数のスタティックミキサで前記複数の羽根の捻じれ方は同じである、請求項1乃至4の何れか一項に記載のバーナ。
【請求項7】
前記複数の羽根のうちの上流側から1段目以外の羽根は、上流側の羽根の捻じれ中心に向かって尖っている、請求項6に記載のバーナ。
【請求項8】
前記複数の羽根のそれぞれの捻じれ角度は180度であり、
前記複数の羽根のうちの上流側から1段目の羽根は、前記筒体の径方向に延びる前縁を有し、前記複数の羽根のうちの上流側から2段目の羽根は、前記筒体の径方向と直交する後縁を有し、前記複数の羽根のうちの上流側から3段目の羽根は、前記筒体の径方向に延びる後縁を有する、請求項6に記載のバーナ。
【請求項9】
前記複数のスタティックミキサのそれぞれは、捻じれ方向が交互に反転する複数の羽根を含み、
前記複数の羽根のうちの上流側から1段目以外の羽根は、上流側の羽根の捻じれ中心に向かって尖っており、
前記複数の羽根のそれぞれの捻じれ角度は180度であり、
前記複数の羽根のうちの上流側から1段目の羽根は、前記筒体の径方向に延びる前縁を有し、前記複数の羽根のうちの上流側から2段目の羽根は、前記筒体の径方向と直交する後縁を有し、前記複数の羽根のうちの上流側から3段目の羽根は、前記筒体の径方向に延びる後縁を有し、
前記複数の燃料分配チューブのそれぞれの前記複数の燃料噴射孔は、前記1段目の羽根の前縁の外側端が捩れる方向に向かって燃料を噴射する複数の第1燃料噴射孔と、前記1段目の羽根の前縁の内側端が捩れる方向に向かって燃料を噴射する複数の第2燃料噴射孔を含み、
前記複数の第2燃料噴射孔は、対応する燃料分配チューブの中央よりも内側の領域にあり、
前記複数の第1燃料噴射孔のうちの少なくとも1つは、対応する燃料分配チューブの中央よりも外側の領域にある、請求項3に記載のバーナ。
【請求項10】
前記筒体は、前記噴射口に向かって縮径する、請求項1乃至4の何れか一項に記載のバーナ。
(【請求項11】以降は省略されています)
発明の詳細な説明
【技術分野】
【0001】
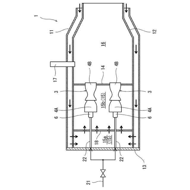
本開示は、火炎を生成するためのバーナ、および前記バーナを含む燃焼器に関する。
続きを表示(約 1,000 文字)
【背景技術】
【0002】
従来から、ガス燃料と空気の混合気を燃焼させて火炎を生成するためのバーナが知られている。例えば、特許文献1には、ガスタービンの燃焼器に用いられるバーナが開示されている。なお、特許文献1ではバーナが「燃料ノズル」と呼ばれている。
【0003】
具体的に、特許文献1のバーナは、筒体と、筒体の中心に位置する軸体と、前記軸体から放射状に突出する複数の旋回羽根を含む。各旋回羽根には複数の燃料噴射孔が形成されており、旋回羽根により燃料と空気の混合気の旋回流が形成される。
【0004】
さらに、特許文献1のバーナでは、筒体によって形成される噴射口において旋回流の渦心に燃料が滞留することで生じるフラッシュバックを防止するために流路形成筒が採用されている。
【0005】
前記流路形成筒は、前記複数の旋回羽根に貫通され、前記筒体との間に前記旋回流用の流路を形成するとともに、前記軸体との間に空気用の流路を形成する。流路形成筒と軸体の間の流路を通じて旋回流の渦心に空気が供給されることで、フラッシュバックが防止される。
【先行技術文献】
【特許文献】
【0006】
特開2018-189288号公報
【発明の概要】
【発明が解決しようとする課題】
【0007】
しかしながら、特許文献1のバーナでは噴射口での混合気中の燃料濃度分布が均一となり難く、噴射口での予混合度が不十分となるおそれがある。
【0008】
そこで、本開示は、筒体内へのフラッシュバックを防止しつつ噴射口での予混合度を十分とすることができるバーナ、および前記バーナを含む燃焼器を提供することを目的とする。
【課題を解決するための手段】
【0009】
本開示は、一つの側面から、ガス燃料と空気の混合気を燃焼させて火炎を生成するためのバーナであって、周方向に並ぶ複数の混合流路を含む予混合ゾーンを囲む、前記混合気の噴射口を形成する筒体と、前記複数の混合流路にそれぞれ配置された、前記ガス燃料と前記空気を混合する複数のスタティックミキサと、を備えるバーナを提供する。
【0010】
本開示は、別の側面から、上記のバーナを複数備える燃焼器を提供する。
【発明の効果】
(【0011】以降は省略されています)
この特許をJ-PlatPat(特許庁公式サイト)で参照する
関連特許
個人
燃焼炉の操業方法
3か月前
個人
固形燃料ストーブ
1か月前
個人
煙突煤払い掃除機
4か月前
個人
ウッドガスストーブ
2か月前
個人
形見の製造方法
2か月前
コーキ株式会社
煙突
2か月前
株式会社トヨトミ
石油燃焼器
2か月前
株式会社パロマ
燃焼装置
5か月前
株式会社豊田自動織機
耐熱部材
2か月前
タイム技研株式会社
流体混合装置
4日前
株式会社トヨトミ
固体燃料燃焼器
6か月前
個人
有機物酸化分解資源化装置
18日前
株式会社サイトウ工研
焚き火台
1か月前
三浦工業株式会社
ボイラ
6か月前
株式会社フクハラ
充填物処理方法
5か月前
個人
回転キルンを利用した燻炭製造方法
5か月前
東京パイプ株式会社
着火器具
4か月前
株式会社タクマ
付着物除去システム
5か月前
三浦工業株式会社
燃焼システム
1か月前
リンナイ株式会社
燃焼装置
5か月前
株式会社アドバンテック
燃焼装置
2か月前
株式会社アドバンテック
燃焼装置
2か月前
株式会社アドバンテック
燃焼装置
2か月前
三浦工業株式会社
水素燃焼ボイラ
2か月前
大阪瓦斯株式会社
燃焼装置
2か月前
山形化成工業株式会社
手持ち式着火用具
3か月前
リンナイ株式会社
ガスマニホールド
10日前
大陽日酸株式会社
燃焼バーナ
3か月前
株式会社島川製作所
有害成分加熱浄化装置
10日前
三菱重工業株式会社
清掃装置
2か月前
個人
可燃性ガス燃焼装置
5か月前
株式会社日本サーモエナー
ガスバーナ
5か月前
極東開発工業株式会社
バイオマス燃焼システム
1か月前
極東開発工業株式会社
バイオマス燃焼システム
1か月前
株式会社パロマ
給湯器
5か月前
中外炉工業株式会社
リジェネバーナ装置
5か月前
続きを見る
他の特許を見る